Студопедия

Главная страница Случайная страница

КАТЕГОРИИ:

АвтомобилиАстрономияБиологияГеографияДом и садДругие языкиДругоеИнформатикаИсторияКультураЛитератураЛогикаМатематикаМедицинаМеталлургияМеханикаОбразованиеОхрана трудаПедагогикаПолитикаПравоПсихологияРелигияРиторикаСоциологияСпортСтроительствоТехнологияТуризмФизикаФилософияФинансыХимияЧерчениеЭкологияЭкономикаЭлектроника






Задачи и алгоритмы оптимального автоматизированного режимами пуска и остановка объекта. Состояния (режимы работы) технологического объекта и постановка задач управления ими






При разработке функциональной структуры АСУ ТП необходи­мо учитывать все режимы работы ТОУ. При этом АСУ ТП может на­ходиться в следующих состояниях: нормальной эксплуатации; го­рячего резерва; ремонта; пуска; останова (Рисунок 13.6).

Разрабатываемая система управления должна эффективно ра­ботать во всех состояниях. Исключение составляет ремонт, управ­ление которым не входит в сферу задач управления технологичес­ким объектом. Состояние нормальной эксплуатации и возникающие при этом задачи управления будут рассмотрены ниже, тради­ционно они более изучены. Частным случаем с точки зрения задач автоматизации является состояние горячего резерва. Поэто­му задачи автоматизации горячего резерва не будут рассматри­ваться самостоятельно, а совместно с режимом нормальной эксплуатации.

 

 

Рисунок 13.6 - Блок-схема взаимосвязей состояний ТОУ

 

Состояния пуска и останова ТОУ отличаются не только доста­точной сложностью, но и разнообразием. Обычно они недостаточ­но автоматизированы. Будем различать следующие виды остано­вов: полный; нормальный; аварийный.

Полный останов переводит ТОУ в состояние ремонта (часто капитального) и осуществляется в плановом порядке, например один раз в год. Автоматизация этого вида останова является эконо­мически целесообразной.

Нормальныйостанов переводит установку в состояние го­рячего резерва и может выполняться многократно за время про­бега ТОУ. Причинами нормального останова могут быть:

· прекращение подачи сырья;

· временное прекращение приема готовой продукции;

· отказ периферийного технологического оборудования, т. е. того, для восстановления которого не требуется полный останов объекта.

Анализ показывает, что для современных мощных установок экономичес­кая целесообразность автоматизации нормально­го останова должна рассматриваться в обязательном порядке.

Аварийный останов переводит объект на короткое время в состояние горячего резерва, за которым может следовать оста­нов на внеплановый ремонт. Причинами аварийного останова могут быть:

· прекращение подачи электроэнергии, оборотной воды или прекращение подачи греющего агента;

· длительное падение давления в системе воздуха КИП и А;

· выход из строя основного технологического оборудования.

 

Перед разработчиками систем стоит вопрос об экономически целесообразном уровне надежности, поскольку ущерб от аварии на современной крупнотоннажной установке может достигать мил­лионы рублей.

Если отдельные режимы останова автоматизированы достаточ­но полно (например, аварийная защита), то перевод ТОУ в состояние пуска для многих объектов автоматизирован недостаточно, несмотря на на­личие всех необходимых экономических предпосылок. Такое положение во многом обусловлено значительной сложностью алгоритмов, реализующих эту операцию. Будем различать следующие виды пусковых операций:

· плановый пуск;

· пуски из состояния горячего резерва;

· пуск после аварийного останова.

В свою очередь каждая пусковая операция может описывать­ся группой различных по своей сложности алгоритмов. Исследова­ния показывают, что практически для всех объектов экономически целесообразно автоматизировать все виды пусковых опе­раций, включая и плановый пуск.

Программные и логические операции дискретного управления. Программные и логические операции дискретного управления рассмотрим на примере газофракционирующей установки (ЦГФУ) на Нижнекамском нефтехимическом комбинате.

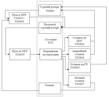
Блок-схема взаимодействия задач программно-логического управления для этой установки приведена на рисунке 13.7.

Рисунок 13.7 - Блок-схема взаимодействия задач логико-программного

управления: ГР - горячий резерв; ПГР - пусковой горячий резерв

 

Как видно из этого рисунка в блок-схеме, в отличие от приведенной на рисунке 13.6, введено состояние пускового горячего резерва (ПГР).

Для ПГР характерна работ колонных аппаратов на себя (пе­рекрывается подача сырья и отбор кубового продукта и дистиллята). Подача греющего агента и охлаждающей воды сохраняется.

Преимущества введения такой стадии мы покажем при рассмотре­нии алгоритмов управления. Как и для режима горячего резерва, стадию ПГР будем считать (с точки зрения автоматизации) частным случаем режима нормальной эксплуатации.

Коды функциональных задач, определяемых блок-схемой (рисунок 13.7), приведены в таблице 13.7.

Таблица 13.7

Функциональные задачи ПЛУ

Код Функциональная задача
У20401 Пуск после ремонта до состояния ПГР
У20402 Пуск после останова одной из колонн до состояния ПГР
У20403 Пуск из состояния ГР до ПГР
У20404 Пуск после аварийного останова
У20405 Пуск из ПГР в режим нормальной эксплуатации
У20406 Аварийный останов
У20407 Полный останов
У20408 Останов на ПГР
У20409 Останов на горячий резерв

Все задачи перевода ЦГФУ в состояние пускового горячего резерва (ПГР) различаются друг от друга только заданием начальных усло­вий, характеризующих режим, предшествующий состоянию ПГР, и сводятся к задачам последовательного пуска отдельных колонн.

Рассмотрим постановку задачи перевода ректификационной колонны в состояние ПГР.

Динамическая модель l -той ректификационной колонны описывается уравнением

 

X = f (Х, U), (13.15)

 

где Х= (x1, x2, …, xn) - n - мерный вектор фазовых координат про­цесса; U=(u1, u2,..., ur)-r - мерный вектор управляющих воздействий; f(X, U) -вектор-функция процесса.

Начальное состояние характеризуется вектором

 

X(t0) = X0, (13.16)

 

который будет различным для состояний полного останова (зада­ча Y20407), горячего резерва (задача У20404) и аварий­ного останова (задача У20406).

Считаются заданными следующие режимные параметры: со­став сырья XF; минимальный и максимальный расходы пара и сырья Vmin, Vmax, Fmin , Fмах соответственно.

Состояние ПГР определяется составом верхнего и нижнего продуктов по целевому компоненту j, расходом дистиллята D и кубового продукта W:

 

ХDjDjз, ХWjWjз, D=0, W=0. (13.17)

 

Составляющими вектора управлений при пуске l -той колонны будут расходы сырья F(t) и пара V(t).

Необходимо перевести систему (13.15) из начального состоя­ния (13.16) в конечное за заданное (или минимальное) время tk.

Система управления пуском колонны должна минимизировать квадрат отклонения фазовых координат процесса XD и Xw от за· данных значений Х и Х, в конечный момент времени управле­ния tk. Критерий управления в матричной форме записывается в виде:

, (13.18)

где Xk - составляющие вектора состояний, соответствующие ко­нечному моменту времени tk; xk3 - заданное значение вектора состояния; Т - знак транспонирования; А - матрица весовых коэффициентов.

Оптимальная траектория U (t) должна рассчитываться заранее на ЭВМ первого или второго уровня АСУТП.

 

Основная литература

1. Автоматическое управление в химической промышленности: Учебник для вузов. П-д ред. Е.Г.Дудникова.-М.: Химия, 1987. 386 с.

2. Фафурин В. А.Автоматизация технологических процессов и производств: лабораторный практикум / В. А. Фафурин, И. Н. Терюшов. – Казань: Изд-во Казан. гос. технолог. ун-та, 2008. – 552 с.

Дополнительная литература

3. Системы автоматизации и управления: Лабораторный практикум /В.А.Фафурин, И.Н.Терюшов, А.И.Мухаметзянов.- Казань: Изд-во Казан. Гос. Технол.ун-та, 2007 -188с.

4. Федоров Ю.А. Основы построения АСУТП взрывоопасных производств. В 2-х томах- М.: Синтез, 2006. -710 с

5. Шувалов В.В. Автоматизация производственных процессов в химической промышленности / В.В, Шувалов, В.А. Голубятников. – 3-е изд.-М.: Химия, 1991.-478с.

6. An Introduction to Intelligent and Autonomous Control. Edited by Panos J. Antsaklis and Kevin M. Passino. Kluwer Academic Publishers, 1999, 427 pages



Поделиться с друзьями:

mylektsii.su - Мои Лекции - 2015-2026 год. (1.526 сек.)Все материалы представленные на сайте исключительно с целью ознакомления читателями и не преследуют коммерческих целей или нарушение авторских прав Пожаловаться на материал