Студопедия

Главная страница Случайная страница

КАТЕГОРИИ:

АвтомобилиАстрономияБиологияГеографияДом и садДругие языкиДругоеИнформатикаИсторияКультураЛитератураЛогикаМатематикаМедицинаМеталлургияМеханикаОбразованиеОхрана трудаПедагогикаПолитикаПравоПсихологияРелигияРиторикаСоциологияСпортСтроительствоТехнологияТуризмФизикаФилософияФинансыХимияЧерчениеЭкологияЭкономикаЭлектроника






Б)Натяжение на бетон.






При натяжении на бетон сначала изготовляют бетонный или мало армированный элемент; затем при достижении бетоном прочности не менее 0, 7 R, создают предварительное напряжение.

 

 

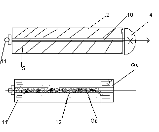
Напрягаемая арматура располагается в каналах и при натяжении не имеет сцепления с бетоном. Обжатие бетона происходит в процессе натяжения арматуры. Напряжения в бетоне контролирует после обжатия бетона. Каналы элемента имеют диаметр на 5-15мм больше диаметра арматуры и выполняются при бетонировании элемента путем укладки гофрированных стальных трубок (оболочек) или пустотообразователей, извлекаемых из бетона. Арматуру пропускают сквозь канал. Один ее конец, снабженный соответствующим анкером, закрепляют в торце элемента, а другой захватывают домкратом на противоположном торце. Домкрат, упираясь в торец бетонного элемента производит натяжение арматуры и одновременно обжимает бетон. После натяжения арматуры до заданного напряжения, ее анкеруют со стороны расположения домкрата. Натяжение арматуры может производиться с 2х сторон.

Для повышения прочности бетона на местное сжатие у торцов элемента устанавливают поперечные сетки. Сцепление арматуры с бетоном создается в результате последующего заполнения канала цементным тестом или раствором, нагнетаемым под давлением через отверстия в концевых анкерах или через специальные отводы, расположенные по длине канала через 6м. Такое заполнение каналов называется инъецированием.

В последние годы для создания предварительного натяжения в конструкциях начинают усилено применять бетоны, приготовляемые на специальных напрягаемых цементах. Бетоны на таком цементе при твердении увеличиваются в объеме, и вследствие сцепления с арматурой растягивают ее. Так как арматура препятствует свободному расширению бетона, в нем возникают сжимающие напряжения.

Арматуру можно располагать в элементе в двух и даже трех направлениях, тогда создается соответственные двухосное или трехосное предварительное напряжение.


Поделиться с друзьями:

mylektsii.su - Мои Лекции - 2015-2026 год. (1.201 сек.)Все материалы представленные на сайте исключительно с целью ознакомления читателями и не преследуют коммерческих целей или нарушение авторских прав Пожаловаться на материал