Студопедия

Главная страница Случайная страница

КАТЕГОРИИ:

АвтомобилиАстрономияБиологияГеографияДом и садДругие языкиДругоеИнформатикаИсторияКультураЛитератураЛогикаМатематикаМедицинаМеталлургияМеханикаОбразованиеОхрана трудаПедагогикаПолитикаПравоПсихологияРелигияРиторикаСоциологияСпортСтроительствоТехнологияТуризмФизикаФилософияФинансыХимияЧерчениеЭкологияЭкономикаЭлектроника






Система охлаждения






Глава III. КОМПЛЕКТНОСТЬ ЛОДОЧНОГО МОТОРА

1. Лодочный мотор «Привет-22» 1 шт. (cм. Приложение 1)
2. Бензобак 1 шт.
3. Бортсумка с инструментом 1 комплект (см. Приложение 2)
4. Запасные части 1 комплект (см. Приложение 3)
5. Руководство по эксплуатация подвесного лодочного мотора «Привет-22» 1 шт.
6. Свидетельство о приемке 1 шт.
7. Гарантийный талон 3 шт.

Глава IV. КОНСТРУКЦИЯ МОТОРА (Рис. 2)

Рис. 2. Узлы мотора. 1 - двигатель, 2 - коллектор, 3 - подмоторная плита, 4 - редуктор, 5 - дейдвудная труба, 6 - подвеска, 7 - карбюратор, 8 - стартёр

Лодочный мотор «Привет 22» состоит из следующих основных узлов: двигателя (1), коллектора (2), подмоторной плиты (3), редуктора (4), дейдвудной трубы (5), подвески (6), карбюратора (7), стартера (8), системы охлаждения, системы питания, системы зажигания.

Картер двигателя (Рис. 3)

Рис. 3. Двигатель.

Картер двигателя состоит из пяти частей, изготовленных из алюминиевого сплава, соединенных между собой резьбовыми шпильками и призонными болтами. Половины верхнего и нижнего картеров образуют две камеры, в полостях которых на шариковых подшипниках (7) вращаются кривошипы коленчатого вала. Нижняя крышка верхнего картера (1) и верхняя крышка нижнего картера (2) с проставкой (3) образуют две золотниковые камеры, в которых вращаются распределительные диски (4). В нижней половине верхнего картера имеется пробка, открывающая доступ к стяжному болту (8) коленчатого вала. Внутренние полости картера уплотняются при сборке герметиком.

По плоскостям разъема с проставкой оба картера дополнительно уплотнены резиновыми кольцами (9). Крайние цапфы коленчатого вала уплотнены резиновыми манжетами (10). К картеру посредством шпилек (11) крепятся цилиндры с головками. Цилиндры фиксируются от разворота при помощи штифтов.

Цилиндры двигателя (Рис. 3)

Цилиндры двигателя (12), раздельные, взаимозаменяемые, выполнены из алюминиевого сплава с запрессованными чугунными гильзами (13). В цилиндре имеются три окна для подвода топливной смеси в рабочую полость и два окна для отвода продуктов сгорания в выхлопной коллектор. Алюминиевый корпус и гильза образуют полость охлаждения, имеющую три канала для подвода и отвода воды. На верхнем торце гильзы выполнены уплотнительные канавки, на нижнем торце — монтажная фаска.

Головка цилиндра (Рис. 3)

Головка цилиндра (14) выполняется из алюминиевого сплава, с камерой сгорания антидетонационной формы. Головка имеет каналы для охлаждающей воды и резьбовое отверстие под свечу зажигания М14х1, 25. кл. 2а. Плоскость разъема головки и цилиндра уплотняется прокладкой (15) из асбостального полотна.

Поршень двигателя (Рис.3)

Поршень (18) отлит из алюминиевого сплава, в верхней части его имеются две канавки под компрессионные кольца (19). Через канавки проходит штифт, фиксирующий кольца от проворачивания.

Поршень соединяется с шатуном посредством пальца (20), который фиксируется от осевого перемещения стопорными кольцами (21).

Шатун двигателя (Рис. 3)

Шатун (22) - стальной, штампованный, двутаврового сечения. Обе головки шатуна работают на игольчатых подшипниках, поэтому подвергнуты цементации. На нижней головке шатуна выполнены две щели для смазки роликоподшипника. На торцах головки имеются митчели, служащие для той же цели.

Коленчатый вал двигателя (Рис. 3)

Коленчатый вал (16) — стальной, состоит из двух кривошипов, сочлененных между собой цанговым соединением. Каждый кривошип состоит из двух щек, соединенных кривошипным пальцем (17). Стяжной болт цангового соединения затягивается с усилием 6±0, 5 кгс. м.

На коленчатом валу с помощью сегментных шпонок установлены два распределительных диска (4). На верхней цапфе коленчатого вала имеется конус со шпоночным пазом для посадки маховика, а на нижней цапфе — квадратный хвостовик для соединения с рессорой, передающей вращение на редуктор гребного винта.

Выхлопной коллектор (Рис. 2)

Выхлопной коллектор (2) — алюминиевый, имеет полость для отвода выхлопных газов в дейдвудную трубу, каналы для подвода охлаждающей воды в цилиндры и отвода ее в дейдвудную трубу. Коллектор крепится к картеру и к дейдвудной трубе через подмоторную плиту при помощи винтов и болтов с гайками, являясь дополнительным элементом жесткости всей моторной головки.

Подмоторная плита (Рис. 2)

Подмоторная плита (3) является переходным элементом между двигателем и дейдвудной трубой. На подмоторной плите размещается система управления мотором. В плоскости разъема подмоторной плиты и коллектора выполнены каналы для подвода и отвода охлаждающей воды, гнезда для крепления резиновых амортизаторов и рычага переключения реверса.

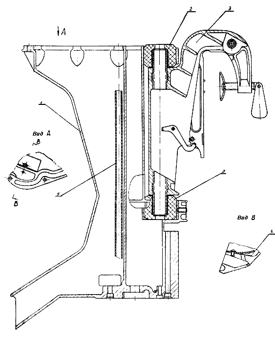
Дейдвудная труба с подвеской (Рис. 4)

Рис. 4. Дейдвудная труба.

Дейдвудная труба (1) выполнена из алюминиевого сплава и является элементом, соединяющим двигатель, редуктор и подвеску.

Двигатель с подмоторной плитой и коллектором крепятся к верхнему фланцу, редуктор - к нижнему. В дейдвудной трубе имеются специальные гнезда, в которые установлены амортизаторы (2) для соединения с вертлюгом (3) подвески. В верхней части дейдвудной трубы имеется карман, из которого вода через специальное отверстие поступает наружу, а через пластинчатый клапан (4) — во внутреннюю полость трубы. Внутренняя полость дейдвудной трубы разделена перегородкой надвое. В заднюю часть поступают выхлопные газы и отработанная охлаждающая вода, в этой же полости залита стальная трубка (5) для подвода охлаждающей воды от бесконтактного вихревого насоса. В передней части дейдвудной трубы проходит рессора привода гребного винта.

Тяга реверсивной муфты редуктора проходит сквозь полую ось вертлюга.

Подвеска (Рис. 5)

Рис. 5. Подвеска.

Подвеска служит для крепления лодочного мотора к транцу судна и состоит из правого и левого кронштейнов (2) и вертлюга (6). Соединение дейдвудной трубы с подвеской осуществляется с помощью резиновых амортизаторов, уменьшающих вибрацию судна при работе мотора.

Кронштейны и вертлюг выполнены из алюминиевого сплава.

Кронштейны соединены между собой с помощью длинного болта (1) и пластины (3).

Болт служит осью поворота вертлюга при откидывании мотора. В кронштейнах выполнен ряд отверстий, в которые вставляется штырь упорный (4) для вертикальной установки мотора в зависимости от угла наклона транца лодки. В нижних концах обоих кронштейнов имеются отверстия для фиксации подвески на транце при помощи предохранительных штырей.

В вертлюге устанавливается крючок (5), сблокированный с рычагом переключения реверса, предотвращающий откидывание мотора в режиме «Задний ход».

Редуктор (Рис. 6)

Рис. 6. Редуктор.

Подводный реверсивный конический редуктор служит для передачи вращения через рессору, коническую вал-шестерню (7), коническую шестерню переднего (8) или заднего (9) хода, реверсивную муфту (10) на гребной вал (11) и гребной винт (1). Редуктор понижает обороты ребного винта в отношении 12: 20 к оборотам двигателя.

Корпус редуктора (2) выполнен из алюминиевого сплава и крепится двумя шпильками (3) и (4) к нижнему фланцу дейдвудной трубы.

На верхнем фланце корпуса редуктора установлена проставка (5), служащая корпусом вихревого насоса.

В корпусе выполнено два резьбовых отверстия для слива (17) и заправки (18) смазки. В корпус редуктора устанавливается стакан (15).

Вал-шестерня вращается на игольчатых подшипниках (12). Осевые нагрузки воспринимаются упорным шариковым подшипником (13).

Гребной вал установлен на двух опорах: шариковом подшипнике (30) и роликоподшипнике коническом (21).

Осевое усилие гребного вала передается на мотор через роликоподшипник конический (21).

Гребной винт — трехлопастный, из алюминиевого сплава, соединён с гребным валом посредством штифта (23) через резиновый демпфер (24), благодаря чему это соединение является упругим.

Штифт (23) в передаче от двигателя к винту является самым слабым элементом и при ударе винта о препятствие срезается, предохраняя мотор от поломок. От осевого перемещения винт удерживается капроновой гайкой (25), которая контрится шплинтом (26).

Изменение направления вращения гребного винта осуществляется перемещением реверсивной муфты по шлицам вала до зацепления ее кулачков с кулачками шестерни: передней или задней.

Переключение производится рычагом управления (14) реверса через тягу (28).

Герметичность редуктора обеспечивается уплотнительным кольцом, установленным под стакан, резиновыми манжетами, уплотняющими валы рессоры (27) и гребного винта (22), и прокладкой (6).

Стартер (Рис.7)

Рис. 7. Стартер.

Запуск мотора производится с помощью ручного стартера. Стартер состоит из пусковой шестерни (1), возвратной пружины, ведущего штифта (2), наконечника, двух капроновых подшипников (3), рукоятки с вкладышем (5), тормозной пружины, шкив-вала (4) с намотанным на него шнуром. Шкив-вал вращается в капроновых подшипниках. При незначительном вытягивании шнура вал вращается, и пусковая шестерня, скользя винтовой поверхностью паза по поверхности штифта, поднимается и плавно входит в зацепление с маховиком. При дальнейшем резком вытягивании шнура маховик начинает вращаться, и мотор запускается. После запуска шестерня возвращается в исходное положение, а возвратная пружина наматывает шнур на шкив. Возможен запуск лодочного мотора шнуром за верхнюю часть маховика.

Система охлаждения

Система охлаждения обеспечивает отвод тепла от цилиндров, головок цилиндров и выхлопного коллектора двигателя.

Охлаждение двигателя производится забортной водой. Забор воды осуществляется через окна в корпусе редуктора, откуда вода по каналу поступает к всасывающей полости бесконтактного вихревого насоса.

Крыльчатка насоса посажена на вал-шестерню редуктора и зафиксирована на нем посредством лыски. Проходя через насос, вода под давлением по трубке через каналы в дейдвуде и подмоторной плите поступает в канал выхлопного коллектора, где несколько подогревается. Подогретая вода идет на охлаждение головок цилиндров, цилиндров и выхлопного коллектора, откуда поступает в дейдвуд, смешивается с выхлопными газами и выбрасывается в водоем.

В верхней части дейдвуда имеется отверстие, которое служит для контроля работы системы охлаждения. Если из контрольного отверстия выбрасывается струя воды, то система охлаждения работает нормально.

После запуска мотора проверьте, вытекает ли вода из контрольного отверстия.

Система питания (Рис. 8)

Рис. 8. Система питания.

Система питания мотора состоит из топливного бака, соединительного шланга (с подкачивающей помпой), топливного насоса, карбюратора и топливных шлангов.

Топливный бак емкостью 22 литра, переносный, имеет ручку для переноски, заливную горловину с крышкой и штуцер с заборником для подсоединения топливного шланга.

Крышка бака (1) быстросъемного типа закрывается от руки путем поворота по часовой стрелке до упора. Уплотнение достигается при помощи кольцевой резиновой прокладки, которая поднимается за счет того, что концы распорной планки при повороте крышки скользят по винтовым скосам горловины.

В крышке бака имеется винт (2), который при работе мотора должен быть немного вывернут для того, чтобы по мере выработки топлива в бак мог поступать воздух. Для предотвращения самопроизвольного поворота винта имеется пружина. При неработающем моторе винт нужно завернуть до упора во избежание утечки и испарения топлива.

Топливо из бака в мотор поступает через заборник (3). Заборник представляет собой трубку с сетчатым фильтром на конце, другой конец трубки припаян к штуцеру, который соединяется с баком с помощью конической резьбы.

Соединительный шланг из бензостойкой резины. Одним концом шланг надет на штуцер заборника топливного бака, на другом конце имеется муфта (5), которая надевается на штуцер (6) мотора.

Внутри муфты находится шариковый клапан.

Под действием пружины шарик закрывает выход из шланга, когда он отсоединен от мотора. При надевании муфты на штуцер конец штуцера отжимает шарик, давая проход топливу. Надевая муфту па штуцер, нужно повернуть ее так, чтобы выступы на штуцере вошли в пазы на муфте.

Перед запуском мотора всю топливную систему нужно заполнить топливом. Для этого в средней части шланга имеется подкачивающая помпа-груша (4), вмонтированная в соединительный шланг.

После подсоединения шланга к мотору нужно несколько раз нажать и отпустить грушу, пока вся система не заполнится топливом. Подкачивающее действие груши основано на совместной работе двух обратных клапанов, один из которых вмонтирован в самой груше, а другой находится в корпусе бензонасоса. Благодаря этим клапанам топливо при нажатии на грушу может выжиматься только к мотору.

Топливный насос служит для подачи топлива из бака к карбюратору принудительно. Насос диафрагменного типа приводится в действие от изменения давления в полости картера верхнего цилиндра в зависимости от положения поршня двигателя.

Корпус насоса состоит из двух частей, стянутых винтами, между которыми зажата диафрагма (8) из бензомаслостойкой прорезиненной ткани. Верхняя часть корпуса с диафрагмой соединена отверстием с кривошипной камерой верхнего цилиндра. Нижняя часть полости является частью топливной магистрали и имеет на входе и выходе обратные пластинчатые клапаны, пропускающие топливо только в направлении от бака к мотору. При изменении давления в кривошипной камере диафрагма колеблется вверх и вниз, засасывая топливо из бака и выталкивая его в карбюратор.

Перед входом в насос топливо проходит отстойник (7) и сетчатый фильтр. Между отстойником и корпусом насоса ставится уплотнительная резиновая прокладка.

Карбюратор (23) поплавкового типа с горизонтальным расположением смесительной камеры.

Подача топлива в поплавковую камеру производится через штуцер (18) в крышке поплавковой камеры (20) и автоматически регулируется игольчатым клапаном, связанным с пустотелым латунным поплавком. Поплавок (17) и игольчатый клапан (19) обеспечивают постоянный уровень топлива в поплавковой камере. Распылитель (22) сообщен с поплавковой камерой каналом, и верхний срез его несколько выше уровня топлива в поплавковой камере. Поэтому при неработающем двигателе топливо не выливается.

Необходимый состав рабочей смеси при средних и максимальных оборотах двигателя обеспечивается главным жиклером (21).

При работе мотора на малом газе (дроссельная заслонка прикрыта) разряжение в диффузоре мало, и топливо через главный жиклер не подсасывается. В этом случае создается значительное разряжение за дроссельной заслонкой и в канале (10), вследствие чего топливо через жиклёр малого газа (11) поступает в канал (10) и, смешиваясь с воздухом, образует эмульсию.

Сечение отверстия (9), через которое эмульсия поступает в смесительную камеру, регулируется винтом качества (12), отвинчивая или завинчивая его, можно обогащать или обеднять смесь.

Для обогащения смеси при запуске необходимо открыть дроссельную заслонку и открыть клапан подсоса (16). Вследствие высокого разряжения за дроссельной заслонкой, возникающего при прокручивании коленчатого вала, смесь бензина с воздухом, поступающим через отверстие (14) в канал подсоса (15), засасывается в картер двигателя. Качественный состав смеси определяется жиклёром подсоса (13).

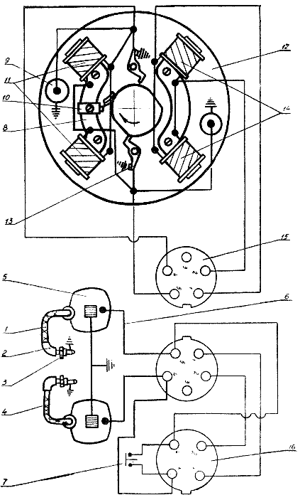
Электросистема мотора (Рис. 9)

Рис. 9. Электросистема мотора.

Электросистема мотора состоит из магдино (магнето-динамо) с двумя выносными трансформаторами (5), двух искровых свечей зажигания (3), кнопки останова мотора (7), соединительных низковольтных (6) и высоковольтных (1 и 4) проводов, штепсельных разъемов (15 и 16).

Магдино МН-1 (двухискровое, маховичного типа) выполняет роль магнитного генератора тока.

Основание магдино (12) - статор - представляет собой литой алюминиевый диск, на котором смонтированы: две первичные катушки зажигания (11), две катушки освещения (14), два искрогасительных конденсатора (9) типа КМ-4 (0, 17—0, 25 мкф), два прерывателя (13) с эксцентриками для регулировки в них зазора, смазочное устройство (войлочный фильц) (10) для смазки кулачка ротора и соединительные низковольтные провода типа БПВЛ, сечение 0, 75 мм (6). За пределы основания вынесены два высоковольтных трансформатора, выполняющие функцию вторичной цепи зажигания магдино.

Расположенный над основанием магдино маховик-ротор представляет собой отлитый из алюминиевого сплава чашеобразный корпус, по внутреннему ободу которого расположены четыре постоянных магнита. Одноименные полюсы магнитов соединены посредством четырех полюсных башмаков, собранных из листовой трансформаторной стали. На ступице маховика выполнен эксцентрик, который при вращении маховика воздействует на подвижные контакты прерывателей. Сверху, на маховике имеются два дугообразных окна. Одно, помеченное точкой, служит для проверки и регулировки зазора между контактами прерывателей. Второе — для уравновешивания маховика.

Маховик насажен на конусный хвостовик коленвала и зафиксирован на нем с помощью сегментной шпонки, шайбы и гайки с контровкой. Вращение маховика — по часовой стрелке (если смотреть сверху).

Основание магднно центрируется на цилиндрическом выступе стакана в фиксируется на нем посредством пружинящей шайбы и стопорного кольца.

Стакан крепится четырьмя винтами к верхней части картера. Благодаря скользящей посадке на фланце основание магдино имеет возможность поворачиваться относительно корпуса двигателя. Это позволяет менять угол опережения зажигания в зависимости от режимов работы двигателя, т. е. осуществлять блокировку магдино и карбюратора.

Поворот основания магдино осуществляется при помощи водила (6) (Рис. 7), закрепленного двумя винтами на основании. В прорезь водила входит штырь поводка (7). Поводок связан тягой (8) с дроссельной заслонкой карбюратора. При вращении ручки румпеля поводок поворачивается, воздействуя одновременно на основание магдино и на дроссель карбюратора.

От основания магдино отходят четыре низковольтных провода: два от катушек освещения (с изоляцией желтого, оранжевого или коричневого цвета) и два от прерывателей (черный или фиолетовый — от прерывателя нижнего цилиндра, натуральный или белый — от прерывателя верхнего цилиндра). Эти провода, объединенные попарно в полихлорвиниловые трубки, подводятся к штепсельному разъему (15).

К контактам 1 и 2 розетки штепсельного разъема РВН1-5-2Г1 подведены провода от катушек освещения, а к контактам 4 и 5 — провода от прерывателей (натуральный или белый — от прерывателя верхнего цилиндра к контакту 4, и черный или фиолетовый — от прерывателя нижнего цилиндра к контакту 5).

К контактам 4 и 5 вилки РВН1-5-1Ш1 подсоединены провода с изоляцией соответствующего цвета, соединяющие прерыватели с высоковольтными трансформаторами. К тем же контактам подсоединены по одному проводу с изоляцией красного цвета, идущим к контактам 3 и 4 вилки 2РМ14БПН4Ш1В1, закрепленной на нижнем капоте мотора.

К контактам 1 и 2 вилки РВН1-5-1Ш1 подсоединены провода освещения с изоляцией желтого, оранжевого или коричневого цвета, идущие к контактам 1 и 2 вилки 2РМ14БПН4Ш1В1.

К контактам 3 и 4 вилки 2РМ14БПН4Ш1В1 подсоединены также провода с изоляцией красного цвета, идущие на кнопку останова мотора (7). Розетка 2РМ14БПН4Г1В1 прикладывается к мотору.

Кнопка останова мотора (7) расположена на торце румпеля. При нажатии на кнопку происходит замыкание цепи прерывателей на массу.

Трансформаторы (5) по конструкции — это катушки с сердечником из листовой трансформаторной стали с двумя обмотками — первичной и вторичной. Снаружи обмотки опрессованы полиэтиленом. В месте высоковольтного вывода в оболочке предусмотрен полый выступ с внутренней резьбой, куда ввинчивается высоковольтный провод.

Крепятся трансформаторы к бобышкам на выхлопном коллекторе.

Трансформаторы связаны со свечами зажигания проводами высокого напряжения (ПВВ ГОСТ 14867-69).

На высоковольтные провода (1 и 4) со стороны искровых свечей наворачиваются подавительные сопротивления А145Ц в металлических экранах. Наконечники подавительных сопротивлений надеваются на резьбовые хвостовики свечей.

Свечи типа СИ-12РТ (3) ввернуты в головку блока цилиндров (резьба 14х1, 25). Между свечой и головкой блока поставлена уплотнительная прокладка. Зазор между боковым и центральным электродом должен быть 0, 5—0, 6 мм.


Поделиться с друзьями:

mylektsii.su - Мои Лекции - 2015-2026 год. (5.887 сек.)Все материалы представленные на сайте исключительно с целью ознакомления читателями и не преследуют коммерческих целей или нарушение авторских прав Пожаловаться на материал