Студопедия

Главная страница Случайная страница

КАТЕГОРИИ:

АвтомобилиАстрономияБиологияГеографияДом и садДругие языкиДругоеИнформатикаИсторияКультураЛитератураЛогикаМатематикаМедицинаМеталлургияМеханикаОбразованиеОхрана трудаПедагогикаПолитикаПравоПсихологияРелигияРиторикаСоциологияСпортСтроительствоТехнологияТуризмФизикаФилософияФинансыХимияЧерчениеЭкологияЭкономикаЭлектроника






Апарати розподільчих пристроїв






РОЗДІЛ 7

 

7.1. РУБИЛЬНИКИ ТА ПЕРЕМИКАЧІ

 

Рубильник призначений для ручного включення та виключення електричних кіл з постійною напру­гою до 440 В і змінною до 500 В.

Перемикач на відміну від рубильника має дві сис­те­ми нерухомих контактів і три комутаційні поло­жен­ня. В середньому положенні ножів електричні ко­ла розімкнуті. Спеціальний пристрій фіксує ножі в цьому поло­жен­ні.

Пакетні вимикачі та перемикачі є малогабарит­ни­ми комутаційними апаратами з ручним приводом, які використовуються для для одночасного управлін­ня ве­ли­ким числом кіл. Пакетні вимикачі та переми­ка­чі ви­користовуються для нечастих комута­цій в ко­лах з неве­ли­кою потужністю (струми до 400 А, змін­на напруга 220 В і постійна - 380 В). Пакетні пере­ми­ка­чі та вими­ка­чі використовуються як апарати роз­подільчих прист­роїв та у схемах автоматики. Во­ни використовуються та­кож для пуску та реверсу дви­гунів, а також для пере­ключення схеми з’єднання обмоток двигуна із зірки на трикутник.

Рис.7.1. Трифазний рубильник с центральною рукояткою

 

В трифазному рубильнику с центральною рукояткою (мал. 7.1) рухомий контакт – ніж 1 обертається в шарнірній стійці 2. При розмиканні кола між ножем і нерухомим контактом стійки 3 загорається дуга. Гасіння дуги постійного струму при значенні струму до 75 А відбувається за рахунок механічного подовження дуги рухомим ножем. Відстань між контактними стійками 3 для безпеки обслуговування повинна бути не меншою 0, 05 м.

Рубильники та перемикачі з центральною рукоят­кою дозволяється використовувати тільки для від­клю­чен­ня ко­ла при відсутності струму. При відклю­ченні кіл під навантаженням дуга не повинна діяти на руку (руко­ят­ка знаходиться збоку або використо­ву­ється важільний привід).

Рис.7.2. Рубильник з важільним приводом та дугогасною камерою

 

Для рубильників та перемикачів з боковою руко­ят­кою або ричажним приводом відношення струму, який може бути відключений, до номінального стру­му скла­дає 0, 2 при постійній напрузі 220 В та 0, 3 при змінній напрузі 380В. При постійній напрузі 440В та змінній 500В ці апарати використовуються тільки для відклю­чен­ня кіл без струму. Для збіль­шен­ня величини струму відключення рубильник обладну­єть­ся дугогасною решіткою. При цьому відключаюча здат­ність рубильників збільшу­ється до 0, 5 Iн при пос­тій­ній напрузі 440 В та змінній 500 В, та до Iн в ко­лах з постійною напругою 220 В та змінною - 380 В.

 

7.1.1. КОНСТРУКЦІЯ

 

Рубильники виготовляються в одно-, дво- та три­по­люс­них виконаннях.

На рис. 7.2 показаний рубильник з центральним важільним приводом 1 та дугогасною камерою 2. Ножі 3 всіх 3-х полюсів з’єднані ізоляційним валиком, на який діє тяга важільного приводу. Рукоятка приводу розміщується на лицевій стінці шафи розподільчого пристрою. Така конструкція забезпечує безпеку обслуговуючого персоналу.

Якість рубильників та перемикачів значною мірою ви­значається контактним з’єднанням ножа та кон­такт­них стійок. В сучасних апаратах переважно ви­ко­ристо­ву­ється лінійний контакт, який має менший перехідний опір, ніж плоский. Контактний нажим за­безпечується за допомогою стальних пружин.

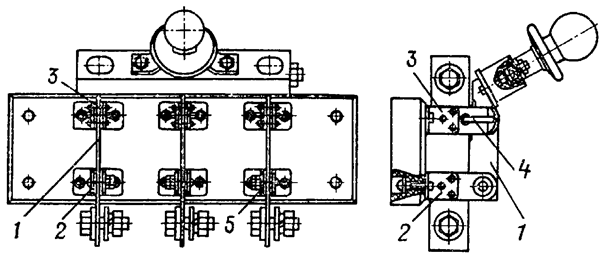
В пакетному вимикачі або перемикачі кожен полюс комутації конструктивно оформлено у вигля­ді ок­ремого елементу - пакету. На рис. 1.3 апарат має три полюси (пакети), а на рис. 7.3 – два полюси. Пакетний вимикач ПВМ складається із окремих пакетів 5 та приводного механізму 4. Кожен полюс має два розриви. Нерухомі контакти 1 виконані у вигляді масивних пластин з латуні. Рухомий контакт 2 насаджений на квадратний ізоляційний вал вимикача і має обертальний рух. Нажим контактів створюється за рахунок пружних властивостей губок рухомого контакту 2. До рухомого контакту прикріплені дві щічки 3 із фібрових пластин. При обертанні рукоятки спочатку заводиться пружина, а потім ця пружина створює необхідну швидкість контакту.

Рис. 7.3. Рис. 7.4.

 

При розходженні контактів дуга загорається в двох розривах, що забезпечує надійне гасіння дуги за рахунок біля катодної електричної міцності. Дуга гасне при першому проходженні змінному струму через нуль.

Гасіння дуги постійного струму забезпечується горінням її в просторі між фібровими щічками. При дотику дуги до фібрових стінок із них виділяється газ. Внутрішній об’єм пакету достатньо герметичний, тому підвищується тиск. А це призводить до підйому ВАХ та гасіння дуги.

Число пакетів у вими­ка­чі се­рії ПКВ може досягати 8.

Однофазні кола повинні відключатися двополю­сним вимикачем.

Недоліком вимикача ПВМ є невисока зносостій­кість (до 2·10­­4 циклів) та недостатня надійність ме­ха­нізму приводу.

Більш надійний пакетний кулачковий вимикач се­рії ПКВ (рис. 7.4). На валу 1 закріплені кулачки 2 (по одному на пакет). Кожне коло має два розриви, які створені містками 3 та контактами 4. При обертанні валу кулачок провертається і в його заглибину попадає шток 5. При цьому коло замикається. Натиск контактів створюється сталевою пружиною 6. Для підвищення зносостійкості ви­­ко­рис­товується металокерамічні контакти. Замість мало­на­дійного приводу ПВМ в ньому використову­єть­ся та­кий же фіксатор положення, як і в командо-конт­рол­е­рах. Найбільший струм вимикача серії ПКВ складає 160 А. Електрична зносостійкість дося­гає 2·10­­5 цик­лів. Всі пакетні вимикачі використо­ву­ються для кому­та­ції струмів, рівних номінальному.

Пакетні вимикачі та перемикачі в порівнянні з рубильниками мають менші габарити, зручніші при мон­таж­них роботах. Дуга гаситься в замкнутому об’є­мі без викиду полум’я та газів. Контактна систе­ма дозволяє уп­равляти великою кількістю кіл. Ці ви­микачі кому­тують номінальні струми, мають висо­кі вібро- та ударо­стійкість.

 

7. 2. АВТОМАТИЧНІ ПОВІТРЯНІ ВИМИКАЧІ

(АВТОМАТИ)

 

7.2.1 ЗАГАЛЬНІ ПОНЯТТЯ

Автоматичні повітряні вимикачі (автомати) ви­ко­рис­товуються для автоматичного відключення елек­т­рич­ного кола при перевантаженнях, КЗ, над­мірному зни­жен­ні напруги живлення, зміни напрям­ку потужності і т. п., а також для рідких включень та відключень вруч­ну номінальних струмів наванта­ження.

До автоматів висуваються такі вимоги:

1. Струмоведуче коло автомату повинно пропускати номінальний струм на протязі відрізку ча­су будь-якої три­­ва­лості. Режим тривалого включен­ня для автомату є нормальним. Струмоведуча систе­ма автомату може під­даватися дії великих струмів КЗ як при замкнутих кон­так­тах, так і при включен­ні на існуюче КЗ.

2. Автомат повинен забезпечити багаторазове від­­клю­чення струмів КЗ, які можуть досягати сотень кіло­ампер. Після відключення цих струмів автомат повинен бути придатним для подальшого пропускан­ня номіналь­ного струму.

3. Для забезпечення електродинамічної та тер­міч­­ної стійкості електроустановок, зменшення руйнувань та інших наслідків, які викликаються струма­ми КЗ, ав­томати повинні мати малий час відключен­ня. Для змен­шення габаритних розмірів розподіль­чо­го пристрою та підвищення безпеки обслуговування потрібна мінімаль­на зона вихлопу нагрітих та іонізо­ва­них газів в процесі гасіння дуги.

4. Елементи захисту автомата повинні забезпечу­ва­ти потрібні струми і час спрацювання та селектив­ність.

В залежності від виду діючої величини автомати ді­ляться на максимальні автомати по струму, міні­маль­ні автомати по струму, мінімальні автомати по напрузі, ав­томати зворотного струму, максимальні автомати, які працюють по похідній струму, поляри­зо­вані макси­мальні автомати (відключають коло при наростанні стру­му в одному - прямому напрямку) та неполяризова­ні, які реагують на збільшення струму в будь-якому нап­рямку. Для побудови селективно пра­цюючого захис­ту автомати повинні мати можливість регулювання струму та часу спрацювання.

В деяких випадках вимагається комбінований за­хист - максимальний захист по струму та мінімальний захист по нап­рузі. Автомати, які задовольняють цим вимогам, нази­ва­ються універсальними.

Автомати загальнопромислового та побутового при­значення звичайно мають тільки максимально-стру­мо­вий захист, який налаштовано на заводі. В експлуата­ції характеристики автомату не можуть бу­ти змінені. Для зменшення можливості дотику пер­со­налу до дета­лей, які знаходяться під напругою, ці автомати закриті пластмасовим кожухом і практично не викидають дугу. Такі автомати називаються уста­но­вочними.

В будь-якому автоматі є такі основні вузли: стру­мо­­ве­­ду­че коло, дугогасна система, привод автомату, ме­ха­нізм автомату, механізм вільного розчеплення та еле­мен­ти захисту - розчіплювачі.

В автоматі на струм більше 200 А струмоведуче ко­ло має головні 3 та дугогасні 1 контакти (лаб. роб. № 5). Включення автомату може проводитись вручну рукояткою 12 або електромагнітом 4. Ланки 6, 7 та упор 13 утворюють механізм вільного розчеплення. Відключення автомату може проводитись рукояткою 12 або за допомогою теплового 5 та електромагнітних розчіплювачів МСЗ 8, нульового захисту 10 дистанційного відключення. 11.

Рис. 7.5. Принципова схема автомата

 

Основними параметрами автоматів є: власний та пов­ний час відключення, номінальний струм, номі­наль­на напруга, граничний струм відключення.

Під власним часом відключення автомату розу­мі­ють час від моменту, коли струм досягає значення спра­цювання Iспр, до початку розходження його кон­так­тів. Електрична дуга, яка виникає після розхо­джен­ня кон­так­тів повинна бути погашена за наймен­ший час з пере­напругою, яка не несе небезпеки для іншого облад­нан­ня.

Власний час відключення автомату залежить від спо­собу розчеплення та конструкції контактів, маси ру­хомих частин та інших факторів. Якщо t ³ 0, 01 с, то ав­томат називається звичайним (не швидкодію­чим). В цьому випадку до моменту розмикання кон­так­тів струм досягає усталеного значення Iк.уст.. Та­кий автомат не за­без­печує обмеження струму і його контактами відключа­ється усталений струм КЗ.

В швидкодіючих автоматах час t зменшується до 0, 002-0, 008 с, і до моменту розходження контак­тів струм не досягає усталеного значення. Такий ав­то­мат, як правило, відключає струм, значно менший усталено­го значення струму КЗ. Дякуючи цьому по­лег­­шується робота самого автомату, зменшується тер­­мічне та дина­міч­не навантаження апаратури та об­­ладнання. Із збіль­шен­ням швидкості зростання стру­му ефект струмообме­ження зменшується, тому що до розходження контактів струм досягає більших значень. Для отримання струмообмеження в цих ав­томатах використовуються пристрої, які реагують не на струм, а на швидкість його зростан­ня.

 

7.2.2 СТРУМОВЕДУЧЕ КОЛО

 

При струмах, більших 200 А, використовуються дво­сту­пінчаті контакти типу перекочуючого контак­ту або пари головних та дугогасних контактів. Основ­ні кон­такти облицьовуються сріблом або металокера­мі­кою (срібло, нікель, графіт). Дугогасний нерухо­мий контакт покривається металокерамікою СВ-50 (сріб­ло, вольф­рам), а рухомий СН-29Г3. Використо­ву­­ється також ме­та­ло­кераміка інших марок. В автоматах на великі номінальні струми використовується кілька паралельних пар головних контактів.

В швидкодіючих автоматах з метою зменшення влас­­но­го часу відключення використовуються винят­ко­во торцеві контакти, які мають малий провал. Кон­­такти виготовляються з міді, а поверхні дотику покрива­ються сріблом.

В універсальних автоматах, які працюють се­лек­тив­­но, створюється певна витримка часу при про­хо­джен­ні струму КЗ, і розмикання контактів на про­тя­зі цього часу недопустимо. Для недопущення при­ва­рю­ван­ня контактів використовується електроди­на­мічна ком­пен­сація. Приклад – рис. 17.1. При проходженні струму в дугогасному контурі на провідник АВ, на якому знаходиться нерухомий дугогасний контакт, діє ЕДЗ Ред, яке збільшує натиск на контакти.

В установочних та швидкодіючих автомата, у яких при КЗ відключення відбувається без витримки часу, електродинамічна компенсація не використову­ється, то­му що вона веде до збільшення власного ча­су відклю­чення.

 

7.2.3 ДУГОГАСНА СИСТЕМА

 

В автоматах використовуються напівзакрите та від­кри­те виконання дугогасних пристроїв. В напівзакри­то­му виконанні автомат закритий ізоляційним кожухом, який має отвори для виходу гарячих газів. Об’єм кожу­ха достатньо великий для недопущення всередині вели­ких надлишкових тисків. Зона викиду гарячих газів скла­дає декілька сантиметрів від вихлопних щілин. Та­ке виконання використовується в установочних та уні­вер­саль­них автоматах, які монтуються рядом з іншими апаратами, в розподільчих пристроях, в автоматах з руч­ним управлінням. Найбільше значення струму, яке може відключити такий автомат, не перевищує 50 кА.

В швидкодіючих автоматах та автоматах на великі гра­ничні струми (100 кА і більше) або великі напруги (біль­ше 1000 В) використовуються дугогасні пристрої від­критого виконання з великою зоною викиду.

В установочних та універсальних автоматах ма­со­во­го використання часто використовується деіонна ду­го­гас­на решітка із стальних пластин. В колах змінного струму з напругою 660 В такі дугогасні пристрої забез­пе­чують гасіння дуги з струмом до 50 кА. На постійно­му струмі ці пристрої працюють при напрузі до 440В та струмах до 55 кА. При цьому дуга горить з мінімальним викидом іонізованих та нагрітих газів із дугогасного пристрою.

При великих струмах використовуються лабіринт­но-щілинні камери (див. тему “Електричні контакти ”) з прямою повздовжньою щілиною. Втя­гування дуги в щілину забезпечується магнітним дут­тям з котушкою струму. Повздовжньо-щілинна ка­ме­ра може мати декілька паралельних щілин незмін­ного перерізу. Стінки камери та перегородки вироб­ля­ють­ся із азбоцементу або кераміки.

В лабіринтно-щілинній камері поступове входжен­ня дуги в зигзагоподібну щілину не створює високого аеро­динамічного опору при великих струмах. Вузька щі­ли­на підвищує градієнт напруги в дузі, що зменшує довжину дуги, яка необхідна для її гасіння. Зигзагопо­дібна форма щілин зменшує габаритні розміри автома­ту. В такій камері дуга інтенсивно охолоджується стін­ками. Тому матеріал камери повинен мати високі тепло­про­відність та температуру плавлення.

Для того щоб камера не руйнувалась під дією тем­пе­ратури, дуга повинна рухатися безперервно з великою швидкістю. Це вимагає створення потужного магнітного поля на всьому шляху руху дуги в щілині. При недо­стат­ньо високій швидкості руху дуги відбувається руй­нування дугогасного пристрою. Як матеріал для камери використовується кераміка - кордієрит. Газостворюючі матеріали типу фібри та органічного скла не використо­вуються, тому що вони підвищують аеродинамічний опір входженню дуги в камеру.

В наш час з метою спрощення конструкції (відмова від потужних та складних систем магнітного дуття) зно­ву повертаються до використання деіонної стальної ре­шіт­ки. Стальні, ізольовані керамікою пластини, які ма­ють паз для дугогасних контактів, створюють зусилля, яке переміщує дугу. Гасіння дуги відбувається так, як і в камері з поперечними ізоляційними перегородками, але при відсутності спеціальної системи магнітного дут­тя.

 

7.2.4. ПРИВОДИ ТА МЕХАНІЗМИ УНІВЕРСАЛЬНИХ ТА УСТАНОВОЧНИХ АВТОМАТІВ

 

а) Приводи. Привід повинен забезпечити зусилля на контактах, яке необхідне для включення автомату в са­мому важкому випадку - на існуюче КЗ.

Приводи можуть бути ручними, електромагнітними та електромеханіч­ни­ми. Ручні приводи використовуються при номіналь­них струмах до 200 А. При струмах до 1 кА використо­вуються електромагнітні приводи, які забезпечують пот­рібну швидкість наростання тиску в контактах. Недолі­ка­ми електромагнітного приводу є великі швидкості ру­ху та удари в механізмі, які можуть приводити до віб­ра­ції контактів.

Звичайно електромагнітний привід автомату жи­вить­ся від тої ж мережі, що і навантаження. Напруга на приводі в момент включення на існуюче КЗ падає до нуля, і автомат може не включитися. В приводі неза­леж­ної дії енергія, яка потрібна для включення, нако­пи­­чу­ється у зведеній пружині. Після подачі команди на включення звільняється защіпка, яка утримує пружи­ну, і автомат включається при будь-яких напругах ме­режі.

В автоматах на струми 1500 А і більше бажано ви­ко­рис­тан­ня електродвигунного приводу. Електродвигун з’єднаний з автоматом через понижуючу зубчату переда­чу. Навіть при втраті напруги кінетичної енергії, яка на­копичена в роторі двигуна, що швидко обертається, до­стат­­ньо для закінчення процесу включення. Перевагами такого приводу є плавний хід механізму та відсутність ударів.

б) Механізм передачі зусилля від приводу до кон­так­тів виконує такі функції:

- передає рух від приводу до контактів та утримує їх у включеному положенні,

- звіль­­няє контакти при виключенні автомату,

- надає кон­так­там швидкість, яка необхідна для гасіння дуги,

- фік­сує контакти у виключеному положенні

- готує авто­мат до нового включення.

При відключенні КЗ швидкість переміщення рухо­мих частин може зрости внаслідок дії електродинаміч­них сил. В кінцевому положенні ходу відбувається удар рухомих частин об нерухому опору та відкидання кон­так­тів у напрямку «увімкнуто». Відкидання контактів мо­же привести до нового замикання кола, в зв’язку з чим встановлюються демпфери відключення. Іноді ру­хома частина в положенні «вимкнуто» фіксується спе­ціальною защіпкою. Розщеплення защіпки відбувається при повороті рукоятки у напрямку «готовий до вмикання».

 

7.2.5. РОЗЧІППЛЮВАЧІ АВТОМАТІВ

 

Відключення автоматів відбувається під дією на ме­ха­нізм вільного розчеплення елементів захисту - розчіп­лю­вачів. Найбільш поширені максимальні розчіплюва­чі. Для захисту обладнання від перевантажень потріб­но, щоб часострумова характеристика розчіплювача йшла якомога ближче до характеристики об’єкту захис­ту.

В максимальних розчіплювачах використо­ву­ють­ся електромагнітні системи та теплові системи з бі­металевими пластинами. Електромагнітний розчіплю­вач простий по конструкції, має високу термічну та елек­тродинамічну стійкість та стійкість до механічної дії. До моменту дії на механізм вільного розчеплення якір розчіплювача проходить значний вільний хід (5-10 мм). Розчеплення відбувається за рахунок удару, в яко­му основну роль грає кінетична енергія якоря, накопи­че­на при його русі.

Для створення витримок часу між електромагнітом та механізмом вільного розчеплення ставляться пристрої затримки. Автомати, що працюють селективно, повинні бути узгоджені в часі спрацювання, що досягається викорис­тан­ням годинникових механізмів. Витримка часу таких при­ст­роїв не залежить від струму, тому вони не присто­со­ва­ні для захисту від перевантажень.

Витримка часу, яка залежить від струму наванта­жен­ня, створюється різноманітними гальмівними при­строями (демпферами). Найбільш просто залежну від струму витримку часу можна отримати за допо­мо­гою теплових розчіплювачів, які аналогічні по конст­рук­ції тепловим реле. Але теплові розчіплювачі мають такі недоліки:

1. Слабка термічна стійкість вимагає високої швид­ко­дії при відключенні великих струмів. В цих випадках використовують комбінацію із електромагнітного та теп­­ло­вого розчіплювачів. Електромагнітний розчіплю­вач працює при КЗ, а тепловий - при переванта­жен­нях.

2. Із збільшенням струму відключення зростає зу­сил­ля, яке потрібне для розчеплення автомату. Тому теп­ловий розчіплювач використовується при струмах до 200 А.

3. Витримка часу теплових розчіплювачів залежить від температури оточуючого середовища, що обмежує їх використання.

4. Похибка в величині струму спрацювання у теплових розчіп­лю­ва­чів у 2 рази більша ніж у електромагнітних.

5. Мала термічна стійкість теплових розчіплювачів визначає малу допустиму тривалість КЗ, що утруднює от­римання потрібної селективності.

Більш досконалим є захист за допомогою напівпро­від­никового розчіплювача.

Для дистанційного відключення автомату встанов­лю­ється незалежний електромагнітний розчіплювач. Об­мот­ка електромагніту розраховується на короткочасний режим роботи.

Мінімальний розчіплювач виконується також елек­т­ро­магнітного типу. Для розриву кола котушки у від­клю­ченому положенні вона живиться через замикаючий допоміжний контакт. Цей контакт при включенні зами­ка­ється раніше головних контактів. Тому механізм го­ту­ється до роботи в процесі самого включення. Напруга відпускання електромагніту регулюється в межах 35-70% номінальної. При напрузі, яка менша напруги ус­тав­ки, пружина відкидає якір і діє на механізм віль­но­го розчеплення.

 

7.2.6. УНІВЕРСАЛЬНІ ТА УСТАНОВОЧНІ АВТОМАТИ

 

А) Автомати серії А-3700. Напівпровідниковий блок захисту дозволяє регулювати номінальний струм пристрою та витримку часу спрацювання в широких ме­жах. При перевантаженнях повернення напівпровід­ни­кового блока в початковий стан забезпечується, якщо після 75%-ї витримки часу струм упаде до I­­ном. При КЗ повернення напівпровідникового блока забезпечується, як­що після 50, 170, 320 мс з початку КЗ струм упаде до 70%-ї уставки струму КЗ.

 

Рис. 7.6.

Автомат може комплектуватися електромагнітним при­водом для дистанційного управління.

Номінальні струми автоматів серії А-3700 склада­ють 160-630 А при змінній напрузі до 660 В та постій­ній - до 400 В. Найбільший допустимий струм КЗ в ме­ре­жі, в якій може бути установленим автомат, досягає по амплітуді 200 кА. Зносостійкість досягає (5-10) 10 в залежності від номінального струму апарату.

Б) Автомати серії “Електрон” розроблені для мереж із номінальним струмом 250-4000 А. Такі автомати ма­ють головну та дугогасну системи. Контактуючі поверх­ні облицьовані металокерамікою.

Рис.7.7.

 

Струм відключення досягає 65 кА при номінальній напрузі 660 В та постійній - 440 В. Конструкція вихід­них та вхідних контактів дозволяє легко вкочувати та викочувати автомат із пристрою спеціальними рельса­ми для ремонту та ревізії. Дистанційне включення ав­то­мату виконується електромагнітним (при I = 600 А) або пружинним приводом (при I = 1000-4000 А).

 

7.2.7. Швидкодіючі автомати

Швидкість дії автомату може бути підвищена ско­ро­­чен­ням власного часу відключення та часу га­сіння ду­ги. Останній обмежується рівнем перенапруг. Трива­лість гасіння дуги в наш час доведена до (1, 5-2)·103с (на постійному струмі). Подальше зменшення тривалос­ті гасіння дуги на даному етапі розвитку техніки не має перспективи. Тому основну увагу при­ді­ляють зменшенню власного часу відключенняавтомату.

Для отримання малого власного часу відключення контакти швидкодіючих автоматів виконують торцеви­ми і з малим провалом (порядку 8-10 мм). Максимальна відстань між контактами береться невеликою і складає 18-22 мм при номінальній напрузі до 3000 В. Утворення ду­ги та обмеження струму за рахунок її опору почина­єть­ся при відстані між контактами 1-1, 5 мм. Для змен­шен­ня оплавлення контактів та прискорення розриву ме­талевого містка в місці розміщення контактів ство­рю­ється потужне магнітне поле.

Для зменшення власного часу відключення потріб­но максимально скоротити час від моменту досягнення стру­мом значення Iспр до моменту розходження контак­тів. Тому в швидкодіючих автоматах не використову­ють­ся механізми з ломким важелем та електромаг­ніт­ні розчіплювачі з великим вільним ходом якоря. Намагаються або безпосередньо зв’язати якір електро­маг­ніту з контактами, або максимально спростити ці зв’язки.

Рис. 7.8.

7.2.8. АВТОМАТИ ДЛЯ ГАСІННЯ МАГНІТНОГО ПОЛЯ ПОТУЖНИХ ГЕНЕРАТОРІВ

 

  Рис.7.9.

При пошкодженні обмотки статора потужних гене­ра­торів змінного струму єдиним засобом обмеження по­шкоджень машини від струму КЗ є швидке зменшення магнітного поля збудження. Так як індуктивність L об­мот­ки збудження велика, то при швидкому її відклю­чен­ні на ній появляється напруга , достатня для пробою ізоляції обмотки. Щоб швидко відключити об­мотку та обмежити перенапругу використовуються спе­ціальні автомати гасіння поля з дугогасною ре­шіт­кою. На рис. 2.1, а показана обмотка збудження R3, L генератора, яка живиться від збуджувача. Для обме­жен­ня перенапруги та прискорення відключення вико­ристовується замикаючий К1 та розмикаючий К2 кон­так­ти. При відключенні спочатку замикається контакт К1, а потім розмикається контакт К2. Умови гасіння ду­ги в контакті К2 полегшені, тому що більша частина еле­к­т­ромагнітної енергії, накопиченої в обмотці збу­джен­ня, витрачається в резисторі Rр. Цей же резистор обме­жує струм збуджувача після замикання контакту К1.

Зміна струму в колі збудження визначається рівнянням

(7.1)

 

розв’язання якого має вигляд

(7.2.)

де U0 - напруга на збуджувачі при t=0.

Напруга на затискачах обмотки при t=0

(7.3)

Аналіз (7.2) та (7.3) показує, що для швидкого зме­н­­шення струму необхідно збільшувати Rр (тобто змен­шу­­ва­ти постійну часу). Однак при цьому напруга на об­мотці зростає і може досягнути недопустимих для ізоля­ції обмотки значень. Опір R повинен забезпечувати виконання умови

(7.4)

де Umax - допустима напруга на обмотці збудження.

Для прискорення зменшення струму та обмеження на­пруги на обмотці потрібно виконати умову

(7.5)

Звідси Rз+Rр =const/i. Враховуючи, що звичайно Rз < < Rр, можна написати

(7.6)

Щоб магнітне поле збудження зменшувалось із най­більшою швидкістю і напруга на обмотці не перевищу­ва­ла допустимого значення Umax, опір Rp повинен бути не­лінійним і зростати із зменшенням струму. Із (7.6) ви­ходить, що up = iRp =const, тобто напруга на опорі Rp по­винна бути незмінною, не дивлячись на зменшення стру­му. Таку характеристику має дуга, яка горить між мідними пластинами дугогасної решітки. Відбувається це тому, що в короткій дузі напруга на ній визначається, в основному, катодним падінням напруги, яке не зале­жить від величини струму.

Проінтегрувавши (7.4) та вважаючи, що при t=0 i=U0/Rз, отримаємо

(7.7)

Таким чином струм спадає по лінійному закону. Час гасіння дуги tгас можна визначити, вважаючи i=0

(7.8)

В автоматі гасіння поля роль резистора R виконуєеле­­к­трична дуга в дугогасній решітці (рис. 7.9.б). Ре­зи­стор R служить для обмеження струму збуджувача піс­ля за­микання контакту К1. Робота апарату проходить в та­кому режимі: спочатку замикається контакт К1, після чо­го відключається контакт К2. Потім розмикається контакт К1 і утворена дуга за допомогою магнітного поля затягується в дугогасну решітку та розбивається на ряд коротких дуг. Для зменшення перенапруги, яка вини­кає при обриві струму, паралельно секціям дугогасної ре­шітки включаються шунтуючі резистори Rш.

 

Рис.7.10

Конструкція автомату у спрощеному вигляді пока­за­на на рис.7.10. Після відключення електромагніту ЕМ контакти 5, 6 розмикаються і за допомогою котушки 7 та магнітної системи 8, 9 дуга переміщується вверх, по­ки не досягне пластин 3 дугогасного пристрою. Кінці ко­тушок 1 приєднані до рогів10 та пластин 11. Магніт­ний потік котушок 1 замикається через осердя 4 та сталь­ний кожух 2. Струм, який проходить по котушці 1, створює радіальне магнітне поле Ф, яке, взаємо­ді­ю­чи зі струмом дуги, заставляє дугу обертатися по колу зі швидкістю v. Велика швидкість обертання не допус­кає прогороння пластин 3. Так як номіналь­ний струм автомату досягає 6300 А, апарат має систему головних та дугогасних контактів. Номінальна напруга головного кола 500 В.

 

 


Поделиться с друзьями:

mylektsii.su - Мои Лекции - 2015-2026 год. (1.272 сек.)Все материалы представленные на сайте исключительно с целью ознакомления читателями и не преследуют коммерческих целей или нарушение авторских прав Пожаловаться на материал