Студопедия

Главная страница Случайная страница

КАТЕГОРИИ:

АвтомобилиАстрономияБиологияГеографияДом и садДругие языкиДругоеИнформатикаИсторияКультураЛитератураЛогикаМатематикаМедицинаМеталлургияМеханикаОбразованиеОхрана трудаПедагогикаПолитикаПравоПсихологияРелигияРиторикаСоциологияСпортСтроительствоТехнологияТуризмФизикаФилософияФинансыХимияЧерчениеЭкологияЭкономикаЭлектроника






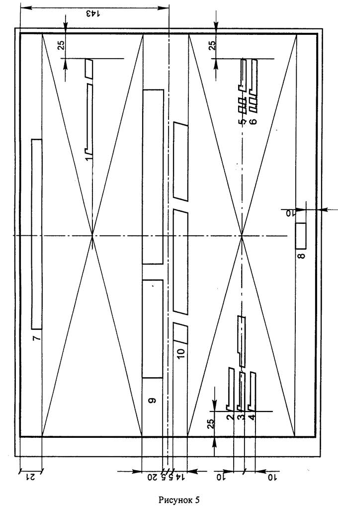
Лист 1-1






Содержание листа: вычертить титульный лист для альбома на формате АЗ

 

Целевое назначение листа: необходимо ознакомиться со стандартным шрифтом тип Б по ГОСТ 2.304 — 81. Приобрести навыки построения прописных и строчных букв и цифр, освоить выполнение надписей. Ознакомиться с таблицей параметров чертежного шрифта и научиться определять, в зависимости от номера шрифта, высоту, ширину, расстояние между буквами и словами, минимальный шаг строк, толщину букв и цифр.

 

Порядок выполнения листа: На листе формата А3 выполнить рамку. По размерам, заданным на рисунке 5 разлиновать лист и выполнить следующие надписи чертежным шрифтом.

Строки 1, 2, 3, 4, 5, 6 - выполняются шрифтом № 7, наклон 75*, тип Б.

1 -- специальность 130502, 130503, 130504,

2 -- Выполнил

3 -- Студент гр. 3ИС11

4 -- Проверил

5 -- А. Н. Петров

6 -- Е. А. Волохин

Строки 7, 8 - выполняются шрифтом № 10, тип Б.

7 -- ОУ СПО " Нефтяной техникум"

8 -- 2004

Рисунок 5 - разметка титульного листа

Строка 9 - выполняется шрифтом №20 тип Б, образец дан на рисунке 7,

Строка 9 - все прописные (заглавные) без наклона,

Строка 10 - выполняется шрифтом №14 тип Б, образец дан на рисунке 7,

Строка 10 - все строчные (высота 10 мм) с наклоном 75°

Надписи строк 7, 8, 9, 10 выполняются симметрично относительно вертикальной оси формата. Перенос частей слов на титульном листе не допустим.Проверить лист, удалить лишний линии, обвести все надписи, соблюдая толщину линий шрифта в соответствии с ГОСТ 2.304 — 81.Образец выполнения листа дан на рисунке 6. Образец начертания букв и цифр дан на рисунке 7.

Исходя что d-ширина шрифта d=1/10*h определяем ширину буквы по таблице 1

 

 

Рисунок 6

 

Рисунок 7

 


Поделиться с друзьями:

mylektsii.su - Мои Лекции - 2015-2026 год. (2.807 сек.)Все материалы представленные на сайте исключительно с целью ознакомления читателями и не преследуют коммерческих целей или нарушение авторских прав Пожаловаться на материал