Студопедия

Главная страница Случайная страница

КАТЕГОРИИ:

АвтомобилиАстрономияБиологияГеографияДом и садДругие языкиДругоеИнформатикаИсторияКультураЛитератураЛогикаМатематикаМедицинаМеталлургияМеханикаОбразованиеОхрана трудаПедагогикаПолитикаПравоПсихологияРелигияРиторикаСоциологияСпортСтроительствоТехнологияТуризмФизикаФилософияФинансыХимияЧерчениеЭкологияЭкономикаЭлектроника






График масштабов






Так как на сборочных чертежах отсутствуют размеры отдельных деталей, то при деталировании все необходимые размеры определяют по масштабу. В методичке размеры чертежей, как правило, уменьшают и они не соответствуют масштабу, указанному в основной надписи. В этом случае для определения натуральных размеров детали пользуются графиком масштабов.

Для того, чтобы определить истинные размеры детали, необходимо выяснить, во сколько раз уменьшен (или увеличен) при печатании изображенный чертеж. С этой целью находим на чертеже самый большой размер (чем больше размер, тем меньше погрешность при расчете). Например, размер 120 при непосредственном измерении на рисунке оказался равным 52 мм. Разделив 120 на 52 получаем коэффициент уменьшения равным ≈ 2, 307. Теперь, чтобы узнать размеры, не указанные на сборочном чертеже, надо измерять их на чертеже и полученные величины умножить на 2, 307.

Чтобы избежать большого числа подсчетов, применяют графический метод вычисления. В этом случае вычерчивается график пропорциональной зависимости размеров действительных и на иллюстрации в книге. График вычерчивается в соответствии с рисунком 17. Произвольно строят два взаимно перпендикулярных отрезка ОА и ОВ. На горизонтальном отрезке ОА от точки О откладывают величину отрезка взятого с чертежа, размер которого обозначен (например 120 мм). Его откладывают по вертикали от точки О по ОВ. Из полученных точек восстанавливают перпендикуляры до пересечения в точке М. Проведя из точки О прямую через точку М, получим линию масштаба 1: 1. При помощи линии масштаба легко находятся истинные размеры деталей, без арифметических подсчетов. Для этого берут измерителем любой размер на линии ОА от точки О, из полученной точки восстанавливают перпендикуляр до пересечения с наклонной ОМ. Величина этого перпендикуляра будет являться действительным размером измеряемого элемента.

Вопросы для самопроверки

1. Какие чертежи называются сборочными?

2. Назовите требования, предъявляемые к сборочным чертежам.

3. Какие размеры указываются на сборочных чертежах?

4. Как изображаются на чертеже движущиеся части механизма, пограничные детали?

5. Как штрихуют граничные детали на сборочных чертежах в разрезе?

6. В чем заключается условность изображения деталей, находящихся за пружиной?

7. Какие упрощения применяют на сборочном чертеже?

 

 

Рисунок 18

 

 

Задание к листу II – 3

Задание к листу II – 3

ВАРИАНТ 1

 

 

ВАРИАНТ 2

 

ВАРИАНТ 3

 

ВАРИАНТ 4

 

ВАРИАНТ 5

ВАРИАНТ 6.

ВАРИАНТ7

ВАРИАНТ 8

 

 

 

 

ВАРИАНТ 9.

 

 

 

 

ВАРИАНТ 10.

 

 

ВАРИАНТ 11.

 

 

ВАРИАНТ 12.

 

 

ВАРИАНТ 13.

 

 

ВАРИАНТ 14.

 

ВАРИАНТ 15.

 

 

 

Зависимость шероховатости от допусков
Поверхности и детали Классы шероховатости Нанесение шероховатостей поверхностей, мкм.
Свободные поверхности внешние и внутренние, не подлежащие механической обработки (литье, штамповка, отливка)  
Свободные внутренние и внешние поверхности, механически обработанные 4 – 5
Сопрягаемые поверхности, взаимодействующие с другими поверхностями и обеспечивающие специальные непроницаемые соединения. Золотники, поршни, краны. 7 – 9
Сопрягаемые поверхности с крепежной резьбой (нарезанной резцом). 4 – 6
Фаски, канавки.  

Таблица №3

   
Вариант Позиция детали
15. Вентель регулирующий  
14. Кран угловой  
13. Муфта короткозамкнутая  
12. Клапан пусковой  
11 Приспособление для фрезерования  
10. Зажим гидравлический  
9. Цилиндр гидравлический  
8. Клапан предохранительный  
7. Патрон цанговый  
9. Кран угловой  
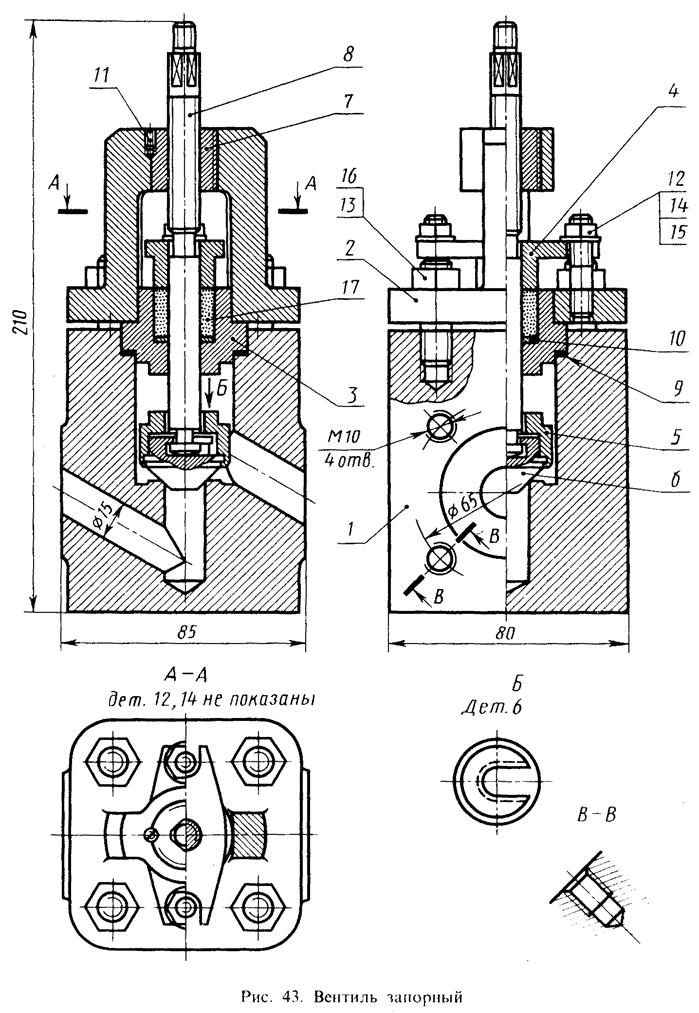
5. Вентиль  
4. Цилиндр гидравлический  
3. Вентиль  
2. Кондуктор для сверления двух отверстий в гайках  
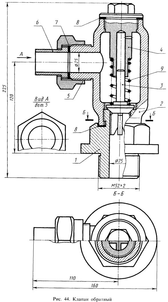
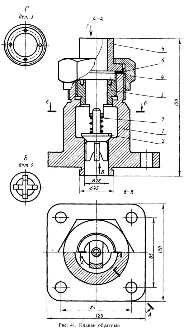
1 Клапан обратный  

Рекомендуемая литература

1. Р. С. Миронова, Б. Г. Миронов Инженерная графика. М., 2003.

2. И. С. Вышнепольский, В. И. Вышнепольский Черчение для техникумов. М., 2002

3. Дружинин Н.С. Чувиков Н. Т. Черчение. М., 1982.

4. Боголюбов С. К., Воинов А. В. Черчение. М., 1981

5. Федоренко В. А., Шошин А. И. Справочник по машиностроительному черчению. Л., 1982.

6. Стандарты ЕСКД и др. М., 1968 г. и последующие издания.

Кроме вышеперечисленной литературы можно использовать любую другую литературу по черчению, но соответствующую новым стандартам ЕСКД. Кроме того, в курсе черчения изучаются следующие ГОСТы:

Кроме того, в курсе черчения изучаются следующие ГОСТы
2.001 – 70 2.108 - 68 2.303 - 68 2.307 - 68 2.367 - 68 2.101 - 68 2.109 - 68 2.304 - 68 2.311 - 68 2.770 - 68 2.109 – 73 2.301 – 68 2.305 – 68 2.312 – 68 2.780 – 68 2.107 – 68 2.302 – 68 2.306 – 68 2.315 – 68  
Стандарты, содержание которых частично изучается в курсе " Черчение" и в полном объеме в курсах " Детали машин" и " Основы взаимозаменяемости":
2.101 - 68 2.108 – 68 2.312 – 68 2.401 – 68 2.404 – 68 2.411 – 68 2.102 – 68 2.201 – 68 2.313 – 68 2.402 – 68 2.405 - 68 2.104 - 68 2.105 - 95 2.315 - 68 2.409 - 68 2.406 - 68 2.107 – 68 2.310 – 68 2.316- 68 2.403 – 68 2.407- 68

Поделиться с друзьями:

mylektsii.su - Мои Лекции - 2015-2026 год. (1.674 сек.)Все материалы представленные на сайте исключительно с целью ознакомления читателями и не преследуют коммерческих целей или нарушение авторских прав Пожаловаться на материал