Студопедия

Главная страница Случайная страница

КАТЕГОРИИ:

АвтомобилиАстрономияБиологияГеографияДом и садДругие языкиДругоеИнформатикаИсторияКультураЛитератураЛогикаМатематикаМедицинаМеталлургияМеханикаОбразованиеОхрана трудаПедагогикаПолитикаПравоПсихологияРелигияРиторикаСоциологияСпортСтроительствоТехнологияТуризмФизикаФилософияФинансыХимияЧерчениеЭкологияЭкономикаЭлектроника






Гидродроссели.






Лекция 5

ГИДРОАППАРАТУРА

Основные термины, определения и классификация

Классификация гидроаппаратов

5.2. Гидродроссели

- линейные;

- нелинейные (квадратичные)

- регуляторы расхода

5.3. Регулирующие гидроклапаны.

5. 4 Направляющие гидроклапаны

5.5. Направляющие гидрораспределители

5.6. Дросселирующие гидрораспределители

5.6.1. Золотниковые дросселирующие гидрораспределители

5.6.2. Струйные гидрораспределители

5.6 3. Гидрораспределитель типа «сопло-заслонка

5.7. Электрогидравлические усилители мощности управляющего сигнала

 

Классификация гидроаппаратов.

Гидроаппаратом называется устройство, предназначенное для изменения параметров потока рабочей жидкости (давле­ния, расхода, направления движения) или для поддержания их заданного значения. Основным элементом всех гидроаппаратов является запорно-регулирующий орган — подвижный элемент, при перемещении которого частично или полностью перекрывается проходное сечение гидроаппарата.

В зависимости от конструкции запорно-регулирующего органа гидроаппараты бывают:

- золот­никовые — запорно-регулирующим органом является золотник;

- крановые — запорно-регулирующий орган выполнен в виде крана;

- клапанные — запорно-регулирующий орган выполнен в виде клапана.

Если гидроаппарат изменяет параметры потока рабочей жидкости путем:
- частичного открытия или закрытия проходного сечения, то он является ре­гулирующим;

- полного открытия или полного закрытия проходного сечения, то он является направляющим.

Гидроаппараты, в которых степень открытия проходного сечения (положение запорно-регулирующего органа или силовое воздействие на него) может быть изменена в процессе работы воздействием извне, называются регулируемыми. Если изменить указанные параметры мож­но только в нерабочем состоянии, то такие гидроаппараты называются настра­иваемыми.

По принципу действия гидроаппараты делятся на:

- гидродроссели

-гидроклапаны

-гидрораспределители.

Гидродроссели.

Дроссели и регуляторы расхода предназначены для регулирования расхода рабочей жидкости в гидросистеме или на отдельных ее участках и связанного с этим регулирования скорости движения выходного звена гидродвигателя.

 

Основной характеристикой гидро­дросселя является зависимость расхо­да Q от перепада давлений ∆ р в подводимом и отводимом потоках: Q=f(∆ р). По характеру приведенной функции дроссели делятся на линей­ные и нелинейные.

Рис. 6. Линейный регулируемый дроссель
В линейных дросселях, или дрос­селях вязкостного сопротивления, по­тери давления определяются в основ­ном трением жидкости в канале. В дросселях такого типа устанавливается ламинарный режим течения рабочей жидкости, а перепад давления от которого зависит расход через дроссель практически прямо пропорционален скорости течения в первой степени. Расход через линейный дроссель с каналами круглого сечения определяется по закону Пуазейля:

,

где l и d — соответственно длина и диаметр канала; v — кинематическая вяз­кость; ρ — плотность рабочей жидкости; ∆ р — перепад давления в подво­димом и отводимом потоках.

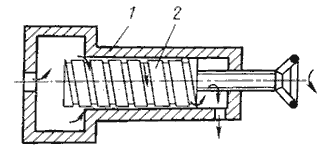
На рис. 5.1 показана схема регулируемого линейного дросселя, в котором дросселирующий канал выполнен в виде винтовой нарезки на цилин­дрической поверхности пробки 1.

 

Рис.5.1 Линейный дроссель: 1 - корпус; 2 – винт (пробка).

 

Жидкость подводится к отверстию по стрелке слеваи, прой­дя через канал, поступает к выходному отверстию. Регулирование величины перепада ∆ р осуще­ствляется за счет перемещения пробки 2относительно корпуса 1с помощью рукоятки, благодаря чему изменяется длина канала, соединяющего отвер­стия входа и выхода. Для канала прямоугольного сечения со сторонами а и b расход выражается приближенной формулой

.

Основным недостатком линейных дросселей, ограничивающим сферу их применения, является нестабильность характеристики дросселя при изменении температуры рабочей жидкости, обусловленная зависимостью вязкости рабо­чей жидкости от температуры.

В нелинейных дросселях потери давления связаны с отрывом потока и вихреобразованием. Частным случаем (и наиболее распространённым) нелинейного дросселя является квадратич­ный дроссель, потери давления в котором прямо пропорциональны скорости во второй степени (расхода). Потери на трение в квадратичных дросселях прак­тически отсутствуют, благодаря чему расход через дроссель не зависит от вяз­кости жидкости, и, следовательно, характеристика дросселя остается стабиль­ной в широком диапазоне эксплуатационных температур. Это преимущество квадратичных дросселей определило их широкое использование в гидравличе­ских системах. Простейший квадратичный дроссель представляет собой от­верстие с острой кромкой, толщина которой 0, 2 — 0, 5 мм (рис. 4.2а.

Расход рабочей жидкости через такой дроссель рассчитывается по формуле

, (получена из уравнения Бернулли) (5.3)

где S — площадь проходного сечения; μ — коэффициент расхода, значение ко­торого постоянно для каждого типа дросселя и определяется эксперименталь­но. При больших значениях Re для приближенных расчетов можно принимать μ = 0, 6—0, 65.

Для получения больших перепадов давления или малых расходов при

∆ р = const необходимы отверстия очень малых диаметров, что неизбежно при­водит к засорению. Кроме того, при диаметре отверстия d< 0, 1 мм наблюда­ется явление облитерации, заключающееся в зарастании отверстия вследствие отложения на твердой поверхности его краев слоя поляризованных молекул рабочей жидкости. Поэтому на практике в качестве настраиваемого дросселя

а
б

Рис.5.2. Квадратичные дроссели

 

применяют пакет дросселирующих шайб, отверстия в которых можно сделать достаточно большими, а степень дросселирования обеспечить числом шайб в пакете (см. рис. 5.2б). Отверстия в шайбах пакета должны иметь диаметр

d= 0, 5—1, 5 мм. Расстояние между шайбами выбирается из условия (3—5) d, толщина кромки отверстия (0, 5—1, 0)d, диаметр шайбы D≥ 10d. При сборке пакета шайб оси отверстий в них смещаются так, чтобы отверстия не находи­лись одно против другого.

Расход через дроссель, у которого расстояние между шайбами и диаметры отверстий в шайбах равны, определяется из соотношения

,

где S — площадь отверстия в шайбе; р — перепад давления на пакете шайб; μ — коэффициент расхода для одной шайбы; n — число шайб в пакете (число ступеней); k — коэффициент взаимного влияния ступеней дросселя, который может быть принят равным 1, 25.

При расчете числа шайб (числа ступеней) следует учитывать, что чем больше число ступеней, тем стабильнее коэффициент расхода по Re и, следова­тельно, стабильнее характеристика дросселя в широком диапазоне температур.

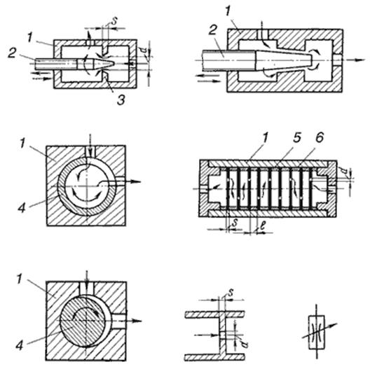
Некоторые схемы дросселей показаны на рис 5.3

 

Рис.5.3 Принципиальные схемы нелинейных дросселей:
а - игольчатого; б - комбинированного; в - пробкового щелевого;
г - пробкового эксцентричного; д - пластинчатого пакетного;
е - пластинчатого; ж - условное обозначение регулируемого дросселя;
1 - корпус; 2 - игла; 3 - диафрагма; 4 - пробка; 5 - пластина; 6 - втулка

К нелинейным дросселям относятся также и комбинированные дроссели, в которых потери давления по длине и местные потери соизмеримы между собой по величине и в равной мере оказывают влияние на расход жидкости через дроссель (рис.4, 3 б). На характеристику комбинированных дросселей влияет вязкость рабочих жидкостей. Поэтому такие дроссели целесообразно применять в гидросистемах, в которых температура рабочей жидкости изменяется в небольших пределах.

Применение дросселей для регулирования скорости выходного звена гидропривода приводит к нежёсткости его силовой характеристики вследствие неравномерности расхода.

Для частичного или полного устранения неравномерности расхода применяют регуляторы расхода, в которых перепад давлений в дросселе Δ P во время его работы поддерживается примерно постоянным. Конструктивно этот аппарат состоит из последовательно включенных редукционного клапана и дросселя. Расход жидкости через регулятор устанавливается дросселем 1, а постоянство перепада давления на дросселе - редукционным клапаном 2 (рис. 5.4). При уменьшении давления на входе уменьшается сила, действующая на на плунжер снизу, по действием пружины золотник перемещается вниз давление за дросселем уменьшается пропорционально давлению на входе. Перепад давлений δ P=P1 - P2, поддерживается постоянным.

Рис.5.4 Принципиальная схема регулятора расхода

Благодаря постоянству перепада давлений на дросселе расход жидкости через регулятор и скорость движения выходного звена гидродвигателя не изменяются при изменении нагрузки. Вид проливочной характеристики Q = fP) регулятора расхода Г55-21 приведен на рис.5.4, б, а его конструкция на рис.5.5.6.

 

 

Рис.5.5. Проливочные характеристики
а - дросселя Г77-11; б - регулятора расхода Г55-21

 

 

Рис.5.6. Регулятор расхода Г55-21

 

При работе гидропривода вследствие изменения коэффициента расхода μ, вызванного колебаниями температуры рабочей жидкости, расход через регулятор несколько изменяется. Для серийных конструкций регуляторов это изменение составляет до 10…12%.

 

  Рис. 5.7. Гидродроссель «сопло-заслонка»: а – схема гидросистем; б – характеристика гидродросселя; F=f(h); Q=f(h); 1 – для ∆ р= 4 МПа; 2 – для ∆ р= 3 МПа; 3 – для ∆ р= 2 МПа; 4 – для ∆ р= 1 МПа  

В системах гидроавтоматики широкое распространение получили регулируемые дроссели «сопло-заслонка» (рис. 5.7, а). Такие дроссели представляют собой устройства, состоящие из сопла и плоской заслонки, которая перемещается вдоль оси сопла, изменяя тем самым площадь кольцевой щели между торцом сопла и заслонкой, и следовательно, гидравлическое сопротивление дросселя.

Характеристики такого типа дросселей достаточно стабильны в широком диапазоне изменения температур, так как в регулируемом зазоре преобладает турбулентный режим тече­ния жидкости.

Без учета потерь давления в подводящих каналах сопла перепад давления на дросселе «сопло-заслонка» определяется формулой

,

где Qc — расход через сопло; μ c — коэффициент расхода; h — зазор между соплом и заслонкой; d c— диаметр сопла; ρ — плотность жидкости. Для приближенного определения силы воздействия потока на заслонку при

d Т/ d С = 1, 2 обычно пользуются формулой

На рис. 5.7, представлены статические характеристики дросселя «сопло-заслонка», при d c= 1 мм и температуре рабочей жидкости АМГ-10 t= 50 °C.


Поделиться с друзьями:

mylektsii.su - Мои Лекции - 2015-2026 год. (0.736 сек.)Все материалы представленные на сайте исключительно с целью ознакомления читателями и не преследуют коммерческих целей или нарушение авторских прав Пожаловаться на материал