Студопедия

Главная страница Случайная страница

КАТЕГОРИИ:

АвтомобилиАстрономияБиологияГеографияДом и садДругие языкиДругоеИнформатикаИсторияКультураЛитератураЛогикаМатематикаМедицинаМеталлургияМеханикаОбразованиеОхрана трудаПедагогикаПолитикаПравоПсихологияРелигияРиторикаСоциологияСпортСтроительствоТехнологияТуризмФизикаФилософияФинансыХимияЧерчениеЭкологияЭкономикаЭлектроника






Крановые гидрораспределители






В крановых гидрораспределителях изменение направления потока рабочей жидкости достигается поворотом пробки, имеющей плоскую, цилиндрическую, сферическую или коническую форму.

На рис.5.24 показана схема включения распространенного кранового распределителя в систему управления силовым цилиндром. Пробка крана имеет два перпендикулярных, но не пересекающихся отверстия. Она может занимать два и больше угловых положения.

Рис.5.24. Схемы включения в гидросистему пробкового крана

 

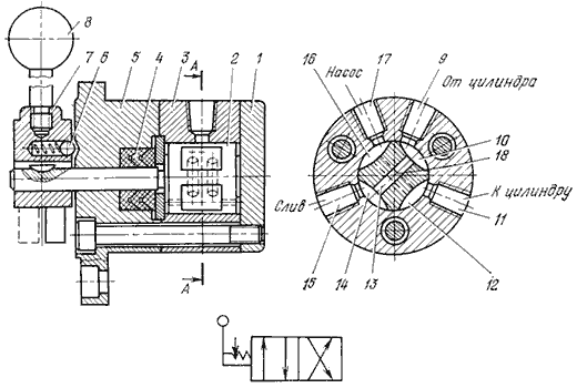
Серийный двухпозиционный крановый гидрораспре-делитель Г71-3 (рис.5.25) с цилиндрической пробкой состоит из корпуса 3, фланца 5, крышки 1, пробки 2, уплотнения 4, ступицы 7, рукоятки 8 и шарикового фиксатора 6. В положении пробки крана, указанном на рисунке, жидкость через отверстие 17 поступает в камеру 16; из нее через канал 18 в пробке крана (показан пунктиром) - в камеру 12 и далее через отверстие 11 в корпусе к гидродвигателю или к другому управляемому объекту. Из другой полости гидродвигателя жидкость поступает в отверстие 9, далее в камеру 10 и через канал 13 в камеру, которая отверстием 15 в корпусе крана соединена со сливом. При повороте пробки крана по часовой стрелке на угол 45 происходит изменение направления потока рабочей жидкости.

Рис.5.25. Крановый гидрораспределитель и его условное обозначение

 

Герметичность кранового гидрораспределителя обеспечивается за счет притирки пробки к корпусу крана. Для кранов с цилиндрической пробкой зазор между пробкой и корпусом принимают равным 0, 01…0, 02 мм. В этих кранах вследствие износа пробки и корпуса зазор между ними, а следовательно, и утечка рабочей жидкости с течением времени увеличиваются, что является недостатком такого кранового распределителя. Такого недостатка нет в крановых гидрораспределителях с конической пробкой.

Крановые гидрораспределители чаще всего применяют в качестве вспомогательных в золотниковых гидрораспределителях с гидравлическим управлением.


Поделиться с друзьями:

mylektsii.su - Мои Лекции - 2015-2026 год. (0.503 сек.)Все материалы представленные на сайте исключительно с целью ознакомления читателями и не преследуют коммерческих целей или нарушение авторских прав Пожаловаться на материал