Студопедия

Главная страница Случайная страница

КАТЕГОРИИ:

АвтомобилиАстрономияБиологияГеографияДом и садДругие языкиДругоеИнформатикаИсторияКультураЛитератураЛогикаМатематикаМедицинаМеталлургияМеханикаОбразованиеОхрана трудаПедагогикаПолитикаПравоПсихологияРелигияРиторикаСоциологияСпортСтроительствоТехнологияТуризмФизикаФилософияФинансыХимияЧерчениеЭкологияЭкономикаЭлектроника






Расчет шпоночного соединения.






Для передачи вращательного движения от вала к мешалке используется шпоночное соединение. Выбираем шпонки призматические согласно ГОСТ 23360-78.

Подбираем шпонку для вала d =50мм

h =10мм

b=16мм

t1=5, 0мм

t2=5, 2мм

Длина шпонки:

lшп =hст–10=70–10=60мм

Расчетная длина шпонки:

lр = lшп –b=60–16=44мм

Напряжения смятия рассчитывают:

σ см=4× Т/(d× b× lр),

где σ см – напряжения смятия, МПа.

Т – крутящий момент на валу, Н∙ мм;

d – диаметр вала, мм;

b – ширина шпонки, мм;

lр – расчетная длина шпонки, мм;

σ см=4× 147000/(50× 16× 44)=16, 6МПа

см] =146 МПа, σ см< [σ см] – условие выполняется.

 

 

Изм.
Лист
№ докум.
Подпись
Дата
Лист
 
 
Изм.
Лист
№ докум.
Подпись
Дата
Лист
 
 


Изм.
Лист
№ докум.
Подпись
Дата
Лист
 
 
3.5 Выбор и проверочный расчёт опор аппарата.

Размер опоры лапы или стойки выбирается в зависимости от внутреннего диаметра корпуса аппарата в соответствии с ОСТ 26-665-72.

 

Расчет опор–лап.

Выбираем опоры-лапы типа 2, исполнение 2 (табл.1, Расчет опор)

1. Нагрузку на одну опору G1 рассчитывают:

где G1 – нагрузка на одну опору, Н;

Gmax – максимальный вес аппарата, Н;

n – число опор.

Gmax = g∙ (mап+mсреды.+mпр+mвала+mмуфты+mмеш+ mупл..+ 4∙ mоп),

где Gmax – максимальный вес аппарата, Н;

g = 9, 8 – ускорение свободного падения, м/с;

mап – масса аппарата, кг;

mсреды – масса среды в аппарате, кг;

mпр – масса привода, кг;

mвала – масса вала, кг;

mмуфты – масса муфты, кг;

mмеш – масса мешалки, кг;

mупл – масса уплотнения, кг.

mап=492+ 35+4× 28=674 кг

Mсреды = Vном∙ ρ среды = 5, 0∙ 890=4450 кг;

mпр = 308 кг, (табл.14, Справочные таблицы)

mмуфты =18, 0 кг, (табл.26, Справочные таблицы)

mмеш =2, 89 кг, (табл.4, Уплотнения валов)

mупл = 8, 5 кг. (табл.2, Уплотнения валов)

Gmax =9, 8∙ (674+4450+308+44+2, 89+18, 0+8, 5)=53953Н

G1=53953/4=13488Н.

Проверка опоры на грузоподъёмность по условию G1 < [G]

Изм.
Лист
№ докум.
Подпись
Дата
Лист
 
 
[G]= 63кН, (табл.1, Расчет опор) 13488< 63000 – условие выполняется.

2. Фактическую площадь подошвы определяют:

Афакт = а2∙ b2 ,

 

где Афакт – фактическая площадь подкладного листа, мм2;

 

a2, b2 – размеры подкладного листа, мм.

 

Афакт = 150∙ 160=24000мм2

Требуемая площадь подошвы из условия прочности фундамента:

,

где Атреб – требуемая площадь подкладного листа, мм2;

G1 – нагрузка на одну опору, Н;

[q] – допускаемое удельное давление на фундамент, МПа,

[q]=14 МПа – для бетона марки 200.

Атреб=13488/14=963мм2;

Афакт > Атреб – условие выполнется.

3. Вертикальные ребра опор проверяют на сжатие и устойчивость:

,

где σ – напряжения сжатия в ребре при продольном изгибе, МПа;

G1 – нагрузка на одну опору, Н;

К1 – коэффициент гибкости ребра;

Zр = 2 – число ребер жесткости в опоре;

S1 – толщина ребра, мм;

b – вылет ребра, мм;

[σ ]=146–допускаемые напряжения для материала ребер опоры, МПа;

К2 – коэффициент уменьшения допускаемых напряжений при продольном изгибе, 0, 6.

Коэффициент К1 определяется в зависимости от гибкости ребра λ, рассчитываемому:

,

где λ – гибкость ребра;

l – гипотенуза ребра, мм;

S1 – толщина ребра, мм.

Для опоры стойки величина l определяется из эскиза, а для опоры лапы рассчитывается:

,

 

Изм.
Лист
№ докум.
Подпись
Дата
Лист
 
 
По графику (рис.1, Расчет опор) определяем К1 = 0, 63

3, 5< 87 МПа – условие выполняется.

4. Проверка на срез прочности угловых сварных швов, соединяющих рёбра с корпусом аппарата выполняется исходя из:

,

где τ – напряжения сдвига в ребре, МПа;

G1 – нагрузка на опору, Н;

Δ =0, 85∙ S1 – катет шва, мм;

L – общая длина швов, мм;

[τ ] – допускаемое напряжение в сварном шве, МПа, (не более 80 МПа)

Δ =0, 85∙ 12 = 10, 2 мм

 

2, 7< 80 МПа – условие выполняется.

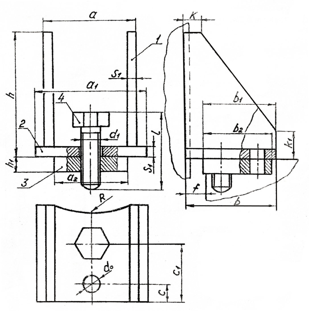
Эскизы опор-лап и опор-стоек представлены соответственно на рисунках 7 и 8.

 

Изм.
Лист
№ докум.
Подпись
Дата
Лист
 
 

 


Изм.
Лист
№ докум.
Подпись
Дата
Лист
 
Рис. 7. Опоры-лапы типа 2 по ОСТ 26-665-87  

Изм.
Лист
№ докум.
Подпись
Дата
Лист
 
Рис. 7. Опоры-лапы типа 2 по ОСТ 26-665-87  

Изм.
Лист
№ докум.
Подпись
Дата
Лист
 
Рис. 8. Опоры-стойки типа 3 по ОСТ 26-365-87  


3.6. Подбор муфты.

Изм.
Лист
№ докум.
Подпись
Дата
Лист
 
 
В приводе 2 исполнении 1 габарита 1 установлена фланцевая муфта. Она применяется для соединения строго соосных валов. Муфта состоит из двух полумуфт, имеющих форму фланцев. Полумуфты насаживают на концы соединяемых валов и стягивают болтами. Для центрирования фланцев один из них имеет круговой выступ, а другой – соответствующую выточку. Полумуфта соединена с валом призматической шпонкой.

Фланцевые муфты обеспечивают надежное соединение валов, могут передавать большие моменты и дешевы по конструкции.

Для привода типа 2 исполнения 1 габарита 1 для диаметра вала 50мм подбираем муфту (табл. 26, Справочные таблицы)

Диаметр муфты 220 мм

Крутящий момент не более 1000 Н∙ м

Масса муфты 18, 0 кг.

Эскиз муфты представлен на рисунке 9.

Изм.
Лист
№ докум.
Подпись
Дата
Лист
 
Рис. 9. Муфта фланцевая по ОСТ 26-01-1226-75  

1 - полумуфта;

2 -вал;

3 - вал с фланцем;

4-болт;

5-гайка;

6-гайка круглая;

7-шайба многолапчатая;

8-шпонка.


Поделиться с друзьями:

mylektsii.su - Мои Лекции - 2015-2026 год. (1.608 сек.)Все материалы представленные на сайте исключительно с целью ознакомления читателями и не преследуют коммерческих целей или нарушение авторских прав Пожаловаться на материал