Студопедия

Главная страница Случайная страница

КАТЕГОРИИ:

АвтомобилиАстрономияБиологияГеографияДом и садДругие языкиДругоеИнформатикаИсторияКультураЛитератураЛогикаМатематикаМедицинаМеталлургияМеханикаОбразованиеОхрана трудаПедагогикаПолитикаПравоПсихологияРелигияРиторикаСоциологияСпортСтроительствоТехнологияТуризмФизикаФилософияФинансыХимияЧерчениеЭкологияЭкономикаЭлектроника






Рубильники и рубящие переключатели






 

Рубильником называется электрический однопозиционный аппарат с клиновым контактом и ручным приводом, предназначенный для коммутации электрических цепей. Аналогичный многопозиционный аппарат называют рубящим переключателем.

Рис. 2.1.1. Рубильник с моментным дугогасительным ножом

Судовые рубильники и рубящие переключатели по своей конструкции являются открытыми аппаратами, предназначенными для вертикальной установки на панелях распределительных устройств, и служат для неавтоматического замыкания и размыкания электрических цепей постоянного и переменного тока напряжением до 500 В.

Рубильники выпускаются в одно-, двух- и трехполюсных исполнениях.

Основными элементами каждого полюса рубильника являются подвижный контактный нож 4 (рис. 2.1.1), неподвижные контакты стойки (губки) 1, образующие в совокупности клиновой контакт. В рубильниках на малые токи используются моментные ножи 2 с пружинами 3. Подвижный контакт вращается в шарнирной стойке 5 и может входить в неподвижные контактные губки. Контактное нажатие для надежного контактного соединения обеспечивается за счет упругих свойств материала контактных губок, а при токах более 100А — с помощью стальных пружин. При отключении рубильника между ножом и неподвижным контактом загорается дуга. При небольших значениях тока (до 75 А) гашение дуги происходит в основном за счет ее механического растягивания двигающимся ножом.

В современных рубильниках и рубящих переключателях, рассчитанных на токи порядка 100А и выше, широкое распространение получил линейный контакт, в котором контактное нажатие создается специальными стальными пружинами. В линейном контакте по сравнению с плоскими достигается большее удельное давление и меньшее переходное сопротивление.

Исследования показали, что гашение дуги при больших постоянных токах определяется скоростью перемещения ее под действием электродинамических сил, а не механическим растяжением. Электродинамические силы пропорциональны квадрату тока и обусловливают нормальную составляющую скорости в движении дуги. В результате дуга двигается в воздухе с большой скоростью, происходит интенсивная деионизация и она гаснет за меньшее время. Электродинамическая сила, действующая на единицу длину дуги, примерно обратно пропорциональна длине ножа. Сокращение длины ножа приводит к увеличению напряженности магнитного поля и сил, действующих на дугу. Длина ножа выбирается такой, чтобы обеспечить возможно лучшее гашение дуги при малых токах.

При отключении однополюсным рубильником цепи переменного тока с напряжением не более 220В дуга всегда гаснет при первом прохождении тока через нуль. Гашение дуги при переменном токе определяется не воздействием на нее магнитного поля и не механическим ее растягиванием, а быстрой деионизацией околокатодного промежутка. У медных электродов электрическая прочность дугового промежутка после прохождения тока через нуль сразу достигнет 200 — 220В, что вполне достаточно для гашения дуги при первом прохождении тока через нуль. Выбор длины ножа при разработке рубильников переменного тока производится не из условий гашения дуги, а из механических и тепловых условий. При моментном отключении длительность процесса отключения незначительна и не зависит от характера усилий, приложенных к рукоятке. При включенном рубильнике большая часть тока протекает по главному ножу. При выключении рубильника вначале из неподвижных контактных губок выходит главный нож. Дуга при этом не возникает, так как моментный нож еще удерживается силой трения в неподвижных контактах. По мере перемещения главного ножа пружина растягивается, при достаточном натяжении она оторвет от неподвижных контактов моментный нож, на котором возникает дуга отключения. Раствор контактов и скорость движения ножа определяются параметрами отключающей пружины. При этом обеспечивается и минимальное необходимое для погасания дуги расстояние между контактами. Рубильники с моментными ножами применяют для отключения цепей постоянного тока при малых и средних токах.

Для повышения отключающей способности рубильники могут снабжаться дугогасительной камерой с дугогасительной решеткой.

Рубящие переключатели в отличие от рубильников имеют две системы неподвижных контактов и три коммутационных положения и снабжаются специальным приспособлением для фиксации при отключенном состоянии.

Рубильник, не имеющий устройств дугогашения и служащий для отключения цепи без тока, называется разъединителем.

Судовые рубильники серий Р, РО, РП и рубящие переключатели серий П, ПО, ПП выпускаются на токи от 100 до 1000А при напряжении 220 и 440В постоянного тока, 380 и 500В переменного тока.

Судовые рубильники и рубящие переключатели подразделяются:

· по количеству полюсов — на одно-, двух- и трехполюсные;

· по роду привода — на аппараты с центральной и боковой рукояткой непосредственного управления и с рычажным приводом дистанционного управления;

· по способу присоединения — для переднего и заднего присоединения подводящих проводов;

· по наличию вспомогательных контактов — с вспомогательными контактами и без них.

Судовые рубильники и рубящие переключатели выполняются открытого и водозащищенного исполнения. Аппараты открытого исполнения с центральной рукояткой, предназначены для установки на панелях распределительных устройств. Аппараты открытого исполнения с центральным рычажным приводом предназначены для установки за лицевой панелью распределительного устройства, на металлическом каркасе, с рукояткой привода на лицевой панели. Аппараты водозащищенного исполнения представляют собой стальной ящик с встроенным в него рубильником или рубящим переключателем, установленным на изоляционной плите, с выведенной с правой стороны рукояткой управления. Предназначены они для установки в сырых помещениях и в местах, подверженных обливанию водой.

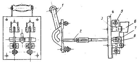
Рис. 2.1.2. Двухполюсный рубильник с рычажным приводом

Рубильники и рубящие переключатели этих серий, допускающие коммутацию электрической цепи под нагрузкой, снабжаются дугогасительными камерами.

На рис. 2.1.2 изображен судовой двухполюсный рубильник с рычажным приводом типа РП22М. Рукоятка привода 1 шарнирно соединена с одним концом тяги 2. Другой конец тяги связан с изоляционным валиком 8, на котором укреплены ножи 7 всех полюсов рубильника. На изоляционной плите 4 расположены контактные стойки 3 с зажимами для присоединения приводов 5. Для обеспечения высокой разрывной способности рубильник снабжен съемными дугогасительными камерами 6. Установлены они на контактных стойках и представляют собой обычные камеры со стальными пластинами.

Коммутационная способность рубильников и рубящих переключателей характеризуется предельным отключающим током. Рубильники серий Р, РО, РП и рубящие переключатели серий П, ПО, ПП с центральной рукояткой и дугогасительными камерами допускают отключение номинального тока в неиндуктивных цепях при напряжении до 220В постоянного и переменного тока.

Технические характеристики рубильников и рубящих переключателей определяются их типоисполнением и номинальным током. Например, у рубильников на номинальный ток 400А предельный включаемый ток составляет 8 кА, электродинамическая устойчивость 45 кА, а термическая — 210·106А2·с.

Рубильники и рубящие переключатели с рычажным приводом допускают отключение номинального тока при напряжении 380В, cos j = 0, 8 и половины номинального тока при 380В и cos j = 0, 4. При напряжении 500В переменного и 440В постоянного тока отключение рубильников и рубящих переключателей под нагрузкой не допускается.

По механической износоустойчивости при отсутствии тока рубильники и рубящие переключатели выдерживают не менее 10 000 циклов «включено — выключено».

В последние годы в связи с развитием автоматизации и модернизацией судовых электрических установок область применения рубильников сужается.

 


Поделиться с друзьями:

mylektsii.su - Мои Лекции - 2015-2026 год. (1.231 сек.)Все материалы представленные на сайте исключительно с целью ознакомления читателями и не преследуют коммерческих целей или нарушение авторских прав Пожаловаться на материал