Студопедия

Главная страница Случайная страница

КАТЕГОРИИ:

АвтомобилиАстрономияБиологияГеографияДом и садДругие языкиДругоеИнформатикаИсторияКультураЛитератураЛогикаМатематикаМедицинаМеталлургияМеханикаОбразованиеОхрана трудаПедагогикаПолитикаПравоПсихологияРелигияРиторикаСоциологияСпортСтроительствоТехнологияТуризмФизикаФилософияФинансыХимияЧерчениеЭкологияЭкономикаЭлектроника






Тема 3.2 Контакторы постоянного тока






 

Студент должен:

Знать:

- особенности работы контакторов постоянного тока;

- серии контакторов постоянного тока их маркировка.

 

Конструкции контакторов постоянного тока. Принцип работы, применение в системах электропривода и автоматики. Серии судовых контакторов постоянного тока, их особенности и маркировка.

 

Материал для изучения

 

Контакторы постоянного тока выполняются обычно одно- или двухполюсными. В контакторах постоянного тока широкое распространение получили электромагниты клапанного типа с вращением якоря на призме. Применение специальной пружины, прижимающей якорь к призме, и соответствующая компоновка электромагнита и контактной системы позволили значительно повысить износоустойчивость узла вращения аппарата. В контакторах постоянного тока используются и магнитные системы с прямолинейным движением сердечника.

Для магнитных систем постоянного тока характерной является малая величина зазора между якорем и сердечником (8—10 мм). Раствор главных контактов составляет обычно 10—20 мм. Для увеличения раствора в клапанных системах контакты располагаются на большом рычаге. Используются увеличенные нажатия контактных пружин.

У контакторов постоянного тока для улучшения теплоотдачи катушки выполняются небольшого диаметра и большой длины. Тяговая характеристика электромагнита постоянного тока обычно плохо согласуется с противодействующей. Напряжение отпускания в контакторе постоянного тока обычно составляет 0, 15— 0, 25 Uном. Следовательно, контакторы постоянного тока имеют низкий коэффициент возврата.

В контакторах постоянного тока получили распространение дугогасительные камеры с магнитным дутьем. Магнитное поле при гашении дуги в большинстве случаев создается дугогасительной катушкой, включаемой последовательно с главными контактами контактора. При этом широкое применение находят камеры с узкими щелями и, в частности, лабиринтно-щелевые камеры.

В настоящее время промышленностью выпускаются контакторы постоянного тока с весьма разнообразным конструктивным выполнением. Ниже рассмотрены основные серии судовых контакторов постоянного тока. Судовые контакторы постоянного тока серий КН и КНУ предназначены для управления судовыми электроприводами и переключения сетей постоянного тока. Они выпускаются пяти величин на номинальные токи от 25 до 400А при напряжении до 320В, а контакторы ускорения — КНУ — на токи до 200А. Контакторы выполняются с двумя замыкающими главными контактами и вспомогательными контактами. В зависимости от типа контактора вспомогательные контакты могут быть замыкающими и размыкающими и их общее число не превышает четырех. Втягивающая катушка контактора рассчитана на напряжение 24, 110, 220, 320В постоянного тока.

Рис. 3.2.1. Контактор постоянного тока серии КН второй величины

Контакторы серии КН рассчитаны на работу в режимах: продолжительном, прерывисто-продолжительном, кратковременном, повторно-кратковременном при ПВ =40% с частотой до 1200 включений в час для контакторов первой и второй величин и до 600 включений в час для контакторов третьей—пятой величин. На рис. 3.2.1 изображен судовой контактор серии КН второй величины. Он имеет клапанную уравновешенную магнитную систему и состоит из электромагнитной системы, контактной и дугогасительной систем, вспомогательных контактов. Электромагнитная система контакторов первой и четвертой величин включает в себя магнитопровод 4, втягивающую катушку 2 со стальным сердечником и якорь 5. Сердечник к магнитопроводу крепится болтом 1. Магнитопровод П -образной формы выполнен из листовой стали. Его концы отогнуты для крепления контактора. Верхняя часть сердечника закреплена хомутом 3, который одновременно является и короткозамкнутым витком, увеличивающим собственное время отпадания контактора для придания ему ударостойкости. Втягивающая катушка 2 не имеет каркаса, обмотка намотана на изолированный стальной сердечник. Односекционная катушка включается в сеть последовательно с добавочным (экономическим) сопротивлением, которое на время включения шунтируется размыкающим вспомогательным контактом контактора. Экономическое сопротивление служит для ограничения тока катушки до величины, достаточной для удержания якоря в притянутом положении.

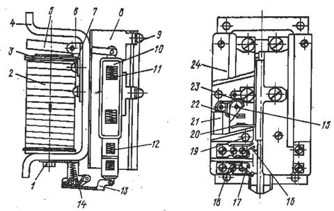
Рис. 3.2.2. Контактор постоянного тока серии КМ-2000

Катушки контакторов третьей и четвертой величины двухсекционные и имеют две обмотки — удерживающую и включающую, — соединенные параллельно. Включающая обмотка получает питание через размыкающий вспомогательный контакт и отключается в конце хода якоря при включении контактора. В контакторах третьей и четвертой величин на якоре (со стороны сердечника) прикреплена бронзовая пластинка, предохраняющая якорь от залипания при отключении втягивающей катушки. Подвижная система контактора образует шарнирный параллелограмм, уравновешенный в двух взаимно перпендикулярных направлениях, и состоит из якоря 5 с угольником 6, траверсы 10 и скобы 13, представляющей нижнее звено подвижной системы. Угольник 6 к магнитопроводу крепится винтами 7. Пластмассовая траверса 10 имеет окна, в которые вставлены подвижные главные контакты (мостики) 20 с пружинами 11 и блок-контактные мостики 16 с пружинами 12. Контактные поверхности мостиковых главных контактов облицованы металлокерамикой. Мостики вспомогательных контактов — серебряные. Неподвижные вспомогательные контакты выполнены на пружинящих ламелях 17, укрепленных на угольниках 18.

Последовательно с неподвижными главными контактами 22 подключена дугогасительная катушка 23. Стальные щечки 15 дугогасительной системы прикреплены к сердечнику дугогасительной катушки. Щечки подводят в зону главных контактов магнитный поток, возникающий при прохождении тока через дугогасительную катушку. Электрическая дуга, возникающая при размыкании главных контактов, сдувается с них магнитным полем, переходит на дугогасительный рог, растягивается и гаснет в дугогасительной решетке 21. Контактная система закрыта крышкой 24 и закреплена винтом 19. Размыкание якоря при отключенной катушке осуществляется возвратной пружиной 14. Зажимы для присоединения контактора 9 расположены на панели 8.

По коммутационной способности главные контакты при напряжении 320В и постоянной времени цепи Т = 0, 01с выдерживают: 50 включений и отключений с интервалами в 10с пятикратного номинального тока контактора; 5 включений и отключений интервалами в 10с десятикратного номинального тока.

Главные контакты выдерживают до 200 000 включений четырехкратного номинального тока при напряжении 320В и столько же отключений номинального тока при U = 60 В.

Динамическая и термическая устойчивость включенного контактора характеризуется 20Iном в течение 1с. Собственное время втягивания 0, 1—0, 4с, а отпадания 0, 03—0, 07с.

Выбор контактора для продолжительного и прерывисто-продолжительного режима работы производится по номинальному и максимально допустимому пусковому току, который равен четырехкратному номинальному току контактора.

Для кратковременного и повторно-кратковременного режима выбор контактора производится по эквивалентному току, значение которого не должно превышать Iном, и по допустимому пусковому току. Контакторы серии КН первой – третьей величин выдерживают 1, 5 млн., а четвертой – пятой величин — 500 000 включений и отключений без тока.

Контакторы серии КМ-2000. Судовые универсальные контакторы серии КМ-2000 предназначены для применения в комплектных пусковых устройствах постоянного тока напряжением до 320В и переменного тока напряжением до 380В. Контакторы постоянного тока серии КМ-2000 выпускаются пяти величин на номинальные токи от 25 до 350А и выполняются на различное сочетание главных контактов от одного замыкающего или размыкающего до двух замыкающих или размыкающих. Контакторы изготовляются с вспомогательными контактами трех исполнений: клиновыми, мостиковыми и перекидными. Клиновые вспомогательные контакты применяются в цепях, где не допускается даже кратковременный их разрыв. Втягивающая катушка контактора рассчитана на напряжение 24, 110, 220, 342В постоянного тока. Контакторы постоянного тока серии КМ-2000 могут работать в повторно-кратковременном режиме при ПВ = 40% с частотой 600 включений в час.

На рис. 3.2.2 изображен судовой контактор постоянного тока серии КМ-2000 с одним замыкающим главным контактом. Электромагнитная система контактора состоит из Е-образного сердечника 8, Т-образного якоря 13, набранных из листов электротехнической стали, и втягивающей катушки 14. Якорь электромагнита имеет прямолинейное движение и свободный ход для гашения энергии удара якоря с помощью пружин. Контактная система — мостикового типа. Рабочая часть контактов 15 выполнена из металлокерамики (серебро—окись кадмия). Подвижные контакты укреплены на планке 6 подвижной системы. Неподвижные контакты 20 расположены в камере дугогашения 21. Подвижные контакты с контактным мостиком 19 перемещаются в контакте-держателе 16 с помощью направляющей колодки 18. Контактное нажатие создается контактной пружиной 17 и регулируется шайбами 5. Гашение дуги осуществляется в камере дугогашения 21. Она состоит из основания камеры и крышки 3. В крышке камеры имеется зигзагообразная узкая щель, закрытая пламегасительной решеткой 4. На постоянном токе гашение дуги осуществляется с помощью электромагнитного дутья дугогасительной катушки 2 со щекой 1.

Рис. 3.2.3. Схемы форсированного включения контактора

Подвижная система контактора уравновешена грузом 11. Якорь шарнирно связан с отключающей пружиной 7 через рычаг противовеса 9, скобу подвижной системы 10 со стойкой 12 и груз противовеса 11. Втягивающая катушка постоянного тока выполняется одно- или двухсекционной. При включении односекционная катушка работает в форсированном режиме. Добавочное сопротивление вводится последовательно с катушкой в конце хода магнитной системы, ограничивая ток в катушке. Расшунтирование сопротивления осуществляется размыкающим вспомогательным контактом (рис. 3.2.3, а). Такая система обладает повышенным быстродействием, но и дополнительными потерями мощности в добавочном сопротивлении. Для уменьшения потребляемой мощности втягивающую катушку выполняют двухсекционной и включают по схеме, приведенной на рис. 3.2.3, в или 3.2.3, б. В схеме рис. 3.2.3, б ампер-витки включения создаются включающей секцией В, а ампер-витки удержания — обеими секциями (В и У). На рис. 3.2.3, в ампер-витки включения создаются обеими секциями, ампер-витки удержания — секцией У. При одинаковых размерах катушки степень форсировки включения, выполненная по схеме, приведенной на рис. 3.2.3, а, выше, чем по двум другим схемам (рис. 3.2.3, б, в).

Контактор имеет мостиковые вспомогательные контакты 15 (см. рис. 3.2.2) и шинный токопровод 22. Контактор собирается на металлическом основании 23.

По коммутационной способности главные замыкающие контакты при напряжении 230В выдерживают: 50 включений и отключений с интервалами в 10с четырехкратного тока контактора при индуктивной нагрузке; пять включений и отключений с интервалами 10с десятикратного тока при активной нагрузке. Допустимая кратность пускового тока по отношению к номинальному 2, 5.

Главные контакты выдерживают 150 000 включений допустимого пускового тока при напряжении 230В и столько же отключений номинального тока при напряжении 50В и индуктивной нагрузке. Динамическая устойчивость в зависимости от величины контактора составляет от 18 до 30Iном. Термическая устойчивость контактов эквивалентна прохождению через главные контакты тока, равного 20 Iном в течение 1с. Собственное время втягивания составляет 0, 021—0, 098с, а отпадание — 0, 013—0, 064с. Механическая износоустойчивость контакторов — 1, 2 млн. включений и отключений.

Контакторы ускорения серии КУВ используются для пуска двигателей постоянного тока в функции времени. Они имеют однополюсное исполнение с замыкающими главными контактами без дугогашения и рассчитаны на замыкание сопротивлений при пуске двигателей. Выдержка времени на срабатывание контактора изменяется в зависимости от толщины немагнитной прокладки между якорем и сердечником, а также от усилия отключающей пружины.

Контакторы выполняются четырех величин на токи от 25 до 300А. Втягивающие катушки рассчитаны на напряжение от 24 до 320В. Контактор может иметь до двух вспомогательных контактов мостикового типа.

Выдержка времени при наличии демпфера составляет 0, 4—3с. Собственное время срабатывания контактора 0, 1—0, 8с. Электродинамическая и односекундная термическая устойчивость 18Iном. Механическая износоустойчивость — 1 млн. циклов «включено — выключено».

Контакторы серии КП. Контакторы постоянного тока серии КП предназначены для управления электроприводами, которые работают в динамических режимах с частотой включений до 600 в час. Они выпускаются трех величин на номинальные токи от 25 до 300А. Втягивающая катушка контактора рассчитана на напряжение 24, 110 и 220В. Контакторы выполняются с одним замыкающим или одним замыкающим и одним размыкающим главными контактами и двумя вспомогательными контактами.

Контакторы серии КПМ имеют клапанную магнитную систему. Рабочая часть контактов выполнена из металлокерамики СОК 15. Дугогасительная система состоит из дугогасительной катушки, магнитопровода «камеры, имеющей зигзагообразную щель.

У контакторов максимальный ток включения 10 Iном, а отключений— 5 Iном. Время включения 0, 12—0, 3с, а отключения — 0, 08—0, 2с. Ток динамической и односекундной термической устойчивости 20 Iном. Механическая.(износоустойчивость — 1, 2 млн. циклов «включено—выключено».

 

 


Поделиться с друзьями:

mylektsii.su - Мои Лекции - 2015-2026 год. (1.982 сек.)Все материалы представленные на сайте исключительно с целью ознакомления читателями и не преследуют коммерческих целей или нарушение авторских прав Пожаловаться на материал