Студопедия

Главная страница Случайная страница

КАТЕГОРИИ:

АвтомобилиАстрономияБиологияГеографияДом и садДругие языкиДругоеИнформатикаИсторияКультураЛитератураЛогикаМатематикаМедицинаМеталлургияМеханикаОбразованиеОхрана трудаПедагогикаПолитикаПравоПсихологияРелигияРиторикаСоциологияСпортСтроительствоТехнологияТуризмФизикаФилософияФинансыХимияЧерчениеЭкологияЭкономикаЭлектроника






Тема 2.2 Универсальные переключатели






 

Студент должен:

Знать:

- особенности работы и применение универсальных переключателей;

уметь:

- по условным обозначениям определять переключатели на схемах;

- проводить ТО№1 и ТО№2 универсальных переключателей.

 

Виды универсальных переключателей, применение, маркировка, условные обозначения на электрических схемах. ТО№1 и ТО№2 универсальных переключателей.

 

Материал для изучения

 

 

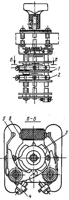
Рис. 2.2.1. Схема универсального переключателя серии УП-5100

Универсальные переключатели серии УП применяются в судовых электрических установках в качестве командоаппаратов — для включения контрольных цепей автоматов; командоконтроллеров — для управления магнитными станциями; вольтметровых и амперметровых переключателей; для управления серводвигателями и т. д.

Аппарат состоит из отдельных контактных секций 2, изолированных одна от другой пластмассовыми перегородками 1 (рис. 2.2.1). Включение и отключение подвижных 5 и неподвижных 6 контактов в секции производятся пластмассовыми шайбами 3, несколько разновидностей которых обеспечивают практически любой набор схемы включения.

Каждая секция имеет два разрыва цепи, но есть возможность использовать и один разрыв. В этом случае цепь присоединяется к неподвижному контакту 6 и выводу подвижного 4. При таком включении каждый разрыв может управлять независимой цепью. В зависимости от исполнения УП число контролируемых цепей (секций) может быть от 2 до 16.

Судовые аппараты серии УП-5100 имеют открытое исполнение без кожуха и рукоятку овальной или револьверной формы. Имеются переключатели с самовозвратом рукоятки в нулевое положение, которые выполняются с указателем предыдущего положения.

Аппараты могут применяться в цепях с напряжением до 500В постоянного и 500В переменного токов. Замкнутые контакты допускают длительную нагрузку до 20А, десятисекундную — до 75А и трехсекундную — до 250А.

Судовые универсальные переключатели серии УП-5400 водозащищенного исполнения применяются в качестве переключателей постов управления. Это универсальный переключатель, встроенный в литой силуминовый корпус и закрываемый сварным стальным кожухом с уплотнением на резине.

В судовых установках применяются универсальные пакетные ключи серии УПК. Они предназначены для работы в качестве ключей управления и переключателей на щитах электростанций и коммутации цепей управления. Пакетные ключи позволяют производить дистанционное управление различными выключателями и автоматами, переключение в цепях измерительных приборов, переключение в цепях синхронизации, непосредственное управление двигателями постоянного тока мощностью до 60 Вт при напряжении 220В. В зависимости от характера фиксации положений рукоятки и ее самовозврата ключи могут быть следующих типов: ключ с самовозвратом из оперативных положений в нулевое; ключ с фиксированной рукояткой в нескольких определенных положениях; ключ с фиксацией в нескольких положениях и самовозвратом. Ключи каждого типа различаются по числу пакетов, а также виду и положению подвижных контактов в пакетах.

 

Рис. 2.2.2. Схема универсального пакетного ключа

Универсальный пакетный ключ состоит из контактного устройств 1, лицевого фланца 2 и рукоятки 3 (рис. 2.2.2, а). Лицевой фланец выполняется круглым или прямоугольным. Контактное устройство представляет собой контактные пакеты, насаженные на квадратный валик и собранные в узел с фиксирующим и стопорным устройствами или с возвратным механизмом. Контактный пакет (рис. 2.2.2, б) состоит из двух пластмассовых контактодержателей 6, в которых укреплены четыре неподвижных контакта 4 и помещен подвижный контакт 5. Подвижный контакт может иметь разную форму и по-разному насаживаться на валик. Типы и форма подвижных контактов представлены на рис.2.2.2, в. Сочетая разные типы подвижных контактов, их положение на валике и характер движения и фиксации валика, можно обеспечить любой необходимый порядок соединения неподвижных контактов. Все выводы неподвижных контактов пакета имеют общую нумерацию.

Универсальные пакетные ключи выпускаются на номинальный ток 10А постоянного тока напряжением до 220В и переменного тока напряжением до 400В. Предельный ток, отключаемый контактами ключей на переменном токе напряжением 380В и cos j £ 0, 4, составляет 10А, на постоянном токе при напряжении 220В и постоянной времени цепи 0, 01с — 2А.

 

 


Поделиться с друзьями:

mylektsii.su - Мои Лекции - 2015-2026 год. (1.232 сек.)Все материалы представленные на сайте исключительно с целью ознакомления читателями и не преследуют коммерческих целей или нарушение авторских прав Пожаловаться на материал