Студопедия

Главная страница Случайная страница

КАТЕГОРИИ:

АвтомобилиАстрономияБиологияГеографияДом и садДругие языкиДругоеИнформатикаИсторияКультураЛитератураЛогикаМатематикаМедицинаМеталлургияМеханикаОбразованиеОхрана трудаПедагогикаПолитикаПравоПсихологияРелигияРиторикаСоциологияСпортСтроительствоТехнологияТуризмФизикаФилософияФинансыХимияЧерчениеЭкологияЭкономикаЭлектроника






Радиальная иммунодиффузия по Манчини






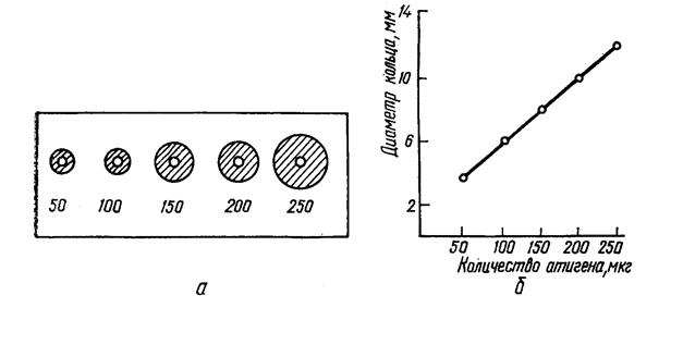
Радиальная иммунодиффузия по Манчини позволяет использовать моноспецифические антисыворотки и эталон с известным содержанием антигена. Тест-антиген и разведения растворов, исследуемых на наличие данного антигена, помещают в лунки, вырезанные рядами в пластине геля, куда предварительно внесена соответствующая моноспецифическая антисыворотка. Антиген диффундирует в гель и, соединившись со специфическими антителами, формирует кольца преципитации, диаметры которых зависят от концентрации антигена в лунках. Полученные результаты используют для построения калибровочной кривой, выражающей зависимость диаметров преципитантов от концентрации антигена в исследуемых растворах (рис. 44).

Принцип радиальной диффузии положен в основу метода, применяемого для изучения токсигенности бактериальных культур и отбора из бактериальной популяции клонов с высокой степенью токсичности. В этом случае исследуемые культуры засевают в чашки с агаром, содержащим антитоксическую сыворотку. Вокруг отдельных колоний образуются кольца преципитации, диаметр которых прямо пропорционален степени токсичности штамма (рис. 44).

Рис. 44. Простая радиальная иммунодиффузия: а – кольца преципитации; б – калибровочная кривая.  

 

Реакция иммуноэлектрофореза (ИЭФ)

В основе реакции лежит принцип преципитации. ИЭФ, как правило, используется для исследования антигенной структуры микроорганизмов. Реакцию проводят в два этапа. Вначале проводят электрофоретическое разделение антигена в забуференном агаровом геле. Антигенный комплекс помещают в лунку, которая находится в центре геля, залитого на стеклянную пластинку. Затем через гель пропускают электрический ток, в результате происходит перемещение антигенов на неодинаковые расстояния соответственно своей электрофоретической подвижности. После этого в канавку, которая расположена по краю пластинки, вносят специфическую иммунную сыворотку и помещают во влажную камеру. Антигены и антитела диффундируют в геле навстречу друг другу. В месте их соприкосновения образуются дугообразные линии преципитации. С помощью ИЭФ анализируются состав и количество белков сыворотки крови, спиномозговой жидкости, микробных протеинов (рис. 45).

7

 

 
 
Рис. 45. Реакция иммуноэлектрофореза.


Реакция связывания комплемента (РСК)

РСК используется для лабораторной диагностики венерических заболеваний, риккетсиозов, вирусных инфекций (грипп, корь, клещевой энцефалит и др.) и основывается на способности комплемента связываться с комплексом АГ + АТ. Комплемент адсорбируется на Fc-фрагменте иммуноглобулинов G и М. Реакция протекает в две фазы. Первая фаза ­– взаимодействие антигена и антитела. В качестве материала, содержащего антитела, используется исследуемая сыворотка, к которой добавляется известный антиген. К этой системе добавляют стандартный комплемент и инкубируют при 370С в течение одного часа.

Вторая фаза – выявление результатов реакции при помощи индикаторной гемолитической системы (эритроциты барана и гемолитическая сыворотка кролика, содержащая гемолизины к эритроцитам барана). К смеси антиген + антитело + комплемент (1-я фаза) добавляют индикаторную систему и вновь инкубируют при 370С в течение 30 – 60 мин, после чего оценивают результаты реакции. Разрушение эритроцитов происходит в случае присоединения к гемолитической системе комплемента. Если комплемент адсорбировался ранее на комплексе АГ + АТ, то гемолиз эритроцитов не наступает. Гемолиз происходит в том случае, когда в исследуемой сыворотке содержатся специфические антитела к диагностическому антигену. При отсутствии в исследуемой сыворотке специфических антител, комплекс АГ + АТ не образуется и комплемент остается несвязанным. При добавлении гемолитической системы комплемент присоединяется к ней и происходит гемолиз эритроцитов. Интенсивность РСК оценивают по четырехкрестной системе в зависимости от степени задержки гемолиза и наличия осадка эритроцитов. Все компоненты РСК, за исключением исследуемой сыворотки, должны быть оттитрованы (рис. 46).

Реакция непрямой гемагглютинации (РНГА)

РНГА применяют в двух вариантах: с известными антигеном для обнаружения антител или с известными антителами для выявления антигена. Эта реакция специфична и применяют ее для диагностики заболеваний вызванных бактериями и риккетсиями. Для постановки РНГА используют эритроцитарные диагностикумы, приготовленные путем адсорбции на эритроцитах антигенов или антител в зависимости от цели исследования (рис. 47).

 

 
 
Рис. 46. Реакция связывания комплемента: а – лизис сенсибилизированных эритроцитов в присутствии комплемента; б – отсутствие гемолиза вследствие фиксации комплемента комплексом Аг-Ат; в – лизис эритроцитов в результате отсутствия комплекса Аг-Ат.

 

 


В положительных случаях степень агглютинации эритроцитов отмечают плюсами. Четырьмя плюсами оценивают реакцию, имеющую вид тонкой пленки из склеивающихся эритроцитов (зонтик), покрывающей дно пробирки, наличие пленки с фестончатыми кружевными краями обозначают двумя плюсами. За титр принимают предельное разведение исследуемого материала, вызывавшее агглютинацию эритроцитов на два полюса.

Рис. 47. Реакция непрямой (пассивной) гемагглютинации: 1 – эритроциты; 2 – антигенэритроцита; 3 – конъюгированный антиген; 4 – антитело.  

 


Поделиться с друзьями:

mylektsii.su - Мои Лекции - 2015-2026 год. (1.002 сек.)Все материалы представленные на сайте исключительно с целью ознакомления читателями и не преследуют коммерческих целей или нарушение авторских прав Пожаловаться на материал