Студопедия

Главная страница Случайная страница

КАТЕГОРИИ:

АвтомобилиАстрономияБиологияГеографияДом и садДругие языкиДругоеИнформатикаИсторияКультураЛитератураЛогикаМатематикаМедицинаМеталлургияМеханикаОбразованиеОхрана трудаПедагогикаПолитикаПравоПсихологияРелигияРиторикаСоциологияСпортСтроительствоТехнологияТуризмФизикаФилософияФинансыХимияЧерчениеЭкологияЭкономикаЭлектроника






Огнетушители водные мелкодисперсные типов ОВМ-5 и ОВМ-10






 

Водные мелкодисперсные огнетушители ОВМ-5 и ОВМ-10 используются как первичные средства пожаротушения пожаров классов А (твердые горючие материалы), В (горючие жидкости и твердые плавящиеся материалы), С (горючие газы).

Огнетушители не применяются для тушения электроустановок под напряжением и щелочных металлов.

Заряд огнетушителя удовлетворяет требованиям по экологической чистоте.

Средством вытеснения заряда из огнетушителя является диоксид углерода, который одновременно подается в струю жидкости перед распылителем, что обеспечивает возможность формирования газожидкостной струи с заданными параметрами.

Баллончик с диоксидом углерода расположен внутри корпуса огнетушителя, где рабочее давление не превышает 0, 12 МПа (12 кгс/кв.см). В качестве заряда используется чистая вода, либо водный раствор поташа (К2СО3), что позволяет эксплуатировать огнетушитель при температурах от минус 25 град Ц до плюс 50 град Ц.

Хранить огнетушители допускается при температуре от минус 50 град Ц до плюс 50 град Ц.

Огнетушители ОВМ-5 и ОВМ-10 (рис.7) состоят из корпуса 1 цилиндрической формы, головки 2 с запорно-пусковым устройством, рукава 3 с рукояткой 4 и оросителем 5.

На корпусе размещены ручка 6 для переноски и крепления огнетушителя, скоба 7 для крепления рукава 3. Головка монтируется на огнетушитель на резьбе и уплотняется резиновой прокладкой 8. Ороситель 5 резьбой соединяется с рукояткой 4, соединение уплотняется прокладкой 22. Рукоятка 4 резьбой соединяется с гайкой рукава 3. Соединение уплотняется прокладкой 22 и лентой ФУМ.

Для предотвращения засорения оросителя 5 между рукояткой 4 и рукавом 3 устанавливается фильтр 9.

Рукав 3 штуцером 10 соединяется с резьбовой втулкой 11 корпуса 1.

Для предотвращения испарения огнетушащего вещества и его выливания при случайном опрокидывании выход из сифонной трубки 12 закрыт мембраной 13, уплотненной прокладкой 14.

Запорно-пусковое устройство монтируется в головке 2 и состоит из иглы пусковой 15 (в сборе с кольцом уплотнительным и гайкой), предохранительной чеки 16 с кольцом. Пусковой баллон 17 ввинчивается в головку 2. Перед приведением огнетушителя в действие снять кронштейн рукава со скобы и направить ороситель в нужную сторону. Для приведения в действие огнетушителя необходимо выдернуть предохранительную чеку, нажатием на диск нажимной пусковой иглы проколоть мембрану пускового баллона и направить струю на очаг загорания.

После использования огнетушителя или приготовления огнетушащего вещества и заправки им огнетушителя руки, лицо и другие открытые части тела должны быть тщательно вымыты.

При сборке и разборке огнетушителей на запорно-пусковое устройство должна быть установлена предохранительная чека.

Лица, эксплуатирующие огнетушитель, должны изучать содержание паспорта огнетушителя, а также инструктивные надписи, нанесенные на корпус огнетушителя. Запрещается:

- разборка и ремонт заполненных пусковых баллонов, нанесение ударов по ним;

- допускать в эксплуатацию огнетушители с глубокими забоинами, вмятинами и ржавчиной на корпусе.

Корпуса огнетушителей, давшие при эксплуатации или при испытаниях течь, ремонту не подлежат и снимаются с эксплуатации.

 

Техническая характеристика

------------------------------------------T------------------------

¦ ¦Тип огнетушителя ¦

¦ +------------T-----------+

¦Наименование параметров ¦ОВМ-5 ¦ОВМ-10 ¦

+-----------------------------------------+------------+-----------+

¦Огнетушащая способность по классу В, кв.м¦0, 65 ¦1, 1 ¦

+-----------------------------------------+------------+-----------+

¦ ¦ +0, 2 ¦ +0, 3 ¦

¦Вместимость корпуса, Л ¦5 ¦10 ¦

+-----------------------------------------+------------+-----------+

¦Масса заряженного огнетушителя ¦13, 0 ¦20, 0 ¦

+-----------------------------------------+------------+-----------+

¦Рабочее давление, МПа (кгс/см2), не более¦ ¦ ¦

¦в корпусе огнетушителя ¦1, 2 (12) ¦1, 2 (12) ¦

+-----------------------------------------+------------+-----------+

¦в пусковом баллоне ¦15 (150) ¦15 (150) ¦

+-----------------------------------------+------------+-----------+

¦Пробное давление, МПа (кгс/кв.см), ¦ ¦ ¦

¦при испытании: ¦ ¦ ¦

¦ ¦ +0, 05 ¦ +0, 05 ¦

¦на герметичность ¦1, 2 ¦1, 2 ¦

¦ ¦ +0, 5 ¦ +0, 5 ¦

¦ ¦(12) ¦(12) ¦

+-----------------------------------------+------------+-----------+

¦на прочность ¦ +0, 05 ¦ +0, 05 ¦

¦ ¦1, 8 ¦1, 8 ¦

¦ ¦ +0, 5 ¦ +0, 5 ¦

¦ ¦(18) ¦(18) ¦

+-----------------------------------------+------------+-----------+

¦Продолжительность приведения ¦ ¦ ¦

¦огнетушителя в действие, не более, с ¦2 ¦2 ¦

+-----------------------------------------+------------+-----------+

¦Продолжительность подачи ¦ ¦ ¦

¦огнетушащего вещества, не менее, с ¦30 ¦40 ¦

+-----------------------------------------+------------+-----------+

¦Огнетушащее вещество ¦ водный раствор ¦

¦ ¦ антифриза ¦

+-----------------------------------------+------------T-----------+

¦Масса огнетушащего вещества, кг ¦6, 75+0, 2 ¦13, 5+0, 3 ¦

+-----------------------------------------+------------+-----------+

¦Масса антифриза в огнетушащем ¦3, 0+0, 1 ¦6, 0+0, 15 ¦

¦веществе, кг ¦ ¦ ¦

+-----------------------------------------+------------+-----------+

¦Инициатор давления: ¦ ¦ ¦

+-----------------------------------------+------------+-----------+

¦пусковой баллон с CО(2) ¦ ¦ ¦

+-----------------------------------------+------------+-----------+

¦вместимость, куб.см ¦200(+-)20 ¦400(+-40) ¦

+-----------------------------------------+------------+-----------+

¦ ¦ +12 ¦+24 ¦

¦масса СО(2), гр ¦120 ¦240 ¦

+-----------------------------------------+------------+-----------+

¦Газогенератор - масса, не более, г ¦270 ¦340 ¦

+-----------------------------------------+------------+-----------+

¦Относительная огнетушащая способность ¦ ¦ ¦

¦по классификации МС ИСО3941-77 ¦ЗА21В ¦5А34В8С ¦

+-----------------------------------------+------------+-----------+

¦Габаритные размеры, не более, мм ¦460x225x175 ¦640x225x175¦

+-----------------------------------------+------------+-----------+

¦Длина шланга, не менее, мм ¦500 ¦500 ¦

+-----------------------------------------+------------+-----------+

¦Длина струи огнетушащего вещества, не ¦3, 0 ¦3, 0 ¦

¦менее, м ¦ ¦ ¦ 3, 0 4, 0

L-----------------------------------------+------------+------------

 

Приложение 3

 

Содержание и ремонт огнетушителей.

1.1. Содержание огнетушителей должно отвечать требованиям Правил устройства и безопасной эксплуатации сосудов, работающих под давлением, утвержденных Гостехнадзором, инструкций по эксплуатации, руководств или паспортов предприятий-изготовителей и другой действующей нормативно-технической документации.

1.2. К введению в эксплуатацию в вагонах допускаются только полностью заряженные и опломбированные огнетушители, снабженные биркой с указанием даты (месяц и год) зарядки и даты очередной перезарядки, контроля и технического освидетельствования. Эти данные допускается вместо бирки наносить на корпус огнетушителя с противоположной стороны насадка штемпельной краской.

1.3. Контроль и техническое освидетельствование огнетушители проходят в сроки, установленные для данного типа огнетушителя.

1.4. Огнетушители химические - пенные ОВП-5, ОХВП-10.

1.4.1. Проверка целостности мембраны спрыска производится не реже одного раза в месяц.

1.4.2. Контроль состояния заряда и антикоррозийных покрытий - один раз в год.

1.4.3. Переосвидетельствование корпуса с гидравлическими испытаниями на прочность:

1) 0, 5 МПа (5 кгс/кв.см) - через 1, 5 года после начала эксплуатации на 25% огнетушителей.

2) 1, 0 МПа (10 кгс/кв.см) - через 2 года после начала эксплуатации на 50%.

3) 2, 0 МПа (20 кгс/кв.см) - один раз в год при дальнейшей эксплуатации на 100%.

1.5. Огнетушители порошковые ОПУ-5, ОПУ-10.

1.5.1. Проверка крепления огнетушителя в кронштейне, плотности закрытия отверстия для засыпки порошка и крепления насадка-пистолета производится не реже одного раза в месяц.

1.5.2. Контроль качества порошка, массы заряда в баллончике и состояние лакокрасочных покрытий - один раз в год.

1.5.3. Переосвидетельствование корпуса с гидравлическими испытаниями на прочность - через пять лет эксплуатации.

1.6. Огнетушители углекислотные ОУ-З, ОУ-6.

1.6.1. Контроль массы заряда огнетушителей с запорно-пусковым устройством вентильного типа осуществляется не реже одного раза в три месяца.

1.6.2. Контроль массы заряда огнетушителей с запорно-пусковым устройством пистолетного типа - не реже одного раза в год.

1.6.3. Переосвидетельствование баллонов с гидравлическими испытаниями на прочность - через пять лет эксплуатации.

1.7. Укомплектование вагонов огнетушителями с истекшими сроками технического освидетельствования, а также несвоевременное переосвидетельствование огнетушителей, находящихся в эксплуатации, запрещается.

1.8. Техническое освидетельствование, а также ремонт должны выполняться в мастерских или специализированных организациях, имеющих соответствующее разрешение органов Гостехнадзора России.

1.9. Лица, имеющие непосредственное отношение к огнетушителям, должны быть обучены обращению с ними, знать и соблюдать правила техники безопасности при работе со сжатыми газами согласно Правил устройства и безопасной эксплуатации сосудов, работающих под давлением.

1.10. Ответственность за правильное содержание и своевременное техническое освидетельствование огнетушителей возлагается на главных инженеров депо (участков), о чем издается соответствующий приказ начальника депо (участка).

 

Приложение 4

 

Установка газового пожаротушения (УГП)

 

1. Руководство по эксплуатации УГП.00.00.000.РЭ

1.1. Настоящее руководство по эксплуатации объединяет в своем составе техническое описание, инструкцию по эксплуатации и инструкцию по техническому обслуживанию установки газового пожаротушения.

1.2. В руководстве приняты следующие обозначения:

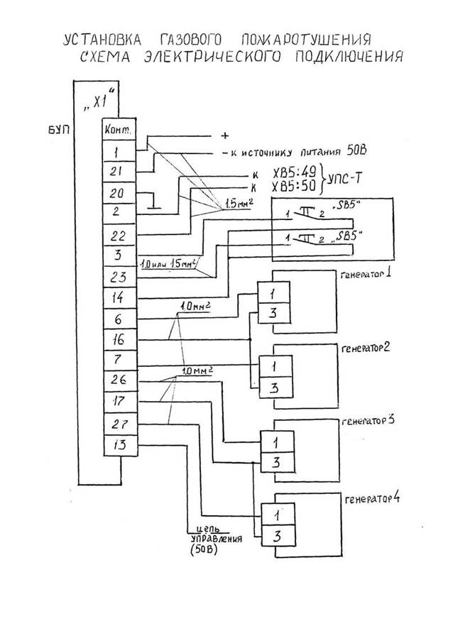
БУП - блок управления пожаротушением;

Генератор - генератор огнегасящей смеси ГОА 15-30;

ПДП - пост дистанционного пуска;

ПУВ - пульт управления вагона;

УПС-ТМ - установка пожарной сигнализации транспортного типа;

ЗИП - комплект запасных частей;

Установка - установка газового пожаротушения УГП.

 

2. Назначение установки

2.1. Установка газового пожаротушения " УГП" - УГП.00.00.000 предназначена для объемного тушения пожара в пультах управления пассажирских вагонов.

2.2. Установка обеспечивает работу в автоматическом режиме по сигналу " пожар" от УПС-ТМ или аналогичной установки.

2.3. Установка имеет климатическое исполнение УЗ по ГОСТ 15543.1-89 и ГОСТ 15150-69, группа механического исполнения М25 по ГОСТ 17516.1-90.

 

3. Технические данные установки

3.1. Установка обеспечивает тушение пожара в пульте объемом до 0, 8 куб.м/с коэффициентом герметичности до 0, 97 в течении 30 с и имеет 100%-ный запас огнетушащей смеси (вторая очередь) для дотушивания повторных возгораний.

3.2. Установка осуществляет пуск первой очереди:

1) автоматический по сигналу от установки пожарной сигнализации с задержкой 5-10 с;

2) ручной, с блока управления пожаротушением БУП и (или) с поста дистанционного пуска ПДП.

3.3. Пуск второй очереди - ручной с БУП и ПДП.

3.4. Установка обеспечивает:

1) дежурный режим работы со световой индикацией ДЕЖУРСТВО;

2) отключения автоматического пуска установки со световой индикацией АВТОПУСК ОТКЛ;

3) световую индикацию ПОЖАР при поступлении сигнала от УПС-ТМ;

4) контроль состояния цепей пиропатронов генераторов со световой индикацией НЕТ ЦЕПИ и указанием номера генератора при обрыве цепи пиропатрона;

5) контроль готовности к работе со световой индикацией ГОТОВНОСТЬ I и II ОЧЕРЕДИ;

6) световую индикацию пуска первой и второй очереди;

7) непрерывную звуковую сигнализацию об обрыве цепи пиропатрона;

8) ручное отключение звукового сигнала и автоматическое его возобновление при поступлении следующего сигнала об обрыве;

9) возможность ручной проверки работоспособности установки со световой индикацией ПРОВЕРКА при нахождении установки в данном режиме.

3.5. Напряжение питания от вагонных источников постоянного выпрямленного напряжения: (50-15, 50+20)В при допустимых пульсациях не более 80% от номинального значения с частотой пульсации от 210 до 1200 Гц при амплитудном значении напряжения не более 90 В.

Выбросы напряжения с амплитудой до 150 В длительностью до 2 мс, с амплитудой до 120 В со спадом по экспоненте в течение 1 с в переходных режимах с повторяемостью не чаще одного раза в час не вызывают потери работоспособности установки и ложных пусков.

3.6. Мощность, потребляемая установкой в дежурном режиме, не более 15 Вт, в режиме пуска - 250 Вт.

3.7. Ток в цепи подрыва пиропатронов не менее 400 мА в течение 1-3 с.

3.8. Номинальное напряжение выходной цепи управления (вентиляцией и другим технологическим оборудованием) при пуске 1 очереди - 50 В постоянного тока, максимальная мощность нагрузки в цепи управления - 10 Вт.

3.9. Тушащая композиция СТК - 24МФ генератора относится к классу IV малоопасных веществ по ГОСТ 12.1.007-89.

3.10. Установка сохраняет работоспособность:

1) при температуре окружающего воздуха от -50 до +50 град. Ц;

2) при относительной влажности окружающего воздуха до 98% при температуре плюс 25 град. Ц;

3) после транспортирования при температуре воздуха от -50 до +60 град. Ц.

3.11. Средняя наработка на отказ установки не менее 3х(10 в 4 степени)ч.

3.12. Среднее время восстановления работоспособного состояния установки с использованием ЗИП не более 1 ч.

3.13. Назначенный срок службы - 16 лет.

 

4. Состав установки

4.1. Состав установки приведен в табл. 4.1.

Таблица 4.1.

-----------------T----------------------T----------T------------

¦Обозначение ¦ Наименование ¦Количество¦Примечание ¦

+----------------+----------------------+----------+------------+

¦ТУ 4973367-09-92¦Генератор огнегасящей ¦4 ¦с 4-мя ¦

¦ ¦газодисперсной смеси ¦ ¦розетками 2Р¦

¦ ¦ГОА-15-30 ¦ ¦14БПН4Ш(В) ¦

+----------------+----------------------+----------+------------+

¦УГП 00.01.000 ¦Блок управления ¦1 ¦ ¦

¦ ¦пожаротушением БУП ¦ ¦ ¦

+----------------+----------------------+----------+------------+

¦УГП 00.02.000 ¦Пост дистанционного ¦1 ¦ ¦

¦ ¦пуска ПДП ¦ ¦ ¦

+----------------+----------------------+----------+------------+

¦ ¦ Комплект ЗИП-О: ¦ ¦

¦ ¦Вставки плавкие ОЮО 481.021 ТУ ¦ ¦

+----------------+----------------------T----------+------------+

¦ ¦ВПБ6-10Д6А ¦2 ¦ ¦

¦ ¦ВПТ6-9 1, 6А ¦4 ¦ ¦

+----------------+----------------------+----------+------------+

¦УГП 00.63.000 ¦Комплект ЗИП-Г ¦ ¦поставка по ¦

¦ ¦ ¦ ¦отдельному ¦

¦ ¦ ¦ ¦заказу ¦

L----------------+----------------------+----------+-------------

 

 

5. Устройство и работа установки

5.1. Принцип действия.

Установка обеспечивает тушение пожара в защищаемом ПУВ за счет заполнения его объема огнегасящей аэрозольной смесью. Аэрозольная смесь образуется в генераторах, входящих в состав установки, при сгорании самоактивирующейся тушащей композиции.

5.2. Описание конструкции.

Установка состоит из конструктивно законченных изделий, соединенных электромонтажом на месте эксплуатации.

Четыре генератора (рис. 5.1) размещаются в нижней части защищаемого ПУВ. Необходимая для тушения пожара концентрация аэрозольной смеси обеспечивается двумя генераторами, работающими одновременно. Два других генератора являются резервом и запускаются в случае необходимости, при повторном возгорании.

 

Основные генераторы составляют первую очередь пожаротушения, резервные - вторую.

БУП (рис. 5.2) представляет собой электронный блок в металлическом корпусе, устанавливаемый в пульт или на любую вертикальную поверхность. Электрическое соединение с другими изделиями обеспечивается с помощью разъема, расположенного на задней панели БУП. Элементы индикации и управления размещены на передней и задней панелях.

На задней панели расположены: тумблер режима работы - ДЕЖУРСТВО ОТКЛ. ПРОВЕРКА; держатели плавких вставок цепей питания - ПИТАНИЕ; держатель плавкой вставки контроля пуска.

На лицевой панели: зеленые светодиоды работы - ДЕЖУРСТВО и ПРОВЕРКА; зеленый индикатор отключения автоматического режима - АВТОПУСК ОТКЛ; тумблер включения автоматического режима - АВТОПУСК; красный светодиод ПОЖАР; красные светодиоды ПУСК I и II ОЧЕРЕДИ; зеленые светодиоды ГОТОВНОСТЬ I и II ОЧЕРЕДИ; красные светодиоды целостности цепей пуска генератора - НЕТ ЦЕПИ 1...4; красный светодиод контроль пуска; кнопка ручной проверки исправности установки - ПРОВЕРКА; кнопка отключения звукового сигнала - ОТКЛ ЗВОНКА; кнопки ПУСК ПОЖАРОТУШЕНИЯ I и II ОЧЕРЕДИ.

Для обеспечения возможности дистанционного пуска генератора в составе установки имеется ПДП (рис.5.3), представляющий собой кнопки ПУСК ПОЖАРОТУШЕНИЯ I и II ОЧЕРЕДИ, размещенные в металлическом корпусе ПДП с помощью электромонтажа соединен с БУП.

 

 

 

5.3. Описание работы установки.

5.3.1. При установке тумблера режима работы в положение ДЕЖУРСТВО на электронные узлы БУП подается напряжение питания и БУП переходит в дежурный режим, о чем свидетельствует свечение светодиода ДЕЖУРСТВО.

БУП контролирует цепь пуска каждого генератора. В случае обрыва цепи пуска (цепи пиропатрона) генератора загорается светодиод НЕТ ЦЕПИ с соответствующим номером, срабатывает звуковая сигнализация. Звуковой сигнал отключается нажатием кнопки ОТКЛ ЗВОНКА. При обрыве цепи другого генератора звуковая сигнализация включается вновь. При обрыве цепей двух генераторов одной очереди гаснет соответствующий светодиод ГОТОВНОСТЬ I или II ОЧЕРЕДИ.

Для работы установки в автоматическом режиме тумблер АВТОПУСК устанавливается в положение АВТОПУСК ВКЛ.

При срабатывании пожарных извещателей УПС-ТМ выдает сигнал " пожар", который, поступая в БУП, запускает узел временной задержки на 5-10 с. По истечении этого времени БУП подает на цепи пуска генератора первой очереди (N 1 и 2) рабочий ток, обеспечивающий подрыв пиропатрона генератора и воспламенение тушащей композиции. При получении сигнала от УПС-ТМ на БУП загорается светодиод ПОЖАР, через 5-10 с, при появлении пускового тока, загорается светодиод ПУСК I ОЧЕРЕДИ. Сгорание цепей пиропатронов вызывает загорание светодиодов НЕТ ЦЕПИ 1 и 2; гаснет светодиод ГОТОВНОСТЬ I ОЧЕРЕДИ, срабатывает звуковая сигнализация.

Ручной пуск первой очереди, при нажатии кнопки ПУСК ПОЖАРОТУШЕНИЯ I ОЧЕРЕДИ, вызывает срабатывание цепей запуска генератора без временной задержки, и светодиод ПУСК I ОЧЕРЕДИ загорается сразу после нажатия кнопки. Срабатывание пиропатронов генераторов вызывает индикацию и звуковую сигнализацию, как и при работе в автоматическом режиме.

Одновременно с запуском генераторов первой очереди БУП обеспечивает выходной сигнал напряжением 50 В постоянного тока для управления технологическим оборудованием и, в частности, для отключения вентиляции.

Пуск генераторов второй очереди только ручной - при нажатии кнопки ПУСК ПОЖАРОТУШЕНИЯ II ОЧЕРЕДИ. Запуск генераторов, индикация и звуковая сигнализация аналогичны описанной для первой очереди.

Дистанционный пуск установки с ПДП обеспечивается замыкающими контактами кнопок, подключенными параллельно замыкающим контактам одноименных кнопок ПУСК ПОЖАРОТУШЕНИЯ на БУП. Запуск установки в ПДП полностью идентичен запуску с БУП.

Для контроля пуска установки на задней панели БУП под скобой установлен держатель плавкой вставки, на передней панели – красный светодиод КОНТРОЛЬ ПУСКА. При ручном или автоматическом запуске генераторов перегорает плавкая вставка и загорается светодиод. Таким образом, фиксируется санкционированный запуск генераторов. Пуск генераторов не от цепей запуска БУП (при целостности плавкой вставки) свидетельствует о самопроизвольном срабатывании генераторов.

5.3.2. При установке тумблера режима работы в положение ПРОВЕРКА разрывается цепь, подающая питание на генераторы, загорается светодиод проверка, а БУП переходит в режим проверки.

При нажатии кнопки ПРОВЕРКА напряжение питания подается на узел временной задержки пуска первой очереди, узел пуска второй очереди, включение звуковой сигнализации, узлы контроля цепей пуска генераторов. Загораются светодиоды ПОЖАР, ПУСК II ОЧЕРЕДИ, НЕТ ЦЕПИ 1... 4 ДЕЖУРСТВО, звенит звонок. Через 5 - 10 с загорается светодиод ПУСК I ОЧЕРЕДИ.

При отпускании кнопки ПРОВЕРКА светится только светодиод ПРОВЕРКА.

5.3.3. При нахождении тумблера режима работы в положении ОТКЛ напряжение питания снято со всех составных частей установки.

 

6. Устройство и работа составных частей установки

6.1. Генератор состоит из стальной трубы, один конец которой заглушен, а на другом конце установлен пиропатрон, который поджигает при срабатывании самоактивирующуюся тушащую композицию, расположенную внутри трубы. Для выхода огнегасящей смеси по периметру и длине трубы имеются отверстия. Генератор крепится в ПУВ с помощью хомутов.

6.2. Винт крепления задней панели БУП опломбирован на заводе-изготовителе и в процессе работы для персонала доступны только тумблеры и держатели плавких вставок.

Кнопки ПУСК ПОЖАРОТУШЕНИЯ расположены под крышкой с пломбой, что обеспечивает защиту от их случайного нажатия.

6.3. Кнопки ПДП установлены внутри корпуса, закрывающегося крышкой. Нажать на кнопку можно только сорвав пломбу и открыв крышку ПДП.

6.4. Электрическое соединение составных частей установки между собой и с другими элементами электрооборудования осуществляется в соответствии с приложением 1.

 

7. Общие указания по эксплуатации установки

7.1. Длительная и безотказная работа установки и ее составных частей может быть обеспечена при условии соблюдения правил эксплуатации.

7.2. Установка, находящаяся в эксплуатации, должна поддерживаться в исправном состоянии.

7.3. В период эксплуатации должно быть организовано своевременное и качественное проведение проверок технического состояния установки в соответствии с требованиями разделов 12, 14.

7.4. Запрещается уменьшать объем и изменять порядок выполнения операций.

7.5. Неисправности, выявленные при техническом обслуживании, должны быть устранены, неисправные элементы заменены новыми из комплекта ЗИП. После устранения неисправностей или замены элементов необходимо проверить установку на функционирование.

7.6. Запрещается:

- эксплуатировать установку без наличий пломб в соответствии с приложением 2;

- эксплуатировать электрооборудование без проведения очередного технического обслуживания;

- выполнять последующие операции при появлении неисправностей до выявления и устранения причин, их вызывающих.

7.7. Обслуживающий персонал обязан:

- немедленно докладывать начальнику поезда или поездному электромеханику обо всех неисправностях установки;

- соблюдать меры безопасности, изложенные в разделе 9.

7.8. Изготовитель оставляет за собой право вносить в конструкцию и принципиальную электрическую схему установки изменения, не имеющие принципиального характера.

 

8. Указание мер безопасности

8.1. К работе с установкой допускаются лица, изучившие настоящую инструкцию и имеющие квалификационную группу по электробезопасности не ниже III.

8.2. При работе с генераторами огнегасящей смеси запрещается:

1) подвергать генераторы механическим воздействиям (удар, падение);

2) разбирать генераторы;

3) присутствовать на рабочем месте посторонним лицам;

4) курить, пользоваться огнем, нагревательными приборами;

5) устанавливать генератор в незаземленный или с неисправным заземлением ПУВ;

6) состыковывать с генератором штепсельный соединитель, находящийся под напряжением, и подавать напряжение на цепи пиропатрона генератора.

8.3. При работе с электрооборудованием и электрическими приборами необходимо:

1) всю работу по осмотру и ремонту оборудования установки производить только при отключенном электропитании;

2) строго соблюдать технологию выполнения операций;

3) перед открытием дверок ПУВ выключать тумблер АВТОПУСК.

8.4. Особая осторожность при работе с установкой требуется при выполнении следующих операций:

1) замена генераторов (снятие и установка);

2) подключение проводов и кабелей, которые могут оказаться под напряжением.

8.5. Запрещается использование плавких вставок, не соответствующих номиналу.

8.6. При пуске установки концентрация вредных веществ не представляет опасности для человека, но обладает слабо выраженным быстро проходящим раздражающим действием на кожу и слизистую оболочку, вызывает слезотечение, резь в глазах, першение в горле.

Для предотвращения распространения аэрозольной тушащей смеси в вагоне (или другом помещении) при пуске установки должна отключаться вентиляция.

8.7. Наибольшие концентрации аэрозольной смеси создаются в служебном купе и купе проводника в первые 5 мин. после установки. В дальнейшем тушащая дисперсная смесь быстро оседает в виде порошка. Проветривание после пуска установки следует проводить до исчезновения в воздухе непрозрачной аэрозоли.

 

9. Подготовка установки к работе

9.1. Проверить работоспособность установки в следующем порядке:

9.1.1. Установить тумблер ДЕЖУРСТВО ОТКЛ ПРОВЕРКА в положение ПРОВЕРКА.

На лицевой панели БУП должен загореться светодиод ПРОВЕРКА.

9.1.2. Нажать и удерживать кнопку ПРОВЕРКА. Должны загораться светодиоды ПОЖАР, ПУСК II ОЧЕРЕДИ, АВТОПУСК ОТКЛ, НЕТ ЦЕПИ 1, 2, 3, 4; ДЕЖУРСТВО. Должен работать звонок. Через 5-10 с должен загореться светодиод ПУСК I ОЧЕРЕДИ, после чего отпустить кнопку ПРОВЕРКА.

9.1.3. Установить тумблер ДЕЖУРСТВО ОТКЛ ПРОВЕРКА в положение ОТКЛ. Тумблер АВТОПУСК должен быть выключен.9.2. Отключить питание ПУВ. Открыть лицевую дверь ПУВ, отстыковать от генераторов ответные части разъемов.

На задней панели БУП снять крышку, закрывающую держатель плавкой вставки.

Вынуть плавкую вставку.

Тумблер ДЕЖУРСТВО ОТКЛ ПРОВЕРКА установить в положение ДЕЖУРСТВО.

9.3. Проверить функционирование установки в следующем порядке.

9.3.1. Включить питание ПУВ. На БУП должны загореться светодиоды ДЕЖУРСТВО, АВТОПУСК ОТКЛ, НЕТ ЦЕПИ 1, 2, 3, 4. Должен звенеть звонок. Для отключения звукового сигнала нажать кнопку ОТКЛ ЗВОНКА.

9.3.2. Нажать на БУП кнопку ПУСК ПОЖАРОТУШЕНИЯ I ОЧЕРЕДИ. Должны загораться светодиод ПУСК I ОЧЕРЕДИ и светодиод КОНТРОЛЬ ПУСКА.

Переводом тумблера ДЕЖУРСТВО ОТКЛ ПРОВЕРКА в положение ОТКЛ отключить сигнализацию.

9.3.3. Тумблер ДЕЖУРСТВО ОТКЛ ПРОВЕРКА поставить в положение ДЕЖУРСТВО.

Световая и звуковая сигнализация должна соответствовать п. 10.3.1.

9.3.4. Нажать на БУП кнопку ПУСК ПОЖАРОТУШЕНИЯ II ОЧЕРЕДИ. Должны загореться светодиод ПУСК II ОЧЕРЕДИ и светодиод КОНТРОЛЬ ПУСКА.

Переводом тумблера ДЕЖУРСТВО ОТКЛ ПРОВЕРКА в положение ОТКЛ отключить сигнализацию.

9.3.5. Проверить работоспособность установки от ПДП по методике, изложенной в п.п. 10.3.1. - 10.3.4., нажимая кнопки ПУСК ПОЖАРОТУШЕНИЯ на ПДП. Характер сигнализации должен соответствовать описанному в данных пунктах.

9.3.6. На БУП поставить тумблер ДЕЖУРСТВО ОТКЛ ПРОВЕРКА в положение ДЕЖУРСТВО, тумблер АВТОПУСК - в положение ВКЛ. Должны гореть светодиоды ДЕЖУРСТВО, НЕТ ЦЕПИ 1, 2, 3, 4.

9.3.7. Проверить работоспособность БУП в автоматическом режиме, для этого вызвать срабатывание УПС-ТМ от пожарных извещателей, контролирующих надпультовое пространство. После срабатывания УПС-ТМ на БУП должен загореться светодиод ПОЖАР, через 5-10 с должны загореться светодиоды ПУСК I ОЧЕРЕДИ, КОНТРОЛЬ ПУСКА.

9.4. На БУП поставить тумблер ДЕЖУРСТВО ОТКЛ ПРОВЕРКА в положение ОТКЛ, тумблер АВТОПУСК выключен.

9.5. Снять питание с ПУВ. Установить на задней стенке БУП снятую (см. п. 10.2) плавкую вставку, держатель предохранителя закрыть крышкой, опломбировать.

9.6. Закрыть и опломбировать крышки кнопок пуска пожаротушения на БУП и ПДП.

9.7. Состыковать разъемы генераторов в соответствии с маркировкой.

9.8. Тумблер ДЕЖУРСТВО ОТКЛ ПРОВЕРКА установить в положение ДЕЖУРСТВО.

Подать питание на ПУВ. На БУП должны загореться светодиоды ДЕЖУРСТВО, ГОТОВНОСТЬ I и II ОЧЕРЕДИ, АВТОПУСК ОТКЛ.

Установить тумблер ДЕЖУРСТВО ОТКЛ ПРОВЕРКА в положение ОТКЛ.

9.9. Снять питание с ПУВ. Опломбировать разъемы генераторов.

 

10. Порядок работы установки

10.1. Установка имеет следующие режимы работы:

1) дежурный;

2) рабочий.

10.2. Дежурный режим обеспечивает состояние готовности к пуску огнегасящей смеси.

10.2.1. Дежурный режим работы необходимо устанавливать в следующем порядке:

1) визуально проверить наличие пломб в соответствии с приложением 2;

2) тумблер ДЕЖУРСТВО ОТКЛ ПРОВЕРКА установить в положение ДЕЖУРСТВО;

3) тумблер АВТОПУСК поставить в положение АВТОПУСК ВКЛ.

10.2.2. В дежурном режиме на БУП должны гореть следующие светодиоды: ДЕЖУРСТВО, ГОТОВНОСТЬ I и II ОЧЕРЕДИ.

10.3. Рабочий режим установки представляет собой режим пуска генераторов.

10.3.1. Автоматический пуск установки происходит при поступлении сигнала о пожаре от УПС-ТМ, при этом на БУП загорается светодиод ПОЖАР, а через 5-10 с загорается светодиод ПУСК I ОЧЕРЕДИ, срабатывание генераторов первой очереди фиксируется по загоранию светодиодов НЕТ ЦЕПИ 1, 2. Гаснет светодиод ГОТОВНОСТЬ I ОЧЕРЕДИ, звенит звонок, который можно отключить нажатием кнопки ОТКЛ ЗВОНКА.

10.3.2. Ручной запуск первой очереди осуществляется нажатием кнопки ПУСК ПОЖАРОТУШЕНИЯ I ОЧЕРЕДИ на БУП или ПДП, для чего срывается пломба и открывается крышка, закрывающая кнопки.

После нажатия кнопки загораются светодиоды ПУСК I ОЧЕРЕДИ, НЕТ ЦЕПИ 1, 2. Гаснет светодиод ГОТОВНОСТЬ I ОЧЕРЕДИ, звенит звонок.

10.3.3. Если после первой очереди пожар не ликвидирован (из щелей и вентиляционных решеток пульта выбивается пламя или черный дым), производится пуск второй очереди нажатием соответствующей кнопки на БУП или ПДП. При этом срабатывает звуковая сигнализация, загораются светодиоды ПУСК II ОЧЕРЕДИ, НЕТ ЦЕПИ 3, 4, гаснет светодиод ГОТОВНОСТЬ II ОЧЕРЕДИ.

10.4. После ликвидации пожара необходимо в течение 0, 5 часа провентилировать купе и убедиться в отсутствии дыма в месте установки пожарных извещателей (надпультовое пространство).

10.5. Восстановление установки производить в следующем порядке.

10.5.1. Установить тумблер ДЕЖУРСТВО ОТКЛ ПРОВЕРКА в положение ОТКЛ и выключить тумблер АВТОПУСК.

10.5.2. На обесточенном ПУВ провести визуальный осмотр состояния электромонтажа.

Восстановление установки выполнять только при целостности электромонтажа ПУВ.

Дисперсную смесь в пульте управления собрать пылесосом, контакты очистить протиркой ветошью смоченной небольшим количеством нефраса.

10.5.3. Отстыковать разъемы у сработавших генераторов, отвинтить крепления хомутов, генераторы снять и заменить на новые, проверив предварительно наличие у них пломб. Подключить ответные части разъемов.

10.5.4. Тумблер ДЕЖУРСТВО ОТКЛ ПРОВЕРКА поставить в положение ДЕЖУРСТВО, тумблер АВТОПУСК выключен. Подать питание на ПУВ. На БУП должны загораться светодиоды ДЕЖУРСТВО, ГОТОВНОСТЬ I и II ОЧЕРЕДИ, АВТОПУСК ОТКЛ.

Тумблер ДЕЖУРСТВО ОТКЛ ПРОВЕРКА установить в положение ОТКЛ.

10.5.5. Снять питание с ПУВ. Опломбировать разъемы вновь установленных генераторов и крышки ПДП или БУП, откуда осуществляется ручной пуск.

10.5.6. На задней стенке БУП снять крышку и заменить плавкую вставку контроля пуска новой из состава ЗИП (0, 16А). Крышку установить на место и опломбировать винт.

10.5.7. Проверить работоспособность установки по п.п. 10.1.1. - 10.1.2.

 

11. Проверка технического состояния установки

11.1. Установка обеспечивает в дежурном и рабочем режимах непрерывный контроль цепей генераторов с выдачей световой индикации ГОТОВНОСТЬ I и II ОЧЕРЕДИ.

Обрыв цепи генераторов индицируется с указанием номера неисправной цепи - НЕТ ЦЕПИ 1...4.

11.2. Проверка технического состояния цепей световой индикации установки, цепей временной задержки и пуска, звуковой сигнализации выполняется в ручном режиме при установке тумблера ДЕЖУРСТВО ОТКЛ ПРОВЕРКА в положение ПРОВЕРКА.

Проверку в ручном режиме технического состояния установки выполнять согласно п.п. 10.1.1., 10.1.2. настоящей Инструкции.

 

12. Возможные неисправности и способы их устранения

12.1. При появлении неисправности в работе установки необходимо прежде всего установить ее причину (обрыв проводов, неисправность контактных соединений и др.).

12.2. В процессе эксплуатации установки возможна только замена плавких вставок, замена БУП производится в условиях ремонта и силами ремонтной бригады.

12.3. Возможные неисправности и методы их устранения приведены в табл. 12.1.

 

Таблица 12.1.

--------------------------T-------------T------------T-----------

¦ Наименование ¦ Вероятная ¦ Способ ¦ Примечание¦

¦ неисправности, внешнее ¦ причина ¦ устранения ¦ ¦

¦ проявление и ¦ ¦ ¦ ¦

¦ дополнительные признаки ¦ ¦ ¦ ¦

+-------------------------+-------------+------------+-----------+

¦ На БУП погасли ¦ Перегорела ¦ Заменить ¦ ¦

¦ светодиоды, при переводе¦ плавкая ¦ плавкую ¦ ¦

¦ в режим " Проверка" ¦ вставка ¦ вставку ¦ ¦

¦ светодиод ПРОВЕРКА не ¦ ПИТАНИЕ ¦ ¦ ¦

¦ загорается ¦ ¦ ¦ ¦

L-------------------------+-------------+------------+------------

 

13. Техническое обслуживание установки

13.1. При проведении технического обслуживания должны соблюдаться меры безопасности, изложенные в разделе 9 настоящей Инструкции.

13.2. Для установки предусмотрены следующие виды технического обслуживания:

1) ежедневный технический осмотр - ТО1;

2) технический осмотр в пунктах формирования и оборота поезда перед отправлением в рейс - ТО2;

3) техническая ревизия (через каждые 6 месяцев) - ТР.

13.3. Техническое обслуживание проводить в объеме и последовательности, изложенной в табл. 13.1.

 

Таблица 13.1

----------------------------------------T------------------------

¦ Что проверяется и при помощи какого ¦ ¦

¦ инструмента, приборов и оборудования. ¦ Технические требования ¦

¦ Методика проверки ¦ ¦

+---------------------------------------+------------------------+

¦ Технический осмотр ТО1 ¦

+---------------------------------------T------------------------+

¦ 1. Внешний осмотр и очистка от пыли и ¦ Отсутствие внешних ¦

¦ грязи наружных поверхностей БУП и ПДП.¦ повреждений ¦

¦ Материал: ветошь ¦ ¦

+---------------------------------------+------------------------+

¦ 2. Визуальная проверка исправного ¦ На БУП должны гореть ¦

¦ состояния установки в дежурном режиме ¦ светодиоды " Дежурство", ¦

¦ ¦ " Готовность 1 и 2 ¦

¦ ¦ очереди" ¦

+---------------------------------------+------------------------+

¦ Технический осмотр ТО2 ¦

+---------------------------------------T------------------------+

¦ 1. Выполнить работы по п.1 ТО1 ¦ п.1 ТО1 ¦

+---------------------------------------+------------------------+

¦ 2. Внешний осмотр и очистка от пыли ¦ Отсутствие видимых ¦

¦ и грязи составных частей установки. ¦ повреждений оплетки ¦

¦ Материал: ветошь ¦ кабелей и разъемов ¦

+---------------------------------------+------------------------+

¦ 3. Внешний осмотр и проверка ¦ В соответствии с ¦

¦ целостности пломб ¦ перечнем приложения 2 ¦

+---------------------------------------+------------------------+

¦ 4. Ручная проверка исправного ¦ Сигнализация и ¦

¦ состояния установки по методике, ¦ индикация согласно ¦

¦ изложенной в пп.10.1.1., 10.1.2. ¦ пп.10.1.1., 10.1.2. ¦

+---------------------------------------+------------------------+

¦ 5. Проверка состояния установки по ¦ п.2 ТО1 ¦

¦ методике п.2 ТО1 ¦ ¦

+---------------------------------------+------------------------+

¦ Технический осмотр ТР ¦

+---------------------------------------T------------------------+

¦ 1. Выполнить работы по пп.1-3 ТО2 ¦ пп.1-3 ТО2 ¦

+---------------------------------------+------------------------+

¦ 2. Проверка надежности крепления ¦ Отсутствие ослабления ¦

¦ оборудования установки. ¦ крепления ¦

¦ Инструмент: отвертка ¦ ¦

+---------------------------------------+------------------------+

¦ 3. Проверка состояния плавких ¦ Отсутствие следов ¦

¦ вставок, контактов держателей и ¦ окисления контактов ¦

¦ при необходимости, промывка ¦ ¦

¦ контактов спиртом. ¦ ¦

¦ Прибор: Ц4352 ¦ ¦

¦ Материалы: спирт этиловый ¦ ¦

¦ реактификованный, ветошь ¦ ¦

+---------------------------------------+------------------------+

¦ 4. Проверка лакокрасочных ¦ Отсутствие сколов и ¦

¦ покрытий оборудования установки. ¦ повреждений ¦

¦ При необходимости, восстановления ¦ лакокрасочных покрытий ¦

¦ покрытия. ¦ ¦

¦ Инструмент: кисть филенчатая ¦ ¦

¦ Материал: шкурка шлифовальная, нефрас, ¦ ¦

¦ ветошь, эмаль ПФ-115 ¦ ¦

+---------------------------------------+------------------------+

¦ 5. Ручная проверка состояния установки¦ Индикция и ¦

¦ по методике п. 10.1.1, 10.1.2. ¦ сигнализация согласно ¦

¦ ¦ п.10.1.1., 10.1.2 ¦

+---------------------------------------+------------------------+

¦ 6. Проверка состояния установки по ¦ п.2 ТО1 ¦

¦ методике п.2 ТО1 ¦ ¦

L---------------------------------------+-------------------------

 

13.4. Расход спирта этилового реактификованного ГОСТ 18300 - 0, 05 л на одну техническую ревизию установки.

Перечень опломбированных мест, подлежащих контролю.

----------------T----------------T------------T-----T--------------

¦Обозначение ¦Наименование ¦Место ¦Кол- ¦Место ¦

¦опломбированной¦опломбированной ¦установки ¦во ¦расположения ¦

¦сборочной ¦сборочной ¦сборочной ¦пломб¦пломб ¦

¦единицы ¦единицы ¦единицы ¦ ¦ ¦

+---------------+----------------+------------+-----+--------------+

¦ 1. Перечень пломб предприятия-изготовителя, не ¦

¦ снимаемых при эксплуатации ¦

+---------------T----------------T------------T-----T--------------+

¦11.60.00.000 ¦Генератор ¦Нижняя ¦8 ¦Специальное ¦

¦ ¦огнегасящей ¦часть ¦ ¦ушко и ¦

¦ ¦смеси ¦пульта ¦ ¦отверстие на ¦

¦ ¦ГОА-15-30 ¦управления ¦1 ¦генераторах ¦

+---------------+----------------+------------+-----+--------------+

¦УГП 00.01.000 ¦БУП ¦Панель ¦1 ¦Винт крепления¦

¦ ¦ ¦ПУВ ¦ ¦задней панели ¦

+---------------+----------------+------------+-----+--------------+

¦ 2. Перечень пломб, устанавливаемых при эксплуатации ¦

+---------------T----------------T------------T-----T--------------+

¦11.60.00.000 ¦Генератор ¦Нижняя ¦4 ¦Разъем ¦

¦ ¦огнегасящей ¦часть ¦ ¦ ¦

¦ ¦смеси ¦пульта ¦ ¦ ¦

¦ ¦ГОА-15-30 ¦управления ¦ ¦ ¦

+---------------+----------------+------------+-----+--------------+

¦УГП 00.01.000 ¦БУП ¦Панель ¦1 ¦Крышка над ¦

¦ ¦ ¦ПУВ ¦ ¦кнопками ¦

+---------------+----------------+------------+-----+--------------+

¦УГП 00.01.000 ¦БУП ¦Панель ¦1 ¦Крышка над ¦

¦ ¦ ¦ПУВ ¦ ¦держателем ВП ¦

+---------------+----------------+------------+-----+--------------+

¦УГП 00.02.000 ¦Пост ¦Помещение ¦1 ¦Крышка ¦

¦ ¦дистанционного ¦по п. 7.4 ¦ ¦ ¦

¦ ¦пуска ПДП ¦ ¦ ¦ ¦

L---------------+----------------+------------+-----+---------------

 

 

Приложение 5

 


Поделиться с друзьями:

mylektsii.su - Мои Лекции - 2015-2026 год. (1.306 сек.)Все материалы представленные на сайте исключительно с целью ознакомления читателями и не преследуют коммерческих целей или нарушение авторских прав Пожаловаться на материал