Студопедия

Главная страница Случайная страница

КАТЕГОРИИ:

АвтомобилиАстрономияБиологияГеографияДом и садДругие языкиДругоеИнформатикаИсторияКультураЛитератураЛогикаМатематикаМедицинаМеталлургияМеханикаОбразованиеОхрана трудаПедагогикаПолитикаПравоПсихологияРелигияРиторикаСоциологияСпортСтроительствоТехнологияТуризмФизикаФилософияФинансыХимияЧерчениеЭкологияЭкономикаЭлектроника






Устройство магнитных компасов






Конструктивно МК в значительной степени схожи, поэтому устрой­ство отдельных его узлов рассмотрим на примере компаса КМО-Т.

Котелок компаса (рис. 1.) состоит из корпуса, сверху и снизу закры­того прозрачными стеклянными крышками 1 и 2. Внутренняя полость котелка разделена стеклянным диском 3 на две части (камеры) – верхнюю 6 и нижнюю 9. В верхней части находится картушка 10 и шпилька 5. Магнитная система картушки состоит из трех пар стержневых маг­нитов 3. Градусные деления, цифры и обозначения выполнены в виде сквоз­ных отверстий (просечек) в шкале картушки.

На азимутальном кольце 14 котелка, прижимающем верхнюю стеклянную крышку, нанесены гра­дусные деления азимутального круга. Котелок заполнен компасной жидко­стью, которая представляет собой 64% водный раствор гидролизного технического спирта. На диске 3 закреплена колонка 4, в которую ввинчивается шпилька, а на её остриё топкой опирается картушка. По периметру камеры котелка к корпусу прикреплен кольцевой экран 11. В пространство между корпусом и экра­ном могут быть удалены пузырьки воздуха. Для удаления пузырьков нужно повернуть котелок на бок и подогнать пузырек к отверстию, имеющемуся в нижней части экрана.

 

Для отсчета курса по шкале картушки служит прикрепленный к внутренней стенке экрана индекс, выполненный в виде уголка с прорезью - курсовой чертой.

В нижней части котелка имеется диафрагма, которая находится между дном и диском 3 и обеспечивает компенсацию изменения объема жидкости при изменении температуры. Отверстие с винтовой пробкой для доливки в котелок компасной жидкости расположено на боковой стенке корпуса.

Шпилька ввинчивается через закрываемое пробкой донное отверстие во втулку 8 в стеклянном диске 3.

В верхней части на компас устанавливаются пеленгаторы. Они служат для пеленгования предметов и небесных светил с целью определения места судна, оценки поправки компаса и решения ряда других задач. С помощью пеленгаторов определяют также курсовые углы ориентиров.

Пеленгование можно осуществлять как непосредственно с котелка магнитного компаса, так и с репитеров для пеленгования. В первом случае, как правило, снимается отсчёт обратного пеленга, т.е. пеленга с ориентира на судно. Этот пеленг отличается от прямого на 1800. С репитеров для пеленгования (общих для гирокомпасов и МК) при наличии дополнительной зеркальной шкалы, сдвинутой относительно основной на угол 1800, снимаются значения прямого пеленга на ориентир.

Пеленгаторы могут отличаться друг от друга размерами, конструктивными особенностями, но все они имеют основание 7 (рис. 2), глазную мишень 4, предметную мишень 2, зеркало 1 для пеленгования небесных светил, расположенных на высоте более 200, и набор светофильтров 3, используемых для пеленгования Солнца. В комплект пеленгаторов, предназначенных для пеленгования с котелка компаса, входит перемычка 6 с чашкой 8, на которой устанавливаются приборы при проведении девиационных работ.

Глазная мишень представляет собой планку с широкой вертикальной прорезью. Через эту прорезь можно наблюдать предметы при плохой видимости. При пеленговании днем прорезь прикрывают откидной шторкой с узкой щелью.

На планку надета каретка, несущая трехгранную призму 5 в металлической оправе, которая обеспечивает небольшое увеличение изображения делений картушки. Через призму снимают отсчет обратного магнитного пеленга.

На съемном мостике находится чашка, на которую устанавливают дефлектор – прибор, используемый при проведении девиационных работ, имеющих своей целью уменьшение ошибок компаса. Мостик закрепляется на компасе двумя гачками 9. Чашка выполнена в форме цилиндра с фланцем, в которых проточены три отверстия для крепежных винтов. В цилиндрическую часть чашки ввинчен горизонтальный направляющий штифт, позволяющий правильно ориентировать дефлектор относительно визирной плоскости пеленгатора.

На пеленгаторе имеется индекс 10 для его ориентации относительно азимутальной шкалы компаса. Этот индекс смещен, как и азимутальная шкала, на 300 относительно визирной плоскости пеленгатора.

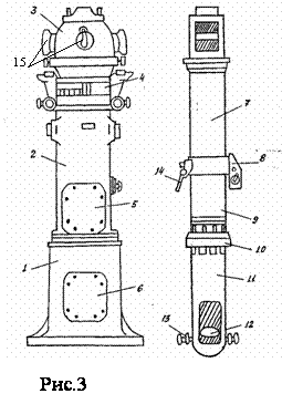
Нактоуз компаса (рис. 3), изготовленный из немагнитного сплава, со­стоит из основания 1 и корпуса 2. В нактоузе под колпаком 3 помещен котелок, а в его корпусе размещаются девиационный прибор, девиационная труба, специальное железо и элементы оптиче­ской системы. Нактоуз имеет в кормовой стороне два прямоугольных ок­на 5 и 6, закрываемых крышками: верхнее для доступа к девиационному прибо­ру, нижнее - для доступа к разъемам кабелей питания и элементам оптиче­ской системы. Окно с носовой стороны (на рисунке не показано) служит для доступа к верхней лин­зе оптической системы.

В верхней части колпака 3 на­ходится защитное стекло, которое имеет съемную предохранительную крышку. Четыре окна 15 с откидными крышками в колпаке используются для работы с пеленгатором при осадках.

Внутри нактоуза находится девиационный прибор. К нему относятся магниты для уничтожения полукруговой деви­ации и креновой магнит с уст­ройствами для изменения их по­ложения.

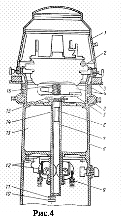
Магниты, создающие продоль­ную и поперечную силу, закреп­лены на шестернях 12 (рис. 4) с ручным при­водом. Две шестерни с двумя маг­нитами для создания продольной силы расположены в ДП судна. Они одновременно поворачиваются на равные углы во встречных на­правлениях вокруг горизонтальной оси с помощью рукоятки, на кото­рой нанесена буква В..

Точно таким же образом уст­роено приспособление для поворо­та вокруг горизонтальной оси тех двух магнитов, которые предназна­чены для компенсации поперечной судовой силы, вызывающей полукруговую девиацию. Эти магниты, так же как и несущие их шестерни, расположены перпендикулярно ДП. Рукоятка для их вращения обо­значена буквой С. В отдельных случаях в нактоуз в ДП судна и перпендикулярно ДП устанавливаются дополнительные магниты 9. Их закрепляют в гори­зонтальном положении в гнездах вблизи основных магнитов.

Магнит 6, с помощью которого уничтожают креновую девиа­цию, находится в трубе 7 девиационного прибора в латунной оп­раве. Чтобы обеспечить переме­щение кренового магнита в вер­тикальном направлении, внутри трубы помещен стержень 14 с резь­бой. Вращая головку стержня за рукоятку 10, можно перемещать магнит вверх или вниз и устанавливать его на требуемом расстоянии от кар­тушки. После установки положение магнита фиксируется контрагайкой 11.

Четвертную девиацию ком­паса КМО-Т уничтожают с по­мощью четырех продольных брусков 3 и одной или двух попе­речных индукционных пластин 15. Бруски устанавливают на крон­штейнах 4 и в гнездах хомута немного ниже уровня стрелок картушки. Два бруска имеют прямоугольное сечение, а два дру­гих — круглое. Хомут с брусками может быть повернут на опреде­ленный угол относительно ДП, чем обеспечивается одновременное уничтожение обоих составляющих четвертной девиации. В нактоузе под котелком предусмотрено место 13 для компенсатора электромагнитной девиации.

Оптическая система (рис. 3) передает изображение шкалы картушки, поэтому рулевой видит светлые деления на темном фоне. В ночное время картушка подсвечивается снизу лампами, и рулевой видит на светлом фоне темное изображение делений картушки.

Труба оптического тракта состоит из трех секций: неподвижной 7 и двух выдвижных. Неподвижная секция крепится болтами к основанию нактоуза. Верхняя выдвижная секция 9 может перемещаться вверх и вниз, а нижняя 11 -также и разворачиваться вокруг оси.

При установке компаса на судне нактоуз размещается на верхнем мостике. Труба оптической системы через отверстие в палубном настиле и подволоке пропускается в рубку. Компас имеет прибор питания для его освещения и обогрева.

Оптическая схема системы представлена на рис. 5.Онасостоит из осветительной лампы 2, защитного стекла 3, двух линз (верхняя 4, нижняя 6)обогреваемого стекла 7 и зеркала 9. Некоторые из перечисленных деталей расположены в нактоузе 5, а некоторые — в металлической трубе под ним.

Как показано на рисунке, на зеркало проектируется световой пучок от освещенного лампочкой сектора нижней стороны картушки 1. Поэтому изображение шкалы в зеркале отражается в наи­более удобном для наблюдателя виде — значения градусных деле­ний и оцифровка читаются слева направо.

В качестве примера выполнения конструкции прибора на рис. 6 показана верхняя часть нактоуза МК “Сектор”. Здесь, котелок 1 совместно с кардановым подвесом установлен в нактоузе 2 с помощью пружин 6, предохраняющих его от влияния вибрации и ударов. Котелок снабжен пеленгатором 3. С помощью шкал 4 и 5 измеряются курс судна и курсовые углы ориентиров, соответственно. Как уже было указано выше, бруски 7 и 8 используются для компенсации девиации МК.

Рассмотренный вариант устройства котелка МК является типовым. Однако наряду с ним применяются и другие конструктивные варианты. Так, с целью снижения влияния качки судна на работу компаса в ряде изделий, например, в компасе КМ-145 (рис. 7), поплавок 1 снабжается дополнительным кожухом 2, сообщающимся с рабочей камерой котелка, в результате чего он оказывается заполненным поддерживающей жидкостью 3. Наличие указанного кожуха приводит к увеличению периода собственных колебаний подвижной системы компаса, что положительно сказывается на его работе.

В компасах для маломерных судов “Галс” (рис. 8) картушка 2, включающая в себя два магнита 1, не имеет поплавка. Шкалы с ценой деления 50 нанесены на ее внешней горизонтальной 3 и боковой цилиндрической 4 поверхностях. Элементы опорного устройства, входящие в состав картушки, включают в себя корундовый подпятник и коническую деталь, предохраняющую ее от боковых перемещений. В корпус картушки вставлен упор-указатель 5, с шариком на свободном конце, служащий для предотвращения ее вертикального перемещения и одновременно играющий роль указателя крена и дифферента судна. Последнее возможно потому, что картушка обладает свойствами физического маятника.

Магнитный компас КМС 160 (компас магнитный сферический) предназначен для установки на стол пульта в ходовой рубке судна и это определяет особенности его конструкции. Магнитная система картушки (рис. 9) содержит 4стержневых магнита диаметром 3 мм, выполненных из сплава 52 КФТМ. Два средних магнита имеют длину 75 мм, а два крайних – 55 мм. Диаметр шкалы картушки составляет 125 мм, ее цена деления – 10. Остаточный вес картушки в жидкости ПМС-5 составляет 0, 035 Н.

Картушка устанавливается на шпильке (рис. 10), которая ввинчивается во внутреннюю рамку 1 карданового подвеса. Опоры наружного кольца 3 карданового подвеса устанавливаются в корпусе 4 котелка компаса. Груз 5 обеспечивает вертикальность оси шпильки в процессе качки судна.

Рабочая камера котелка закрыта сверху прозрачной полусферической крышкой 6 и полностью заполнена жидкостью ПМС-5. Вследствие этого возникает увеличение изображения шкалы и ее видимый диаметр возрастает до 160 мм.

В нижней стенке корпуса имеется отверстие 7, соединяющее рабочую камеру с компенсационной камерой. В компенсационной камере воздушный объем отделен от жидкости эластичной диафрагмой 8. Колебания жидкости, вызванные механическими воздействиями на компас, гасятся чашкой 9 и экраном 10. В центре дна котелка имеется отверстие, закрытое пробкой 11, для заполнения котелка жидкостью. Ко дну котелка может крепиться девиационный прибор.

Не все компасы устанавливаются в нактоузе. Чаще всего это имеет место у компасов, предназначенных для использования на маломерных судах. К ним относится упомянутые выше компас – горизонт «Галс» (рис. 11), устанавливаемый непосредственно в пульте рулевой рубки и компас КМС-160. Первый не имеет устройств для компенсации влияния судового магнитного поля, второй имеет указанные компенсаторы.

В последнее время в картушках МК стали использоваться не стержневые, а кольцевые магниты. Один из конструктивных вариантов такой картушки показан на рис. 12.

Чувствительный элемент состоит из корпуса 1 с кольцевым магнитом 2, имеющим наружный диаметр 52 мм, диаметр отверстия 20 мм и толщину 1 мм. Магнит изготовлен из специального сплава и намагничен в однородном магнитном поле. В состав чувствительного элемента входит поплавок 3, состоящий из основания и крышки. В поплавке установлена втулка 4, соединенная с конусом. Во втулке находится подпятник 6, закрепленный винтом 7. На кольцевой полке корпуса установлен диск 8 со шкалой, разбитой на 360 делений.

ЧЭ имеет в компасной жидкости (70% этилового спирта, 10% глицерина, 20% дистиллированной воды) вес (5, 6±03)10-2 Н. Период колебаний ЧЭ при начальном отклонении его от магнитного меридиана на 40° при Н=12 А∙ м-1 составляет (20±4) с.

 

ВОПРОСЫ ДЛЯ САМОКОНТРОЛЯ:

1. Чем отличается магнитные компасы КМ-145-3 и КМ-145-4? КМ-145-4 и КМ-145-6?

2. Сколько магнитов содержит картушка компаса " Сектор"?

3. Какую роль играет диафрагма в котелке компаса?

4. С какой целью в компасах используют дополнительную камеру, заполненную поддерживающей жидкостью?

5. Каков порядок установки и съема пеленгатора?

6. Что размещается в нактоузе компаса?

 


Поделиться с друзьями:

mylektsii.su - Мои Лекции - 2015-2026 год. (1.433 сек.)Все материалы представленные на сайте исключительно с целью ознакомления читателями и не преследуют коммерческих целей или нарушение авторских прав Пожаловаться на материал