Студопедия

Главная страница Случайная страница

КАТЕГОРИИ:

АвтомобилиАстрономияБиологияГеографияДом и садДругие языкиДругоеИнформатикаИсторияКультураЛитератураЛогикаМатематикаМедицинаМеталлургияМеханикаОбразованиеОхрана трудаПедагогикаПолитикаПравоПсихологияРелигияРиторикаСоциологияСпортСтроительствоТехнологияТуризмФизикаФилософияФинансыХимияЧерчениеЭкологияЭкономикаЭлектроника






Порядок выполнения работы.






Технические средства механизации работ

технического обслуживания и обеспечения полетов летательных аппаратов.

 

Подвижные средства заправки маслом.

 

Справочный материал по дисциплине,, Наземное обеспечение в гражданской авиации ’’ предназначен для студентов 4-го курса специальности 190701‹‹ Организация перевозок и управления на транспорте ››

 

(Компьютерный вариант)

 

 

Составил: Чекрыжев Н.В.

 

 

Размер файла: 401 кб..

 

Файл помещен в компьютере № 9. ауд.113-5.

 

Имя файла: D: \ \..

 

Дата составления: 10 октября. 2006 г.

 

Дата внесения изменений: 10 октября 2006 г.

 

Допущено для использования

в учебном процессе.

 

Протокол заседания кафедры‹‹ЭАТ››

 

№_______от ‹‹___››________________2006г.

 

 

Самара 2006 г.

 

Цель работы – изучение и закрепление материала по дисциплине: „Наземное обеспечение

в гражданской авиации”.

 

Порядок выполнения работы.

  1. Получить задание.
  2. Изучить назначение данного наземного средства обеспечения полетов и технического обслуживания летательного аппарата, принцип его работы, особенности эксплуатации.
  3. В отчете представить:

Назначение данного средства механизации, его принципиальную схему, дать

краткое описание работы, состав и назначение его технологического оборудования.

 

1. ОБЩИЕ СВЕДЕНИЯ

 

В настоящее время в аэропортах и на оперативных аэродромах заправки и дозаправки самолетов маслами и маслосмесями осу­ществляются маслозаправщиками МЗ-150, МЗ-51М(Рис.1.), МЗ-66

(Рис.2), а так­же агрегатами механизированной заправки АМЗ-53М(Рис.3.) и заправщи­ками специальными жидкостями ЗСЖ-66(Рис.4) и АЗЗМ2.

 

Рис.1.Маслозаправщик МЗ-51М.

 

Рис.2. Маслозаправщик МЗ-66.

 

 

Рис. 3. Агрегат механизированной заправки АМЗ – 53.

 

 

Рис. 4.Заправщик спец.жидкостями ЗСЖ-66.

 

 

Рис.5. ЗСЖ-66 в рабочем состоянии.

Следует отметить, что маслозаправщики МЗ-150, МЗ-51М и МЗ-66 разрабатывались в основном применительно к самолетам с поршневыми авиадвигателями, имеющими большие по объему маслосистемы и значительные расходы масла или маслосмесей. При этом в системах применялись вязкие минеральные масла типа МК-20 или МС-22, а также их смеси с маслами МК-8 или транс­форматорным. Для этих типов самолетов характеристики указан­ных маслозаправщиков вполне соответствуют. Маслозаправщики обеспечивают: подогрев масла до температуры 100°С, доставку масла в требуемых количествах к местам стоянок самолетов, за­правку их маслом с производительностью до 210 л/мин, а также фильтрацию масла с тонкостью очистки 40 мкм.

Самолеты реактивной авиации предъявляют более высокие тре­бования к чистоте заправляемого масла, имеют небольшие по объ­ему маслосистемы, а также незначительный расход масла и мас-лосмесей. При этом в системах применяются не только минераль­ные, но и синтетические масла, поэтому заправка маслом этих ти­пов самолетов осуществляется с помощью агрегатов механизиро­ванной заправки АМЗ-53М, а в последнее время и заправщиками специальными жидкостями ЗСЖ-66 и АЗЗМ2,.

Маслозаправщики (МЗ-150, МЗ-51М, МЗ-66) представляют собой специальные установки, выполненные по одной компоновоч­ной схеме, которая включает шасси и специальное оборудова­ние, состоящее из котла, приемо-раздаточной системы, нагрева­тельной системы, насоса с приводом, контрольно-измерительных приборов, кабины управления, ящиков для рукавов, электрообо­рудования и противопожарных средств.

Специальное оборудование маслозаправщиков позволяет выполнять следующие основные опе­рации:

- наполнять котел маслом из посторонних наземных и под­земных резервуаров;

- нагревать масло в котле до температуры, требуемой по условиям эксплуатации

обслуживаемых самолетов;

- заправлять самолеты маслом открытым способом;

- перекачивать, масло из одной емкости в другую, минуя свой котел;

- перемеши­вать масло в.котле:

- отсасывать.масло из раздаточных рукавов после окончания заправки.

Схема размещения оборудования маслозаправщика изображена на рис. 6.

 

 

 

Рис. 6. Схема размещения оборудования маслозаправщика МЗ-66.

 

1 -шасси; 2 -дымовая труба; 3 - реечный указатель уровня масла; 4 - котел; 5 -на­ливная горловина котла;

6 - эжекционная коробка; 7 -фронтальная плита; 8 - тепло­изоляционный слой; 9 - форсунка; 10кабина управления; 11 -двухстворчатая дверка; 12 - пробковый кран: 13 - насос РЗ-ЗОИ; 14 — карданный вал

 

 

Кроме того, маслозаправщики приспособлены для сохранения масла в нагретом состоянии в течение длительного времени при отрицательных температурах окружающего

воздуха, а также для транспортировки масла от склада ГСМ до мест стоянок самолетов.

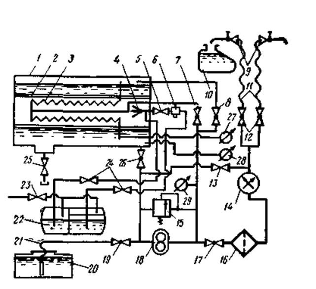
Указанные операции выполняются путем открытия и закрытия соответствующих кранов, установленных на трубопроводах, с по­мощью которых насос и другие агрегаты специального оборудо­вания соединены между собой и котлом, образуя технологическую схему маслозаправщика (рис. 7).

При наполнении котла маслом всасывающий рукав 21 подсое­диняется к всасывающему патрубку насоса 18.а свободный ко­нец его опускается в резервуар 20. Пробковые краны 19 и 8 устанавливаются в положение «Открыто». Контроль за уровнем масла в котле осуществляется с помощью реечного указателя уровня, установленного на котле (см. рис. 6). Цена деления реечного указателя равна 50 л.

1 -котел; 2 -жаровая труба; 3 -змеевик; 4 -форсунка; 5 -кран регулировки подачи керо­сина; 6 -автомат выключения форсунки; 7, 8, 12, 17, 19 и 26 -пробковые краны; 9 -разда­точные краны; 10-масляный бак самолета; 11 -раздаточные рукава; 13 - вентиль отсоса масла из раздаточных рукавов; 14 -счетчик; 15 -предохранительно-перепускной клапан; 16 -фильтр тонкой очистки; 18 -насос; 20 - резер­вуар; 21 - всасывающий рукав;

22 - топливный бак нагревательной системы; 23 -воздушный вентиль: 24 -топливные вентили; 25 -вентиль для слива отстоя; 27 и 28 -термометры

 

Рис. 7. Принципиальная технологичес­кая схема маслозалравщика:

 

 

При нагреве масла в кот­ле кран 26 сообщает по­лость котла с всасывающим патрубком насоса 18, а кран 7— напорный патрубок на­соса со змеевиком 3. В этом случае насос 18 всасы­вает масло из котла по тру­бопроводу через кран 26 и подает его в змеевик 3 че­рез кран 7. Поток масла, двигаясь (циркулируя) по левой и правой (по схеме соответственно нижней и верхней) ветвям змеевика, нагревается пламенем фор­сунки 4 и по трубкам сли­вается в котел. Циркуляция и нагрев масла продолжа­ются до тех пор, пока тем­пература его будет на 5-10º С ниже той температуры, которая требуется по усло­виям эксплуатации обслу­живаемых самолетов. Даль­нейший нагрев масла до тре­буемой температуры произ­водится при выключенных форсунках за счет отдачи тепла от нагретых труб змеевика.

Следует сказать, что операция по нагреву масла является на­иболее ответственной из всех операций, выполняемых маслозаправщиками. Это объясняется тем, что масло при определенных условиях может перегреться и пригореть к стенкам труб змееви­ка. Чтобы избежать пригорания масла при его нагреве, необхо­димо, чтобы масло постоянно циркулировало в змеевике, причем скорость движения (циркуляция) по змеевику должна быть не менее 2 м/с. Если давление в змеевике будет ниже величины, обес­печивающей нормальную циркуляцию масла (0, 4—0, 6 кгс/см2), автомат 6выключит подачу топлива в форсунку 4 и нагрев масла прекратится. Температура масла в змеевике контролируется тер­мометром 27, а в котле — термометром 28. Контроль за давлением осуществляется по манометру 29.

При заправке самолетов краны 12, 26 и 17, а также раздаточ­ные краны 9 устанавливаются в положение «Открыто». В этом случае предварительно нагретое масло всасывается насосом 18 из котла / через кран 26 и подается в бак самолета 10 через фильтр тонкой очистки 16, счетчик 14, раздаточный рукав // и раздаточные краны 9. Количество выданного масла определяется по счетчику 14. Если во время заправки самолетов или при выполнении другой операции повышается давление масла в напор­ном трубопроводе сверх допустимого, открывается предохрани­тельный клапан 15 > и перепускает масло из напорного во всасы­вающий трубопровод.

При перекачке масла из одного резервуара в другой, т. е. при использовании маслозаправщика в качестве перекачивающего средства, краны 19, 17 и 12 устанавливаются в положение «От­крыто», а раздаточные краны 9 направляются в наливную горло­вину резервуара. В этом случае масло насосом 18 всасывается из резервуара 20 по рукаву 21 через кран 19 подается в посторон­ний резервуар через краны. 17 и 12, раздаточные рукава 11 и раз­даточные краны 9. При выполнении этой операции фильтроэлемент из фильтра 16 желательно демонтировать для сохранения ресурса его работы.

При отсосе масла из раздаточных рукавов краны 12, 8, вен­тиль 13 и раздаточные краны устанавливаются в положение «Открыто». В этом случае насос всасывает масло из раздаточных рукавов по трубопроводу через краны 12, вентиль 13 и подает его в котел по напорному трубопроводу через кран 7.

Все операции, связанные с выдачей отфильтрованного масла в системы самолетов, наполнением котла маслом, перекачивани­ем масла из одного резервуара в другой, перемешиванием его в котле, отсосом масла из раздаточных рукавов и циркуляцией масла в змеевике, выполняются с помощью приемо-раздаточной системы. Перекачивание масла во время выполнения указанных операций осуществляется с помощью насоса, привод которого осуществляется от двигателя базового шасси. На рассматривае­мых маслозаправщиках применяется ротационно-зубчатый насос типа РЗ-ЗОИ. Операция по подогреву масла выполняется нагре­вательной системой. Все основное специальное оборудование маслозаправщиков размещено в кабине управления, что дает возможность оператору управлять маслозаправщиком и следить за показаниями контрольно-измерительных приборов с одного рабочего места.

На маслозаправщиках обычно устанавливаются следующие контрольно-измерительные приборы: два манометра, показываю­щих давление масла (один — до фильтра, второй — после него); манометр, показывающий давление в топливном.баке нагрева­тельной системы; тахометр, показывающий частоту вращения ва­ла насоса; два дистанционных термометра, показывающих тем­пературу масла (один — в котле, второй — в змеевике). С правой и левой сторон маслозаправщиков (по ходу движения) монтиру­ются ящики для укладки раздаточных и всасывающих рукавов, а также других принадлежностей. Кроме электрооборудования и приборов базового автомобиля, устанавливается дополнитель­ное электрооборудование, которое включает отдельные контроль­но-измерительные приборы, плафон для освещения кабины управ­ления, розетку для подключения переносной лампы и другие устройства

В качестве противопожарных средств на маслозаправщиках применяют переносные углекислотные огнетушители ОУ-2 или углекислотно-бромэтиловые ОУБ-3, которые устанавливаются на боковых стенках кабины водителя или на " стенках ящиков для рукавов. Основные технические данные маслозаправщиков при­ведены в табл. 1.

 

Таблица 1.

Агрегат и его характеристика МЗ-150 МЗ-51М МЗ-66
Базовое шасси Емкость котла, л: полная с заполнением змееевика эксплуатационная Производительность разда­точной системы при темпера­туре масла 85° С и скорости 800 об/мин вала насоса, л: через один рукав через два рукава Насос: ротационно-зубчатый марка производительность, м3/ч Емкость топливного бака нагревательной системы, л: керосинового отсека бензинового отсека Время нагрева масла от +.10 до 100 С, мин Скорость охлаждения масла в котле при температуре окружающей среды —14°С град/ч Раздаточные краны: марка Счетчики ЗИЛ-150       РЗ-ЗОИ   50-55   2, 2   РП-34М СД-40 ГАЗ-51       РЗ-ЗОИ   30-35   2, 2   РП-34М ДМ-40 ГАЗ-66       РЗ-ЗОИ     2, 0   РП-34М ДМ-40

 

 


Поделиться с друзьями:

mylektsii.su - Мои Лекции - 2015-2026 год. (0.319 сек.)Все материалы представленные на сайте исключительно с целью ознакомления читателями и не преследуют коммерческих целей или нарушение авторских прав Пожаловаться на материал