Студопедия

Главная страница Случайная страница

КАТЕГОРИИ:

АвтомобилиАстрономияБиологияГеографияДом и садДругие языкиДругоеИнформатикаИсторияКультураЛитератураЛогикаМатематикаМедицинаМеталлургияМеханикаОбразованиеОхрана трудаПедагогикаПолитикаПравоПсихологияРелигияРиторикаСоциологияСпортСтроительствоТехнологияТуризмФизикаФилософияФинансыХимияЧерчениеЭкологияЭкономикаЭлектроника






Особенности оборудования МЗ-66.






Котел.

 

Одним из основных элементов специального оборудования маслозаправщиков являются котлы, в которых масло хранится, на­гревается и транспортируется со складов ГСМ к местам стоянок самолетов. Емкость котлов маслозаправщиков определяется ти­пом обслуживаемых самолетов и грузоподъемностью шасси. У рас­сматриваемых маслозаправщиков емкости котлов находятся в пределах 800—2100 л. В качестве материала для изготовления кот­лов применяется листовая сталь толщиной 3 мм. Внутренняя по­верхность котлов для предохранения от коррозии и загрязнения масла ее продуктами покрывается слоем цинка. Наружная по­верхность котлов для длительного хранения масла в, нагретом состоянии при низких температурах оборудуется термоизоляцией. Для защиты термоизоляции от механических повреждений и ат­мосферных осадков ее облицовывают листовой сталью толщиной 0, 7 мм. На маслозаправщиках старых образцов в качестве тепло­изоляционного материала применялся войлок и " минеральная ва­та, а в качестве облицовочного материала — фанера. У масло­заправщиков современных выпусков для этих целей используется заливочный пенопласт и листовая сталъ.

Котел маслозаправщиков МЗ-51М и МЗ-66 (рис. 8) состоит из корпуса 1, внутренней' обечайки 2, жаровой трубы 3, двухпоточного змеевика 12, конусного отражателя газов 11, дымовой тру­бы 6, наливной горловины 5, фронтальной плиты 14, отстойника 7 и опор крепления котла 8.

В верхней части корпуса котла 1 приварена наливная горло­вина 5, в которой установлен сетчатый фильтр. Наливная горло­вина закрывается крышкой, которая удерживается в закрытом положении эксцентриковым замком. Внутри корпуса котла уста­новлена жаровая труба, имеющая меньший диаметр, чем внут­ренняя обечайка. Вследствие разности диаметров между ними образуется воздушная прослойка, которая изолирует внутреннюю обечайку от пламени. Для придания жесткости внутри корпуса к внешней обечайке приварены, три пояса жесткости 4. В передней части котла жаровая труба крепится болтами к внутренней обечайке, а сзади соединяется с фронтальной плитой при помощи шпилек. На заднем днище котла имеются четыре фланца: всасывающей трубы 15, приемной трубы.9 и два флан­ца 10 параллельных ветвей змеевика, по которым масло посту­пает из змеевика обратно в котел. К переднему днищу корпуса -крепится дымовая труба, через которую выходят отработавшие газы в атмосферу. В передней и нижней части котла имеется от­стойник с краном для слива загрязненного масла.

Рис. 8. Котел маслозаправщика МЗ-66.

 

Внутри жаровой трубы установлен змеевик 12, по которому циркулирует масло в течение всего времени нагрева. Для более равномерного смывания змеевика горячими газами в передней части жаровой трубы установлен конусообразный отражатель га­зов 11. Для жесткости на трубы змеевика устанавливается по­яс 13.

Тяга в топке котла создается таким же образом, как и в топ­ке котла маслозаправщика МЗ-150. К нижней части котла прива­рены три опоры 8, с помощью которых котел устанавливается на раме шасси и закрепляется болтами. Наружная поверхность кот­ла утеплена термоизоляцией из заливочного пенопласта. Термо­изоляционный слой с наружной стороны покрыт тонкой листовой сталью. Уровень масла в котле замеряется реечным указателем уровня.

 

Приемо-раздаточная система

 

Приемо-раздаточная система служит для наполнения котла маслом и заправки воздушного судна,

очистки масла от механических примесей, отсчета количества выданного масла.

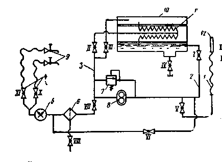
Схема приемо-раздаточной системы МЗ-66 представлена на рис.9.

Всасывающая линия состоит из трубопровода и двух кранов (быстродействующих задвижек), установленных перед насосом и на патрубке, к которому присое­диняется всасывающий рукав. В патрубке в месте присоединения всасывающего рукава установ­лен сетчатый фильтр грубой очи­стки, предохраняющий насос и трубопровод от засорения меха­ническими примесями.

В напорную линию трубопро­вода масло подается насосом по двум направлениям: в котел и раздаточный трубопровод. В раз­даточном трубопроводе смонти­рованы: предохранительный пере­пускной клапан, фильтр тонкой очистки, счетчик, краны и разда­точные рукава. Все трубопроводы изготовлены из стальных труб, внутренняя поверхность которых покрыта цинком. Нужное (направ­ление потока масла в трубопро­водах обеспечивается перекрыти­ем его при помощи соответствую­щих задвижек или кранов. Предохранительно-перепускной клапан 7 устанавливается на на­порном трубопроводе и обеспечивает защиту фильтров, счетчиков и раздаточных рукавов от повреждений при чрезмерном повыше­нии давления. У маслозаправщика МЗ-66 клапан регулируется на полный перепуск масла при давлении 4кгс/см2

Фильтры для очистки масел разделяются на фильтры грубой очистки, устанавливаемые во всасывающих трубопроводах, и тонкой очистки 6, устанавливаемые в напорных трубопроводах.

Рис. 9. Схема приемо-раздаточной систе­мы МЗ-66:

 

1-всасывающий рукав; 2 - всасывающий трубо­провод; 3 -напорный трубопровод; 4 -разда­точные рукава; 5- счетчик ДМ-40; 6 -фильтр тонкой очистки; 7- предохранительно-перепуск­ной клапан;

8- насос РЗ-ЗОИ; 9- раздаточные краны РП-34М; 10- котел; 11-змеевик; 12 -наконечник для забора масла из тары (бочек); 1-Х -пробковые краны

 

Фильтры грубой очистки предназначены для очистки масел от крупных частиц размером более 500 мкм, фильтры- тонкой очист­ки— от частиц размером 60—70 мкм и представляют собой со­суд с болтовым разъемом в верхней части. Внутри корпуса на центральной трубе устанавливаются чечевицы--диски, которые име­ют наружные поверхности, опаянные латунной или никелевой сет­кой с размером ячеек 60—70 мкм. Фильтр маслозаправщика МЗ-66 имеет семь дисков (рис. 11).

Рис11.Фильтр тонкой очистки маслозаправщиков М.3-66.

 

1 - крышка; 2 -скоба; 3 -нажимная гайка; 4 -фланец; 5 -откидной болт; 6 -ось болта: 7 - диск-чечевица;

8 - корпус; 9 -отражатель

 

Рис. 12. Раздаточный кран РП-34М. в сборе с раздаточным рукавом

 

1 -колпачок; 2 -сданной патрубок; 3 - сетчатый фильтр; 4 -прокладка; 5 -корпус; 6 -сальниковое уплотнение; 7 - шток; 8 -пружина; 9 -нажимная втулка; 10 -гайка; 11-рукоятка; 12 - рычаг; 13 -гайка; 14 и 21 -прокладки; 15 -большой клапан; 16 -малый клапан; 17 -пружина; 18 -трос со штеккером; 19 -переходник; 20 -прокладка; 22 -пружина; 23 -раздаточный рукав; 24 -хомут; 25 -ниппель; 26 -прокладка; 27 -накидная гайка; 28 -штуцер

 

Рукава, применяемые на маслозаправщиках, по своему назна­чению разделяются на всасывающие и раздаточные. Всасываю­щий рукав предназначен для забора масла из постороннего ре­зервуара при наполнении котла маслом или при перекачивании масла из одного резервуара в другой. Он имеет внутренний диа­метр 65 мм и длину 6 м. Для удобства укладки всасывающий ру­кав разделен на три секции, каждая секция имеет длину 2 м, а на концах соединительную арматуру. Раздаточные рукава пред­назначены для выдачи масла в системы самолетов через разда­точные краны РП-34М, которыми они оснащены. На каждом маслозаправщике имеются по два раздаточных рукава с внутрен­ним диаметром 25 мм и длиной 10 м.

Маслозаправщик МЗ-66 укомплектовывается раз­даточными кранами РП-34М, составные части которого изобра­жены на рис. 12. Кран крепится к раздаточному рукаву с помощью специального хомута. Для отвода статического электричества к крану присоединен трос со штекером 18, который во время за-правки включается в специальное гнездо заземляющего устройст­ва самолета.

Корпус 5 раздаточного крана ввшолнен' из алюминиевого спла­ва. В корпусе установлены большой клапан 15 и малый 16 с про­кладками 14 и 21 из маслобензостойкой резины. Под действием пружины 17 прокладки обоих клап-анов прижимаются к конусным фаскам, обеспечивая герметичность4 клапана. При нажатии на ры­чаг 12 шток 7, преодолевая сопротивление пружины 17, переме­щает клапан 16 и открывает доступ масла из полости клапана в полость слива, уменьшая сопротивление открытию большого клапана. По мере дальнейшего перемещения шток 7 уступом упи­рается в торец гайки 13 и открывает большой клапан 16.

В зависимости от требуемого расхода клапан может быть от­крыт на разную величину проходного сечения. Степень открытия проходного сечения определяется тремя положениями рычага 12, каждое из которых фиксируется.

Внутри сливной трубки 2 установлен сетчатый фильтр 3 для улавливания механических примесей. В нерабочем положении ко­нец сливного патрубка закрывается колпаком 1.

 


Поделиться с друзьями:

mylektsii.su - Мои Лекции - 2015-2026 год. (3.881 сек.)Все материалы представленные на сайте исключительно с целью ознакомления читателями и не преследуют коммерческих целей или нарушение авторских прав Пожаловаться на материал