Студопедия

Главная страница Случайная страница

КАТЕГОРИИ:

АвтомобилиАстрономияБиологияГеографияДом и садДругие языкиДругоеИнформатикаИсторияКультураЛитератураЛогикаМатематикаМедицинаМеталлургияМеханикаОбразованиеОхрана трудаПедагогикаПолитикаПравоПсихологияРелигияРиторикаСоциологияСпортСтроительствоТехнологияТуризмФизикаФилософияФинансыХимияЧерчениеЭкологияЭкономикаЭлектроника






Тарировка микроманометра.






Тарировка — это определение поправочного коэффициента прибора путем сравнения показаний тарируемого прибора с показаниями другого, точно выверенного прибора, называемого эталоном.

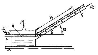
В практике аэродинамиче­ского эксперимента чаще всего приходится измерять избыточ­ное давление в потоке или перепад давлений, а также давле­ние на поверхности испытуемого тела. Для этого применяются приборы, называемые манометрами. Измерение малых давле­ний осуществляется микроманометрами. Схема микроманомет­ра изображена на рис. 1.

Рис. 1. Схема микроманометра

 

Микроманометр состоит из сосуда (А) и сообщающей­ся с ним стеклянной трубкой (Б) диаметром 3—5 мм, на которой нанесена шкала с миллиметровыми делениями. Если измеряе­мая разность давлений невелика, то в качестве жидкости, за­полняющей микроманометры, применяется спирт. В зависимо­сти от желаемой точности отсчета показаний микроманометра трубку Б можно устанавливать под разными углами a к гори­зонту. При этом чем меньше угол a, тем точнее можно снять показания микроманометра. Однако это верно только до опре­деленного предела, пока sin a ³ 0, 05. При большем наклоне трубки начинает сказываться влияние капиллярности жидкости, налитой в микроманометр, что приводит к ошибкам эксперимента.

Сосуды А и трубка Б смонтированы па подставке, которую перед опытом при помощи установочных винтов и уровней при­водят в горизонтальное положение. В сосуде А располагается цилиндр, который с помощью винта может перемещаться вертикально, что позволяет до­биться совмещения мениска жидкости в наклонной труб­ке с нулевым отсчетом шка­лы. В соответствии с рабо­чей формулой для тариров­ки микроманометра получим

здесь h — высота столбика жидкости в наклонной трубке микроманометра; g – удельный вес жидкости (для спирта кг/дм3), который определяется с учетом темпе­ратурной поправки; F – фактор наклона шкалы микромано­метра; k — коэффициент микроманометра.

Для определения точной разности давления по формуле необходимо знать коэффициент микроманометра k, определяе­мый тарировкой. Тарировки бывают первичные и вторичные.

Под первичной тарировкой понимают установление абсолют­ной цены деления прибора. Она обычно проводится для эта­лонных приборов путем доливания строго дозированных по весу и объему количеств жидкости.

Вторичная тарировка проводится довольно часто в лабора­торной практике путем сравнения показаний тарируемого при­бора с показаниями эталонного.

Схема установки для тарировки микроманометров дана на рис. 2. Перед тарировкой необходимо оба манометра залить спиртом с одинаковым удельным весом g, проверить герметич­ность манометров и строго установить их по контрольным уров­ням.

Стеклянные трубки (шкалы отсчета) устанавливают при одинаковом факторе наклона микроманометров FЭ = FТ, а за­тем соединяют резиновыми трубками краны резервуаров К1 и K2 с тройником Т. Третий конец тройника Т соединен резиновой трубкой с трубкой А, которая имеет кран К3. Второй конец трубки А соединяетсяпри помощи резиновой трубки с резер­вуаром, имеющим давление р. Все краны должны быть хорошо притерты, а резиновые трубки соединены так, чтобы была со­блюдена полная герметичность приборов при тарировке.

Верхние концы стеклянных трубок, соединенные с крана­ми К4 и К5, оставляются от­крытыми, вследствие чего дав­ления в трубках обоих микро­манометров будут одинаковы­ми. Затем в трубку А подается воздух под давлением с таким расчетом, чтобы уровень жид­кости в трубках установился на определенной отметке.

При достижении заданного уровня жидкости в трубках кран К3. перекрывается, после установления уровня жидко­сти в обоих манометрах берется отсчет по шкале обоих мано­метров. Таким образом, берутся 12—15 отсчетов при разных давлениях (разных высотах столбца жидкости в трубках) в диапа­зоне всей шкалы микроманометра от нуля до максимума

 

Рис.2. Схема тарировки микро­манометров.

 

Из схемы установки видно, что

р — р0 = kэ, Fэgэ (h э – h) = k тFтgт (h т – h).

Учитывая, что удельный вес спирта и фактор наклона в обоих микроманометрах одинаковы, получим следующее выражение

По результатам эксперимента строится график зависимости

При этом масштабы по осям координат выбирают одинако­выми. Через экспериментальные точки легко провести среднюю прямую линию, проходящую через начало координат под неко­торым углом к оси абсцисс. Тангенс угла наклона этой прямой к оси абсцисс равен k т.

Кроме графического способа коэффициент тарировки k, можно определить способом наименьших квадратов. Так как измеряемые микроманометрами разности давлений одинаковы, то для каждой пары отсчетов можно записать

kэ, Fэgэ (h э – h) = k тgтFт (h т – h).

где h т – h, gт , Fт, известны, a k т, необходимо определить.

Если h т – h линейно зависят от h э – h, то

h т – h = а (h э – h), где

Угловой коэффициент а найдем из условия, чтобысумма квадратов отклонений ординат опытных точек от ординат пря­мой линии (при одинаковых абсциссах) была бы наименьшей, т. е.

Взяв производную по а и приравняв ее к нулю, получим

откуда

Выполняя тарировку по второму из приведенных способов, необходимо вычерчивать зависимость между hэ и hт. Это по­строение делается для того, чтобы заметить выпавшие точки и при необходимости проверить их.

 


Поделиться с друзьями:

mylektsii.su - Мои Лекции - 2015-2026 год. (1.685 сек.)Все материалы представленные на сайте исключительно с целью ознакомления читателями и не преследуют коммерческих целей или нарушение авторских прав Пожаловаться на материал