Студопедия

Главная страница Случайная страница

КАТЕГОРИИ:

АвтомобилиАстрономияБиологияГеографияДом и садДругие языкиДругоеИнформатикаИсторияКультураЛитератураЛогикаМатематикаМедицинаМеталлургияМеханикаОбразованиеОхрана трудаПедагогикаПолитикаПравоПсихологияРелигияРиторикаСоциологияСпортСтроительствоТехнологияТуризмФизикаФилософияФинансыХимияЧерчениеЭкологияЭкономикаЭлектроника






Характеристики шестеренных насосов






Показатели Марки насосов
НШ-32 НШ-50 НШ-67 НШ-100 НШ-160
Рабочий объем, см3 31, 5 48, 8   98, 8  
Давление номинальное, МПа          
Частота вращения, мин -1          
Номинальная подача, л/мин          
Масс, кг 6, 8 7, 4 17, 5 17, 5 44, 3

 

При подаче нефтепродуктов применяются шестеренные фланцевые насосы (ШФ) с подачей от 0, 4 до 36 м3/ч (от 6 до 600 л/мин), с давлением на выходе от 0, 4 до 2, 5 МПа, с частотой вращения 1430 мин-1 [18]. Например, шестеренный фланцевый насос ШФ 2-25 при частоте вращения 1430 мин-1 обеспечивает подачу жидкости 2 м3/ч (33 л/мин) при давлении 25 кгс/см2 (2, 5 МПа). Рабочий объем данного насоса равен 25 см3.

Если объем зуба равен объему впадины, то за один оборот вала насоса переместится следующее количество жидкости:

Vp = π × DН· · b · h, (12.9)

где Vp – рабочий объем шестеренного насоса; DН – диаметр начальной окружности; b – ширина зуба; h – высота зуба, равная 2 m (m – модуль зуба, m = DН / z, здесь z – число зубьев колеса).

Действительная подача насоса

QД = Vp× n · , (12.10)

где n – частота вращения вала насоса, мин-1; – объемный КПД насоса, равный 0, 7 – 0, 9.

 


12.5.2. Определение основных размеров раздаточного крана

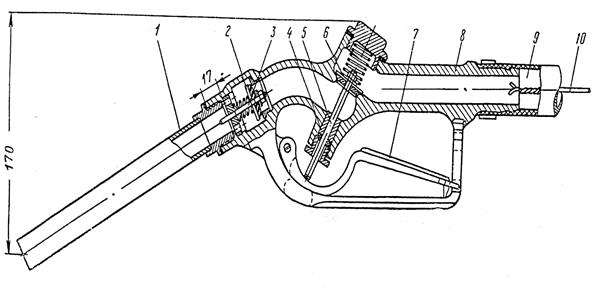
Раздаточный кран (рис. 12.16), являющийся замыкающим звеном бензоколонки, должен быть удобным в обращении, легким, без подтекания топлива, взрывобезопасным, красивым в оформлении и соответствующим всем требованиям эргономики.

Раздаточные краны имеют различные конструктивные решения, но выполняют одну функцию: наполнение бака топливом. Время заправки зависит от емкости бака и расхода жидкости через кран. Время, затрачиваемое на заправку одного автомобиля, принимается для бензина равным 3 мин, для дизельного топлива – 5 мин.

 

 

Рис. 12.16. Разрез раздаточного крана: 1 – сливная труба; 2 – гайка отсечного клапана;
3 – отсечной клапан; 4 – сальник; 5 – шток; 6 – клапан с пружиной; 7 – рычаг; 8 – корпус;
9 – рукав; 10 – провод заземления

 

При заправке дизельным топливом объем средней заправки составляет примерно 100 л, а бензином – 50 л.

Раздаточный кран имеет отсечной (обратный) клапан 3, который открывается и закрывается автоматически под действием давления жидкости. Открывается клапан 3 под действием давления более 0, 05 МПа, а закрывается при давлении менее 0, 05 МПа. Отсечной клапан предохраняет раздаточный кран от опорожнения жидкостью и заполнения воздухом. Регулируется клапан гайкой 2, которая изменяет длину пружины и ее силу.

Клапан 6 открывается воздействием на шток 5 путем нажатия на рычаг 7. Открытие клапана происходит ручным способом, а закрытие – автоматически под действием пружины при снятии усилия с рычага 7. Подбор площади клапанов и параметров пружин производится по методике, изложенной в п. 12.5.1.

В некоторых конструкциях раздаточных кранов применяются клапаны, которые автоматически прекращают подачу жидкости (топлива) при наполнении бака, устраняя разлив топлива.

Для устранения статического электричества и возможного искрообразования корпус раздаточного крана выполняется из алюминиевого сплава и надежно заземлен.

Объемный расход жидкости равен

Q = V / t; Q = ∙ F; V = ∙ F∙ t, (12.11)

где Q – объемная подача насоса, например, 50 л /мин или 0, 000833 м3/с;
V – средний объем заправки, м3; t – время заправки, с; – средняя скорость вытекающей жидкости из раздаточного крана, м/с; F – площадь выходного сечения раздаточного крана, м2.

По уравнениям 12.11, задаваясь значением Q, можно определить , F или t.

Задаваясь допустимой скоростью истечения жидкости из заправочного крана (1 – 1, 5 м/с) и зная подачу насоса, можно определить площадь сечения и внутренний диаметр сливной трубы раздаточного крана

F = Q / = 0, 000833 / 1 = 0, 000833 м2 или 8, 3 см2.

Так как F = ∙ D2K / 4, то DК = = = 3, 2 см.

При скорости 1, 5 м/с диаметр сливной трубы DК равен 2, 6 см. Время наполнения бака с объемом 50 литров (0, 05 м3) при подаче топлива равного
50 л/мин, составит 1 мин, а 100 литров – 2 мин.

Время заправки автомобиля включает время, необходимое для подъезда к заправочной колонке, установку крана в заливную горловину бака, время расчета за топливо и наполнения бака топливом.

 

12.6. Генеральный план и технологическая схема АЗС

Генеральный план – это часть проекта, комплексно решающая планировку, размещение зданий и сооружений, технологических коммуникаций и инженерных сетей на территории, благоустройство, а также размещение АЗС внутри населенного пункта, в промышленном или автотранспортном узле [62]. Он должен быть увязан с проектами планировки того населенного пункта, в котором АЗС будет расположена, а также с планировкой и застройкой ближайших микрорайонов населенного пункта, с ближайшими автомагистралями. В нем должны быть учтены перспективы развития административного района.
На рис. 12.17 показана схема генерального плана АЗС.

 

 

Рис. 12.17. Схема генерального плана АЗС

 

При правильной генеральной планировке АЗС создаются наиболее благоприятные эксплуатационные, пожаробезопасные и экологические условия.

Технологические требования определяют в большей степени взаимное расположение основных производственных объектов, а мощность (количество заправок в сутки) – общую площадь АЗС и объем резервуарного парка. Противопожарные и санитарные нормы определяют минимально допустимые расстояния от АЗС до объектов, к ней не относящихся.

Топографические данные (рельеф площадки) учитываются при разработке технологической части проекта. АЗС обычно располагаются как можно удобнее для потребителей и как можно ближе к ним. Это либо автодороги с большими автомобильными потоками, либо стоянки автотранспорта, либо районы расположения гаражей, либо места какого-либо другого скопления автомобилей, чтобы уменьшить, по возможности, расстояние, которое необходимо преодолевать автотранспорту до автозаправочной станции.

Площадка, намечаемая под строительство автозаправочной станции, должна в равной степени отвечать целому ряду требований в техническом, пожарном, санитарно-эпидемиологическом отношении. Площадка должна иметь удобные подъезды как для бензовозов, доставляющих топливо на станцию, так и автотранспорта, въезжающего на территорию станции для заправки. Вокруг площадки должна быть организована санитарно-защитная зона. Расстояния от границ площадки до соседних жилых и промышленных застроек должны быть выполнены по нормам санэпиднадзора и пожарного надзора. Места расположения АЗС у дорог обозначаются дорожными знаками.

На территории должны быть установлены указатели направления движения транспортных средств с ограничением скорости движения. В местах, запрещенных для проезда, должны быть установлены запрещающие знаки и надписи. Установка дорожных знаков согласовывается с ГИБДД.

На АЗС должны быть установлены знаки о расположении пожарного водоема, водозаборных колодцев или пожарного гидранта, габаритные знаки на АЗС, имеющих навесы. Информационно-управляющие плакаты для водителей должны быть размещены на видных местах.

АЗС должна располагаться преимущественно с подветренной стороны розы ветров преобладающего направления (по годовой розе ветров) по отношению к жилым, производственным и общественным зданиям (сооружениям).

Не допускается размещение АЗС на путепроводах и под ними, а также на плавсредствах.

Планировка АЗС с учетом размещения на их территории зданий и сооружений должна исключать возможность растекания аварийного пролива топлива как по территории АЗС, так и за ее пределы.

На въезде и выезде с территории АЗС необходимо выполнять пологие повышенные участки высотой не менее 0, 2 м или дренажные лотки, отводящие загрязненные нефтепродуктами атмосферные осадки в очистные сооружения АЗС.

Единичная вместимость резервуаров или камер (при использовании многокамерного резервуара с двойными перегородками между камерами) АЗС, расположенных на территории населенных пунктов, не должна превышать
10 м3, а вне населенных пунктов – 20 м3.

В таблице 12.6 приведены нормы и правила размещения АЗС [26].

Расстояние от края площадки для автомобильных цистерн до наземнорасположенного технологического оборудования, конструкций навесов и технологических шахт подземных резервуаров должно быть не менее 2 м. Если внутреннее пространство технологических шахт, подземных резервуаров заполнено негорючим материалом, то указанное расстояние не нормируется.

При наличии на АЗС ограждения оно должно быть продуваемым и выполненным из негорючих материалов.

Движение транспортных средств по территории АЗС должно быть, как правило, односторонним. При этом должны быть предусмотрены раздельные въезд и выезд.


Таблица 12.6

Нормы, правила размещения АЗС

Показатели и условия Значение Основание
1. Расстояние от АЗС с резервуарами для жидкого топлива до границ участков общественных зданий и учреждений, м, не менее   СНиП 11-07.01-89
2. Расстояние между заправочными островками: при подъезде автомобилей в один ряд;     при подъезде автомобилей в два ряда Ширина автомобиля плюс 1 м, но не менее 3 м   Удвоенная ширина автомобиля плюс 1, 5 м, но не менее 7 м СНиП II.09.05-90
3. Расстояние от топливораздаточных колонок, м: до здания АЗС II степени огнестойкости; до здания АЗС III степени огнестойкости; до подземных резервуаров для нефтепродуктов       СНиП II.09.05-90
4. Заправочные островки и площадки для резервуаров должны возвышаться над проезжей частью территории АЗС, м, и выполняться из бетона 0, 15 СНиП II.09.05-90
5. Очистные установки АЗС должны включать маслоуловители, грязеуловители, отстойники 6. Разделительная полоса между территорией АЗС и проезжей частью дороги должна быть, м, не менее 7. На подъездах к территории АЗС должны быть установлены дорожные сигнальные знаки 8. Территория АЗС в ночное время должна быть освещена в соответствии с нормами     СНиП II.09.05-90

 

Все подъезды и проезды на территории станции, а также отмостки у зданий операторской и других служб должны быть заасфальтированы. Места стоянки автомобилей у заправочных островков и сами заправочные островки должны иметь бетонное покрытие. Площадка должна быть ровной и иметь централизованный сбор сточных вод с целью дальнейшей их очистки или сброса в систему водоотведения.

Территория станции должна быть освещена по действующим в настоящее время нормам. Места заправки и слива нефтепродуктов могут быть оборудованы дополнительным освещением. Территория станции должна иметь ограждение по периметру.

Не допускается озеленение территории АЗС кустарниками и деревьями, выделяющими при цветении хлопья, волокнистые вещества или опушенные семена.

При размещении АЗС вблизи посадок сельскохозяйственных культур, по которым возможно распространение пламени (зерновые, хлопчатник), вдоль прилегающих к посадкам границ АЗС должно предусматриваться наземное покрытие, выполненное из материалов, не распространяющих пламя по своей поверхности, или вспаханная полоса земли шириной не менее 5 м.

Технологическая схема типовой АЗС показана на рис. 12.18 [18].

В соответствии со схемой топливо на АЗС завозится бензовозами и сливается через герметичные быстроразъемные муфты и фильтры. Сливные устройства установлены на специальной площадке. Сливные трубопроводы проложены подземно с уклоном в сторону резервуаров. Для обеспечения слива бензина без его перелива на территорию АЗС предусмотрен аварийный резервуар, объем которого должен не менее чем на 10 % превышать объем используемых для завоза топлива автоцистерн. Аварийный резервуар оснащается тем же оборудованием, что и резервуары для топлив. В данном случае для приема топлива установлены четыре стальных горизонтальных цилиндрических резервуара. Отпуск топлива осуществляется шестью заправочными колонками, которые установлены по две на трех островках.

Подача нефтепродуктов к заправочным колонкам осуществляется через технологические трубопроводы. Они должны быть надежны, долговечны, герметичны, а также должны обеспечивать течение нефтепродуктов при малых потерях напора.

 

 

Рис. 12.18. Технологическая схема типовой АЗС: 1 – резервуар для топлива;
2 – резервуар аварийный; 3 – заправочные колонки; 4 – площадка для установки сливных приборов; 5 – дыхательный клапан; 6 – огневой предохранитель; 7 – линия наполнения;
8 – линия выдачи; 9 – линия рециркуляции

 

Технологические трубопроводы АЗС для нефтепродуктов и их паров должны удовлетворять следующим требованиям:

– выполняться из металла либо из материалов, имеющих соответствующий сертификат для транспортировки нефтепродуктов;

– соединение фланцев осуществлять по принципу " шип-паз";

– соединения трубопроводов должны обеспечивать их надежность в условиях длительной эксплуатации.

Соединения подземных трубопроводов выполняются сваркой, за исключением мест присоединения фланцевой или муфтовой арматуры и фланцевых заглушек. Фланцевая, муфтовая арматура, фланцевые заглушки располагаются в колодцах, которые должны быть засыпаны песком.

Подземные трубопроводы для топлива и его паров следует располагать на глубине не менее 0, 4 м в заглубленных лотках или в металлических кожухах, исключающих проникновение топлива (при возможных утечках) за их пределы. Лотки следует заполнять негорючим материалом, металлические кожухи с обеих сторон должны герметично заделываться.

Допускается использование для нескольких ТРК одного общего трубопровода подачи нефтепродуктов из одного резервуара (для напорных ТРК) или нескольких трубопроводов из разных резервуаров к одной ТРК, при условии наличия на таких трубопроводах запорной арматуры перед каждой ТРК и каждым резервуаром.

Все фланцевые соединения трубопроводов, арматуры и оборудования должны быть плотно соединены через прокладки из материалов, устойчивых к воздействию нефтепродуктов и окружающей среды.

Подземные участки трубопроводов должны быть подвергнуты антикоррозионной защите в соответствии с требованиями государственных стандартов, наземные участки должны быть окрашены.

Сливные устройства должны обеспечивать герметичность соединения трубопроводов АЗС со сливными рукавами автоцистерн.

На АЗС находится схема технологических трубопроводов с обозначением запорной арматуры и другого оборудования.

Технологические трубопроводы (наземная часть), арматура и устройства ежесменно (ежедневно) осматриваются ответственным лицом, с целью выявления утечек топлива. Нарушения герметичности следует немедленно устранять в соответствии с производственными инструкциями. Запрещается эксплуатация разгерметизированных трубопроводов.

В состав работ по обслуживанию трубопроводов входят:

– внешний осмотр наружных трубопроводов и соединений;

– проверка крепления трубопроводов в технологических шахтах;

– очистка арматуры и ее окраска;

– внесение записей в эксплуатационную документацию;

– проверка состояния уплотнений в соединительных устройствах;

– очистка и продувка огневых преградителей.

При техническом обслуживании запорной арматуры контролируется отсутствие утечки топлива через сальниковые уплотнения, состояние соединительных фланцев и прокладок, наличие полного комплекта болтов, гаек и шпилек, целостность маховиков и надежность крепления. В случае тяжелого хода шпинделя запорной арматуры и потери герметичности сальникового уплотнения набивка должна заменяться или уплотняться при соблюдении мер безопасности. Неисправная и негерметичная арматура подлежит внеочередному ремонту или замене.

Один раз в год паровоздушные трубопроводы технологической системы должны продуваться воздухом с целью очистки от осадков внутренней поверхности трубопровода.

Не реже одного раза в пять лет технологические трубопроводы подвергают испытаниям на герметичность. Эту операцию рекомендуется совмещать с зачисткой резервуаров. Трубопровод, не выдержавший испытаний на герметичность, подлежит замене.

После монтажа или ремонта технологический трубопровод должен быть испытан на герметичность и прочность.

 

12.7. Планировка АЗС

Автозаправочные станции (АЗС) представляют собой комплекс, включающий здание, островки с раздаточными колонками, островки с резервуарами и площадки для обслуживания автотранспорта. Современные АЗС дополнительно имеют магазин с расфасованными нефтепродуктами, запасными частями для срочного ремонта автомобиля и помещения для диагностики и технического обслуживания.

Хранение легковоспламеняющихся жидкостей в мелкой таре разрешается в объёме, необходимом для 5-суточной торговли. Запасы технических жидкостей для автотранспорта в торговом зале (операторной) не должны превышать 20 расфасованных единиц.

На рис. 12.19 – 12.22 показаны варианты планирования АЗС, а на
рис. 12.23 и 12.24 – вид и разрез раздаточного крана.

АЗС следует рассматривать как сооружения, выполняемые с соблюдением всех строительных правил и противопожарных норм. Они должны быть достаточно выразительными в архитектурном отношении, удачно вписаны в окружающую их местность.

 

 

Рис. 12.19. Общий вид заправочной станции

 

 

Рис. 12.20. Въезд на заправочную станцию

 

 

 

Рис. 12.21. Заправочная станция с навесом

 

 

Рис. 12.22. Расположение заправочных колонок

 

 

Рис. 12.23. Заправочные краны

 

Рис. 12.24. Разрез заправочного крана

 

Техническая характеристика АЗС для заправки автотранспорта приведена в таблице 12.7 [31].

 

Таблица 12.7

Техническая характеристика АЗС для заправки автотранспорта

  Показатели Проект
503-204 503-203 503-202       69/11 РД-1 РС-1
Число заправок в сутки Занимаемый земельный участок, м2 Площадь здания АЗС, м2 Число резервуаров вместимостью, м3: 25 для топлива; 5 для масла; 5 для отработанного масла Число колонок: всего в том числе для топлив: Аи-80; Аи-95; Аи-98; дизельного топлива Число маслораздаточных колонок   –       –       –     4000 72       4700 72       5000 72       2500 36   –     – – – 3000 72            

Планировочные схемы АЗС на различное число заправок в сутки показаны на рис. 12.25 – 12.28 [31].

Ориентировочно можно считать, что общая площадь АЗС, соответственно, на 500 заправок должна составлять не менее 1500 м2, на 750 – 3000 м2, на
1000 – 4000 м2.

 

Рис. 12.25. Планировочная схема АЗС на 500 заправок в сутки:

1 – бензин Аи-80; 2 – бензин Аи-98; 3 – дизельное топливо

 

Рис. 12.26. Планировочная схема АЗС на 750 заправок в сутки:

1 – бензин Аи-92; 2 – бензин Аи-98; 3 – дизельное топливо

 

Рис. 12.27. Планировочная схема АЗС на 1000 заправок в сутки:

1 – бензин Аи-92; 2 – бензин Аи-95; 3 – дизельное топливо; 4 – бензин Аи-98

Рис. 12.28. Планировочная схема универсальной АЗС для заправки всех видов

автотранспорта: 1 – бензин Аи-80; 2 – бензин А-92; 3 – дизельное топливо;

4 – бензин АИ-95; 5 – бензин АИ-98; 6 – топливная смесь

 

В целях расширения сферы обслуживания личного автотранспорта существуют и проектируются АЗС с пунктами технического обслуживания автомобилей (рис. 12.29 – 12.30).

 

Рис. 12.29. Планировочная схема АЗС с пристроенным пунктом технического обслуживания автомобилей: 1 – здание АЗС; 2 – пункт технического обслуживания автомобилей;
3 – заправочные островки

 

 

Рис. 12.30. Планировочная схема АЗС со встроенным пунктом технического обслуживания автомобилей: 1 – мойка; 2 – пункт техобслуживания; 3 – операторная и торговый зал;
4 – заправочные островки

Пункты технического обслуживания автомобилей на АЗС должны иметь оборудование для наружной мойки и смазки автомобилей, приборы для регулировки ходовой части, а также средства диагностики технического состояния автомобилей.

Для нормальной работы и отдыха работников АЗС планировка здания должна соответствовать строительным нормам и правилам (СНиП). Технические характеристики зданий АЗС приведены в таблице 12.8.

 

Таблица 12.8

Техническая характеристика зданий АЗС различных категорий

Показатели Категория
I II III
Полезная площадь, м2 Распределение площади, м2: операторная; склад; раздевалка; санузел; комната отдыха Планировочный модуль, м Высота потолка, м Общая высота здания АЗС, м Расчетная температура, °С Расчетная снеговая нагрузка, МПа Ветровая нагрузка, МПа   4, 5 4, 5 2, 25 1, 5х1, 5 2, 5 3, 15 ±30   4, 5 4, 5 2, 25 – 1, 5х1, 5 2, 5 3, 15 ±30   2, 25 4, 5 2, 25 – 1, 5х1, 5 2, 5 3, 15 ±30

 

На рис. 12.31 а, б, в, г показана индивидуальная планировка АЗС с магазином по проекту Белгипрогаз г. Минск.

 

 

Рис. 12.31а. Общий вид магазина

 

Рис. 12.31б. Вид магазина

 

 
 
Фасад А-Б  


 

Рис. 12.31в. Вид магазина сбоку

 

 

Рис. 12.31г. Планировка здания АЗС

В плане здания АЗС указаны под номером 1 тамбур входа (2, 3 м2), 2 – торговый зал (24, 0 м2), 3 – кабинет директора (4, 0 м2), 4 – топочная (5, 5 м2), 5 – коридор (6, 5 м2), 6 – служебное помещение (3, 0 м2), 7 – тамбур (4, 0 м2), 8 – санузел (3, 0 м2).

На рис. 12.32 представлен генеральный план АЗС с экспликацией зданий и сооружений (табл. 12.9), основными показателями по генеральному плану (табл. 12.10), составом проекта, основными конструктивными решениями здания и сооружений АЗС, с планировкой помещения оператора и торгового зала и технико-экономическими показателями. На рис. 12.33 показано здание оператора с торговым залом.

Мощность АЗС – 500 заправок в сутки. Расчетный объем реализации нефтепродуктов в год – 7080 т. В том числе бензин Аи-80 – 2160 т, Аи-92 – 840 т, Аи-95 – 840 т, Аи-98 – 840 т, дизельное топливо – 2400 т.

 

Рис.12.32. Схема генерального плана АЗС

Рис. 12.33. Здание оператора с торговым залом

Таблица 12.9


Поделиться с друзьями:

mylektsii.su - Мои Лекции - 2015-2026 год. (0.883 сек.)Все материалы представленные на сайте исключительно с целью ознакомления читателями и не преследуют коммерческих целей или нарушение авторских прав Пожаловаться на материал