Студопедия

Главная страница Случайная страница

КАТЕГОРИИ:

АвтомобилиАстрономияБиологияГеографияДом и садДругие языкиДругоеИнформатикаИсторияКультураЛитератураЛогикаМатематикаМедицинаМеталлургияМеханикаОбразованиеОхрана трудаПедагогикаПолитикаПравоПсихологияРелигияРиторикаСоциологияСпортСтроительствоТехнологияТуризмФизикаФилософияФинансыХимияЧерчениеЭкологияЭкономикаЭлектроника






Состав сооружений типовых АЗС






На АЗС и АЗК обязательными являются: здание операторной, сооружения для очистки сточных вод, сооружения для размещения технологического оборудования (сооружения для установки и обслуживания резервуаров, короба для прокладки трубопроводов и кабелей, эстакады для слива нефтепродукта), информационные табло с указанием ассортимента отпускаемых нефтепродуктов, оказываемых услуг и видов обслуживаемого транспорта.

На АЗС могут размещаться следующие служебные и бытовые здания (помещения) для персонала АЗС: администрации, приема пищи, службы охраны, санузлов, кладовых для спецодежды, инструмента, запасных деталей, приборов и оборудования.

На АЗК, кроме того, должны быть построены здания для размещения пунктов технического обслуживания автомобилей и пунктов сервисного обслуживания потребителей (магазин сопутствующих товаров, кафе, рестораны, санузлы).

При этом здания и сооружения АЗК имеют следующие особенности:

– помещения операторных, станций технического обслуживания автомобилей (СТОА), кафе-баров, магазинов сопутствующих товаров, санузлов и т.п. могут располагаться в одном или нескольких зданиях;

– помещения, здания и сооружения АЗК могут оснащаться системами автоматического пожаротушения;

– закрытые пространства очистных сооружений АЗК могут оснащаться сигнализаторами взрывоопасных концентраций паров топлива;

– площадки для установки автоцистерн могут оснащаться сооружениями для отвода и сбора крупных проливов нефтепродуктов;

– территории зоны АЗС, СТОА, трансформаторных подстанций могут иметь ограждения.

На территории АЗС с наземными резервуарами, наряду с помещениями для персонала АЗС, допускается предусматривать помещение магазина сопутствующих товаров без торгового зала.

При этом указанные помещения должны быть выполнены в конструкциях, соответствующих степени огнестойкости основного здания, отделяться от помещения сервисного обслуживания водителей, пассажиров или их транспортных средств противопожарными перегородками и перекрытиями.

Не допускается объединять в едином здании:

– помещения сервисного обслуживания транспортных средств и помещения сервисного обслуживания водителей и пассажиров;

– помещения магазина, в котором предусмотрена продажа легковоспламеняющихся и горючих жидкостей, и помещения общественного питания.

В зданиях сервисного обслуживания транспортных средств допускается предусматривать не более трех постов технического обслуживания.

Здания и сооружения, расположенные на территории АЗС, должны быть I, II или III степени огнестойкости, как правило, одноэтажные. Допускается проектирование двухэтажных зданий общей площадью не более 150 м2, в которых отсутствуют складские помещения для легковоспламеняющихся и горючих жидкостей.

Конструкции зданий и материалы для их строительства должны приниматься в соответствии со степенью их огнестойкости.

С целью ускорения сроков строительства и его удешевления применяется блочно-панельный способ возведения зданий, когда целые блоки здания или их элементы поставляются на строительную площадку с максимальной заводской готовностью.

На территории АЗС должны быть установлены указатели расположения средств и систем пожаротушения и могут быть размещены художественно оформленные витрины и рекламные плакаты. Такое оформление должно выполняться по специальным дизайнерским проектам.

 

12.3. Устройство автозаправочных станций

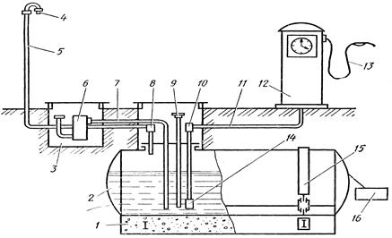
На рис. 12.1 показана схема стационарной АЗС, имеющей подземное размещение резервуара, снабженной огневыми предохранителями [2, 18].

Резервуар 2 полностью заглублен в землю так, что его наивысший уровень находится на расстоянии не менее 0, 2 м от поверхности земли. Крепится резервуар к бетонному основанию (фундаменту) 1 с помощью металлических хомутов 15. При отсутствии грунтовых вод в месте размещения резервуара возможна его установка без фундамента, прямо на песчаную подушку. В крышке горловины резервуара размещены: приемная 7, всасывающая 11, мерная 9 и воздушная 5 трубы. Приемная труба 7 своим наружным концом выведена в приемный люк 3 и сооб­щается с ним через топливный фильтр 6. Внутренний конец приемной трубы расположен ниже обратного клапана 14 всасывающей трубы 11 в так называемом «мертвом» остатке бензина, который создает гидравлический затвор. Он предохраняет поступление воздуха в резервуар при его заполнении и служит одновременно для огневой защиты.

 

Рис. 12.1. Стационарная АЗС: 1 – бетонное основание (фундамент);
2 – резервуар для топлива; 3 – приемный люк для топ­лива; 4 – огневой предохранитель
воздушной трубы; 5, 7, 11 – воздушная, приемная и всасы­вающая трубы;
6 – топливный фильтр; 8, 10 – угловые огневые предохранители воздушной и всасывающей труб; 9 – мерная труба; 12 – раздаточная колонка; 13 – раздаточный шланг; 14 – обратный клапан с фильтром; 15 – хомут для крепления резервуара; 16 – устройство для заземле­ния

 

Топливный фильтр 6 снабжен также сетчатым фильтром, находящимся во впускном патрубке, выполняющем роль огневого предохранителя. Угловые огневые предохранители 8 и 10 установлены в воздушной 5 и всасывающей 11 трубах. Кроме того, конец воздушной трубы, выведенный в атмосферу, также имеет огневой предохранитель 4 (гаситель пламени).

Внутри мерной трубы 9 расположен щуп с нанесенными делениями, которые в объемных единицах указывают степень наполнения резервуара. В современных АЗС процесс контроля уровня топлива и его учет выполняется при помощи автоматических устройств.

Одним из них является переносной электронный уровнемер «Hermetic», который предназначен для учета нефтепродуктов в ре­зервуарах. Уровнемер «Hermetic», называемый еще погружной рулеткой, обеспечивает одновременное измерение уровня жидких сред и температуры. Весит прибор около 4 кг и имеет точность измерения уровня ±2 мм, питается от батареи напряжением в
9 вольт.

Всасывающая труба 11 наружным концом соединена с раздаточной колонкой 12. В целях предохранения всего оборудования АЗС от разряда статического электричества резервуар 2 для топлива имеет заземляющее устройство 16. Огневые предохранители, устанавливаемые в трубопроводах оборудования станции, представляют из себя так называемую латунную сетку, имеющую от 144 до 220 ячеек на 1 см2. Ее помещают между фланцами защищаемой трубы в два слоя с зазором 3 – 5 мм.

Расстояния от раздаточных колонок нефтепродуктов до зданий и сооружений предприятий (СНиП 2.11.03-93 «Склады нефти и нефтепродуктов. Противопожарные нормы») следует принимать не менее, м:

1) до стен без проёмов зданий I, II, III степеней огнестойкости – 3;

2) до стен с проёмами зданий I, II, III степеней огнестойкости – 9;

3) до стен зданий IV, V степеней огнестойкости – 18.

На рис. 12.2 показаны технологические схемы АЗС с горизонтальным и вертикальным расположением резервуаров и монтажные параметры оборудования [31].

 

 

Рис. 12.2. Принципиальная технологическая схема АЗС:

а – с горизонтальным резервуаром; б – с вертикальным резервуаром

 

Монтажные размеры оборудования АЗС

Расстояние от конца приемного клапана до дна

резервуара а, мм................................................................................... 150

Расстояние от дна сливной трубы до дна

резервуара a1, мм.................................................................................. 100

Заглубление резервуара (крышки горловины),

не более h, мм....................................................................................... 1200

Заглубление технологических трубопроводов,

не менее b, мм....................................................................................... 200

Расстояние от колонки до резервуара с топливом,

не более L, мм....................................................................................... 30000

Расстояние от поверхности земли до «дыхательного»

клапана резервуара, не менее h1, мм................................................... 2500

Давление открытия дыхательного клапана, МПа……………............. 0, 01 – 0, 025

Минимальный уклон технологических трубопроводов

к резервуарам (% от длины):

Сливного.................................................................................................0, 5

Всасывающего........................................................................................0, 2

Вентиляционного…………………………………………………………….0, 2


Полный объем цилиндрического вертикального резервуара

V = ∙ D2/4∙ h, (12.1)

где D – внутренний диаметр; h – высота резервуара.

В таблице 12.2 приведены технические характеристики резервуаров, применяемых на АЗС для хранения топлива.

В таблице 12.3 приведены величины емкостей топливных баков легковых, грузовых автомобилей и автобусов. По средней расчетной вместимости топливного бака и числа заправок в сутки определяется необходимая емкость резервуаров АЗС.

Схемы генеральных планов АЗС должны учитывать следующие основные технологические требования:

– возможность заправки топливом автотранспорта с левосторонним, правосторонним и двухсторонним расположением топливных баков;

– независимый подъезд автотранспорта к заправочным колонкам;

– минимальную протяженность коммуникаций топлива;

– оптимальные радиусы поворота для автотранспорта;

– достаточную зону отстоя для машин, ожидающих заправку;

– возможность контроля мест заправки оператором из здания АЗС.

Выбор вместимости резервуаров и их количества зависит от мощности АЗС, которая характеризуется количеством заправок в сутки (250, 500, 750, 1000), видом топлива (бензин, дизельное топливо), емкостью топливного бака.

Стационарные АЗС, кроме количества заправок в сутки, характеризуются способностью производить число заправок в час в период максимального скопления автомобилей (часы «пик»). Для 250 – это 57 заправленных автомобилей, для 500 – 100, для 750 – 135, для 1000 – 170.

Параметры резервуаров для хранения нефтепродуктов приведены в таблице 12.2 [30, 60].

Таблица 12.2

Технические характеристики резервуаров для хранения нефтепродуктов

Номинальная вместимость, м3 Наружный диаметр, мм Длина, мм; Высота, мм Толщина стенки, мм   Масса, кг
Горизонтальные
    2036 (длина)    
         
         
         
Вертикальные
    2018 (высота)    
         
         
         

В таблице 12.3 приведена вместимость топлива в баках легковых, грузовых автомобилей и автобусов. Коэффициент использования емкости заправочных баков автомобилей составляет 0, 2 – 0, 4. Водители заправляют бак, когда в нем находится примерно 30 – 50 % топлива. Из 100 автомобилей, находящихся в эксплуатации, – 80 легковых и 20 грузовых. В среднем за одну заправку в бак автомобиля заливают 75 л бензина (при емкости топливных баков от 50 до
450 л). Учитывая, что в баке перед заправкой находится до 30 % топлива, то одна средняя заправка составляет примерно 50 литров бензина. Можно предположить, что для АЗС мощностью 500 заправок в сутки одним видом топлива, например бензином, емкость цистерны должна соответствовать не менее 25000 л или
25 м3.

 

Таблица 12.3

Вместимость топливных баков автомобилей

Тип автомобиля Грузоподъемность, т Емкость бака, л
Легкие грузовики 2, 5  
Средние грузовики 5, 0  
Тяжелые грузовики 10, 0  
Автобусы 3 – 8  
Легковые автомобили 0, 5  

 

При заправке дизельным топливом средняя заправка составляет примерно 100 л.

Емкость топливного бака должна обеспечивать бесперебойную работу трактору не менее 10 – 12 часов, а автомобилю – пробег в тяжелых дорожных условиях не менее 300 – 400 км.

Часовой расход топлива для трактора определяется из выражения

Gч = qе∙ Nе, (12.2)

где qе – удельный расход топлива, кг/(кВт∙ ч), для дизельных двигателей он составляет 0, 2 – 0, 23; Nе – мощность двигателя на номинальном режиме, кВт.

Затраты топлива на 100 км пробега автомобиля определяются по методике, изложенной в разделе 11 данного учебного пособия (нормы расхода топлива).

Время, затрачиваемое на заправку одного автомобиля, принимается для бензина 3 мин, для дизельного топлива – 5 мин. Одной бензоколонкой за 1 час времени можно заправить до 15 легковых автомобилей [1, 18].

Более подробные данные о среднезаправочной дозе автомобилей в л и времени заправки в мин приведены в таблице 12.4. Подача насосов топливозаправочных колонок принята равной 40 л/мин.

 

Таблица 12.4

Время одной заправки различных автомобилей в минутах

Тип автомобиля Средняя заправочная доза, л Время одной заправки, мин
Грузовые и специальные бензиновые    
Грузовые с дизельными двигателями   4, 5
Автобусы общего пользования    
Легковые автомобили    

 

Мощность АЗС и их количество в данном регионе зависят от числа автомобилей, тракторов, комбайнов, дорожной и другой техники. В России эксплуатируется более 35 млн. автомобилей.

В г. Омске в 2005 году было зарегистрировано 238 500 автомобилей и автобусов. Число легковых автомобилей составило 200 000, грузовых – 30 000, автобусов – 8 500 штук.

Основным видом топлива для автомобилей пока является бензин (60 – 70 %), затем дизельное топливо (20 – 30 %) и газ (10 – 20 %). Трактора и комбайны работают в основном на дизельном топливе.

 


Поделиться с друзьями:

mylektsii.su - Мои Лекции - 2015-2026 год. (1.514 сек.)Все материалы представленные на сайте исключительно с целью ознакомления читателями и не преследуют коммерческих целей или нарушение авторских прав Пожаловаться на материал