Студопедия

Главная страница Случайная страница

КАТЕГОРИИ:

АвтомобилиАстрономияБиологияГеографияДом и садДругие языкиДругоеИнформатикаИсторияКультураЛитератураЛогикаМатематикаМедицинаМеталлургияМеханикаОбразованиеОхрана трудаПедагогикаПолитикаПравоПсихологияРелигияРиторикаСоциологияСпортСтроительствоТехнологияТуризмФизикаФилософияФинансыХимияЧерчениеЭкологияЭкономикаЭлектроника






Информация и документация АЗС






При осуществлении контроля и надзора проверяется наличие на АЗС следующей информации [40]:

а) организационно-правовая форма и форма собственности организации;

б) наименование организации (Ф.И.О) индивидуального предпринимателя;

в) номер (при наличии) или наименование данной АЗС;

г) место нахождения (адрес) и контактный телефон организации;

д) перечень реализуемой продукции с указанием розничных цен и оказываемых услуг, включая услуги по заправке автотранспортных средств работниками АЗС. Розничные цены и стоимость оказываемых услуг утверждаются руководителем организации;

е) режим или особые условия работы;

ж) фамилии, имена, отчества работающих операторов;

з) ответственный за пожарную безопасность и охрану труда;

и) указатели организации движения автотранспорта по территории АЗС;

к) информация об особенностях работы с отдельными типами ТРК;

л) информация об обязанностях водителей при заправке автотранспорта и правилах поведения при нахождении на территории АЗС;

м) порядок очередности при обслуживании автотранспорта.

Допускается нанесение фирменных знаков, символов, логотипов на зданиях, сооружениях, конструкциях АЗС, установка флагштоков с фирменными вымпелами, флагами организации. Нанесенные фирменные знаки, символы, установленные флагштоки с вымпелами, флагами не должны нарушать условий безопасности эксплуатации АЗС.

Вся информация должна быть хорошо различима и читаема. Информация выполняется на русском языке. По усмотрению руководства АЗС информация может быть выполнена дополнительно на языках национального или межгосударственного общения.

При осуществлении контроля и надзора проверяется наличие на АЗС следующей документации [40]:

а) документ о регистрации в качестве юридического лица или индивидуального предпринимателя;

б) лицензия на осуществление данного вида деятельности или заверенная копия;

в) паспорт АЗС с технологической и электрической схемами, схемами молниезащиты и заземления;

г) настоящие Правила технической эксплуатации АЗС;

д) паспорта на резервуары;

е) формуляры (паспорта), руководства по эксплуатации на топливораздаточные и маслораздаточные колонки, журналы учета работы ТРК (МРК);

ж) градуировочные таблицы на резервуары;

з) план и порядок действий персонала АЗС при возникновении и ликвидации возможных аварийных и чрезвычайных ситуаций, согласованный с компетентными организациями в установленном порядке;

и) инструкции:

– по охране труда работников АЗС при выполнении всех технологических операций, при выполнении работ по обслуживанию и ремонту технического и технологического оборудования;

– пожарной безопасности;

– эксплуатации очистных сооружений;

к) паспорта технического и технологического оборудования систем вентиляции и кондиционирования воздуха, водоснабжения, отопления, электродвигателей, насосов;

л) инструкции работников АЗС по исполнению функциональных обязанностей;

м) журнал учета поступления нефтепродуктов;

н) журнал учета ремонта технического и технологического оборудования;

о) сменный отчет (в соответствии с действующей документацией);

п) график поверки на все средства измерения (СИ) и свидетельства или иные документы, подтверждающие факт выполнения поверки СИ;

р) книга жалоб и предложений;

с) утвержденный прейскурант цен на товары и услуги;

т) паспорта (сертификаты) качества на товары;

у) документация о выполнении всех видов проверок и испытаний электрического оборудования АЗС;

ф) приказы руководства организации о назначении лиц, ответственных за эксплуатацию АЗС, эксплуатацию электрооборудования, метрологическое обеспечение;

х) документы о регистрации контрольно-кассовых машин в налоговых органах.

По решению владельца АЗС допускается ведение на АЗС дополнительной документации по учету товарно-материальных ценностей и эксплуатации АЗС.

 

Контрольные вопросы

1. Общие сведения об АЗС, их классификация.

2. Назначение и устройство АЗС, основное и вспомогательное оборудование, входящее в структуру АЗС.

3. Схемы АЗС с вертикальными и горизонтальными резервуарами.

4. Укажите основные характеристики резервуаров АЗС.

5. Монтажные размеры оборудования АЗС.

6. Как определяется мощность АЗС (количество заправок в сутки)?

7. Основные системы АЗС – наливные устройства, огневые предохранители, дыхательные клапаны, мерные устройства, заправочные колонки, заземление.

8. Устройство топливозаправочных колонок, расчет их количества для АЗС определенной мощности.

9. Эксплуатация оборудования АЗС.

10. Генеральный план и технологическая схема АЗС.

11. Нормы и правила размещения АЗС.

12. Планировка АЗС (индивидуальные и типовые проекты).

13. Проектные и эксплуатационные расчеты АЗС.

14. Техническая характеристика типовых зданий АЗС.

15. Индивидуальное строительство зданий АЗС.

16. Принцип действия турбинного расходомера.

17. Принцип действия радиолокационного уровнемера.

18. Меры пожарной безопасности на АЗС.

19. Порядок приема и выдачи нефтепродуктов на АЗС.

20. Информация и документация АЗС.

21. Охрана окружающей природной среды.


13. АВТОМОБИЛЬНЫЕ ГАЗОНАПОЛНИТЕЛЬНЫЕ СТАНЦИИ

 

Рациональным решением проблемы обеспечения топливом автомобильного транспорта при условии непрерывного роста автомобильного парка и объема перевозок в стране является использование в качестве топлива сжатых природных газов (СПГ) и сжиженных нефтяных газов (СНГ).

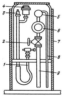
В двигателях внутреннего сгорания кроме бензина, дизельного топлива используют сжатые и сжиженные газы. В качестве сжатого газа применяют природный метан СН4, сжиженных газов – пропан-бутановую смесь или жидкий метан. Сжатый газ используют в грузовых автомобилях и тракторах. На рис. 13.1 показано газохранилище и пункт выдачи газа.

 

 

Рис. 13.1. Хранение и выдача газа

 

Запасы источников природных газов позволяют создать разветвленную сеть станций по заправке газобаллон­ных автомобилей, что сокращает потребность в дорогостоящих жидких нефте­продуктах и снижает негативные экологические последствия их исполь­зования.

Планировка и характеристика газонаполнительных станций

Автомобильные газонаполнительные станции ( АГНС) по своей организационно-технической структуре относятся к системе снабжения автотранспорта моторным топливом. На рис. 13.2 и 13.3 показаны виды газозаправочных станций.

Снабжение газобаллонных автомобилей сжатым природным газом предусматривает создание базовых стационарных автомобильных газонаполнительных компрессорных станций (АГНКС) и передвижных автогазозаправщиков (ПАГЗ).

 

Рис. 13.2. Газозаправочная станция

 

 

 

Рис.13.3. Открытая газозаправочная станция

 

При создании сети стационарных АГНКС в первую очередь необходимо соблюдать условие близкого расположения станции к магистральному газопроводу или газопроводу-отводу, по которым природный газ поступает с мест его получения и переработки. К дополнительным требованиям при размещении АГНКС следует отнести возможность подвода инженерных коммуникаций (воды, электроснабжения) и соблюдение требований пожарной охраны и безопасности труда. Стационарные АГНКС в целях их безопасной эксплуатации и оздоровления воздушного бассейна города размещают на автомобильных магистралях за городской чертой.

Автомобильные стационарные газонаполнительные компрессорные станции (АГНКС) сжатого газа в зависимости от производитель­ности и условий эксплуатации подразделяются следующим образом:

– производительностью 40 – 50 тыс. м3 в сутки, размещающиеся за городской чертой на магистральных шоссе;

– производительностью 20 – 30 тыс. м3 в сутки, размещающиеся за городской чертой на магистральных шоссе средних городов;

– производительностью 10 – 20 тыс. м3 в сутки, для размещения за городской чертой на автодорогах в средних и мелких населенных пунктах.

Техническая характеристика стационарных АГНКС

Производительность, заправок в сутки..................................................... 500

Объем средней заправки, м3....................................................................... 100

Потребляемая мощность одного компрессора, кВт................................. 125

Число компрессоров.................................................................................... 5

Число газозаправочных колонок................................................................ 8

Объем аккумуляторов газа (два аккумулятора), в м3.............................. 18

Площадь земельного участка, в га............................................................. 0, 67

Коэффициент загрузки компрессоров....................................................... 0, 5

Списочное число обслуживаемых автомобилей

с газобаллонным оборудованием………………………………………….1120

Передвижные автогазозаправщики производительностью 1000 – 4000 м3 за один рейс используются преимущественно для заправки городских газобаллонных автомобилей, удаленных от стационарных АГНКС.

Передвижные автогазонаполнительные станции представляют собой автопоезд, состоящий из автомобиля-тягача и полуприцепа, на котором смонтирована газобаллонная установка с блоками выдачи газа автомобилям и заправки самого автозаправщика.

Метано-заправочная станция автомобильного типа (МЗС-АТ-2000-25) предназначена для заправки автомобильной и сельскохозяйственной техники газообразным метаном в отдаленных местах от стационарных автозаправочных станций.

Метановоз-заправщик в комплекте с прицепом одновременно перевозит
72 баллона со сжатым метаном (СН4) до давления 19, 6 МПа (196 кгс/см2).

Метановоз-заправщик состоит из транспортной базы автомобиля ЗИЛ-130 с двухрядной кабиной. Во второй кабине установлен пульт управления, что позволяет обслуживать данный метановоз в любых климатических условиях.

Так как в баллонах передвижных автогазозаправочных станций (ПАГЗ) остается значительное количество остаточного газа, который нельзя использовать для заправки баллонов автомобилей, для увели­чения степени опорожнения баллонов ПАГЗ применяют компрессорный или эжекторный способы отбора газа.

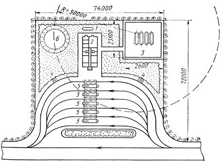
АГНКС комплектуются оборудованием для производства и хранения газомоторного топлива, которое размещается в производственно-технологическом корпусе станции и вне его на площадке, а также оборудованием для постов выдачи газа, которое устанавливается на автозаправочной площадке (рис. 13.4). Заправочные посты для обеспечения безопасности отделены друг от друга бетонными перегородками [31].

 

 

Рис. 13.4. Планировочная схема АГНКС: 1 – производственный корпус;
2 – автогазонаполнительные посты; 3 – бетонные перегородки; 4 – навес;
5 – металлическая ограда станции

 

Принятая на АГНКС ступенчатая заправка автомобильных балло­нов
(рис. 13.5) состоит в том, что закачка газа осуществляется через два или более аккумулятора. В каждом аккумуляторе поддерживается своё давление газа и баллоны автомобиля заправляются из этих акку­муляторов поочередным подключением, начиная с низкого давления и кончая аккумулятором с самым высоким давлением [31].

На каждой газозаправочной колонке имеется шланг высокого давления со специальной головкой для присоединения к газобаллонной системе автомобиля.

Основными технологическими процессами на АГНКС управляют дистанционно со щита управления. Станции должны быть оборудованы системами отопления, вентиляции, водоснабжения, связи, а также системой сигнализации опасности.

Автогазозаправочные станции (АГЗС) служат для заправки газо­баллонных автомобилей сжиженным газовым топливом.

Газозаправочная колонка (рис. 13.6) имеет арматуру для раздачи газа при ручном управлении, для продувки заправочных линий, датчики давления и температуры газа, обеспечивающие возможность дистанционной регистрации показаний и автоматического управления заправкой, систему световой сигнализации наполненности баллонов.

 

 

Рис. 13.5. Технологическая схема АГНКС: 1 – расходомер; 2 – фильтр; 3 – сепаратор;
4 – компрессоры; 5 – межступенчатые концевые холодильники; 6 – адсорбер для газа;
7 – подогреватель; 8 – аккумулятор низкого давления; 9 – аккумулятор высокого давления; 10 – трехходовые краны; 11 – заправочные шланги

 

 

Рис. 13.6. Принципиальная схема колонки для заправки газобаллонных автомобилей
сжиженным газом: 1 – заправочный шланг; 2 – вентиль; 3 – клапан предохранительный;

4 – водоотделитель; 5 – насос; 6 – электродвигатель; 7 – кожух;

8 – переливная труба; 9 – всасывающая труба

В таблице 13.1 приведены технические характеристики АГЗС, предназначенные для заправки автомобилей сжиженной пропан-бутановой смесью газов.

 

Таблица 13.1

Техническая характеристика АГЗС

Показатели Проект
503-136  
Номинальная производительность, заправок/сут. Средняя заправочная доза, л Площадь земельного участка, м2 Число резервуаров для газа вместимостью, м3: – 25; – 5 Число, колонок: слива газа из автоцистерн; для заправки автомобилей Число компрессоров Максимальное давление в трубопроводе, МПа     1, 6     1, 6

 

На рис. 13.7 показана колонка для заправки сжиженным газом автомобилей. Колонка фиксирует количество в литрах сжиженного топлива и его стоимость.

 

 

 

Рис. 13.7. Колонка для заправки автомобилей сжиженным газом

 

Для снабжения газобаллонных автомобилей сжиженным газом предусмотрены кустовые базы сжиженного газа и автомобильные га­зонаполнительные станции (АГНС). Транспортируют сжиженный газ в железнодорожных и автомобильных цистернах.

Кустовые базы предназначены для приемки сжиженного газа с места его производства, хранения и снабжения им АГНС. В отличие от АГНС кустовые базы располагают более мощным перекачи­вающим и разливочным оборудованием и парком автоцистерн.

На кустовых базах выполняют следующие технологические операции: слив сжиженного газа из железнодорожных цистерн в стационарные резервуары; хранение запаса сжиженного газа; разлив сжиженного газа из стационарных резервуаров в автоцистерны; техническое обслу­живание оборудования и автоцистерн. Для выполнения указанных операций на кустовых базах предусматриваются: железнодорожный тупик с эстакадой для слива и налива топлива; склад сжиженного газа; блоки производственных и вспомогательных помещений; гараж с открытой стоянкой автоцистерн; колонки для наполнения автоцистерн сжиженным газом, а специальных резервуаров – водой (на случай пожара).

Наличие мощных кустовых баз сжиженного газа позволяет создать широкую сеть АГНС. В зависимости от экономических затрат и структуры газоснабжения могут быть выбраны три типа размещения резервуарного парка АГНС: стационарный, полустационарный и передвижной. В нашей стране наибольшее распространение получили стационарные и передвижные АГНС.

Размещение стационарных АГНС на территории города (района) производится с учетом дислокации парка газобаллонных автомобилей и сокращения числа пробегов автомобилей для заправки сжиженным газом. АГНС располагают вблизи АТП (в основном в промышленно-складских и коммунальных зонах города), а также на ма­гистралях и улицах с интенсивным движением автомобильного тран­спорта.

При выборе территории для размещения АГНС следует учитывать, что резервуары для хранения сжиженного газа представляют опреде­ленную пожарную опасность. При строительстве и эксплуатации газовых заправочных станций необходимо учитывать СНиП-II-37-76, а также Правила безопасности в газовом хозяйстве.

АГНС (рис. 13.8) включает в себя хранилище сжиженного газа из четырех резервуаров; насосно-компрессорное отделение, колонки для перекачки газа из автоцистерн в резервуары станции, колонки для заправки газом газобаллонных автомобилей, систему автоматической сигнализации опасности, сантехнические, электрические и другие системы [2].

 

Рис. 13.8. Генеральный план стационарной АГНС: 1 – промежуточная емкость;
2 – производственное здание; 3 – хранилище газа; 4, 5 – слив­ные и наполнительные колонки; 6 – резервуар с водой для пожаротушения

 

При размещении оборудования АГНС следует выполнить следующие требования. Максимальный объем группы резервуаров со сжиженным газом АГНС, расположенной на ее территории, не должен превышать 100 м3, а объем одного резервуара – 25 м3 (СНиП 11-37-76).

Минимальное расстояние от резервуаров с газами составляет: до здания насосно-компрессорного отделения и установок испарения и сме­шивания газов – 10 м; до колонок для заправки и перекачивания газов – 20 м.

На АГНС сжиженного газа производится заправка автомобилей, учет отпущенного газа, хранение его запаса и слив из баллонов авто­мобилей. Кроме того, АГНС осуществляет надзор за техническим со­стоянием автомобильных газовых баллонов. Стационарные АГНС выполнены по типовому проекту, разработанному институтом МосгазНИИпроект. Эти станции имеют подземные резервуары общей емкостью 100 м3 и технологическое оборудование, обеспечивающее прием, хранение, перекачку и учет сжиженного газа. Перемещение сжиженного газа производится вихревыми насосами С-5/140 производительностью 5 м3/ч.

Для перемещения паров сжиженного газа и создания в емкости избыточного давления применяют компрессор АВ-15; давление, обеспечиваемое компрессором – 1, 2 МПа. Как показала практика, компрессор включается периодически и за 8 ч работы насосов его работа в общей сложности составляет не более 2 ч.

Для наполнения автомобильных газовых баллонов сжиженным газом предназначены пять наполнительных колонок, каждая из кото­рых снабжена шлангами с присоединительными устройствами и счет­чиками УИЖГ-20 расхода газа.

Передвижные АГНС размещаются также на стационарных площадках. Площадки для передвижных АГНС, имеющих объём резервуаров для сжиженного газа до 12 м3, должны находиться на определенных расстояниях от общественных, жилых и промышленных зданий и сооружений, железной дороги, общей сети, а также стоянок автомобилей и автомобильных дорог. Выбор площадки обусловливается и удобством въезда (выезда) автомобилей. Они также должны быть оборудованы твердым покрытием, иметь предупреждающие надписи («Осторожно, газ!», «Не курить!») и обеспечивать энергопитание для станции и освещение территории в темное время суток. Кроме того, на площадках предусматривается место заземления станции для снятия статического электричества.

Передвижные газонаполнительные станции модели ЦП ПЗ-12-885 разработаны на базе стационарных станций и представляют собой авто­цистерну безрамной конструкции с автомобилем-тягачом ЗИЛ-130В1. В верхней части цистерны установлены два предохранительных клапана; в центре заднего днища расположен предназначенный для внутреннего осмотра емкости люк, в крышке которого находятся контрольно-измерительные приборы. В задней части автоцистерны на подрамнике смонтировано технологическое оборудование, позволяющее заправлять цистерну сжиженным газом, сливать газ в стационарные емкости и заправлять автомобильные баллоны. Сжиженный газ перемещается с помощью центробежного насоса С-5/140 с электроприводом идвух электрических испарителей сжиженного газа. Раздача газа в автомобильные баллоны производится через счетчик УИЖГ-20. Резервуар и другие элементы цистерны закрывают кожухом, предохраняющим их от нагревания солнечными лучами. Поверхности кожуха и цистерны окрашивают в светло-серый или серебристый цвет; вдоль цистерны наносят красную полосу и делают надпись «Пропан,
огнеопасно». Техническая характеристика газонаполнительной станции
ЦП ПЗ-12-885 приведена ниже.


Поделиться с друзьями:

mylektsii.su - Мои Лекции - 2015-2026 год. (1.014 сек.)Все материалы представленные на сайте исключительно с целью ознакомления читателями и не преследуют коммерческих целей или нарушение авторских прав Пожаловаться на материал