Студопедия

Главная страница Случайная страница

КАТЕГОРИИ:

АвтомобилиАстрономияБиологияГеографияДом и садДругие языкиДругоеИнформатикаИсторияКультураЛитератураЛогикаМатематикаМедицинаМеталлургияМеханикаОбразованиеОхрана трудаПедагогикаПолитикаПравоПсихологияРелигияРиторикаСоциологияСпортСтроительствоТехнологияТуризмФизикаФилософияФинансыХимияЧерчениеЭкологияЭкономикаЭлектроника






Генер пост тока параллельного возбуж. Схема. Основ хар-ки.






Определение. Генераторами параллельного возбуждения называют генераторы, обмотка возбуждения которых питается от ЭДС обмотки якоря и подключена к выводам якоря машины параллельно цепи нагрузки.

Ток якоря у щеток разделяется на ток возбужд. и ток нагр. Ия=И+Ив.

Внеш хар-ка U=f(I) при IВ=const и n=nном=const (2 и 2а) отл. от внеш. хар-ки ген. неза. возб.я более резким снижением напряжения при увеличении нагрузки. Это объясняется следующим образом: уменьшение напряжения по тем же причинам, что и у генератора независимого возбуждения, приводит к уменьшению тока возбуждения, дополнительному уменьшению ЭДС генератора.

Регу. хар-ка генератора IВ=f(I) при U=const и n=nном=const аналогична регулировочной характеристике генератора независимого возбуждения (2), но идет несколько круче, что объясняется более, значительным уменьшением напряжения генератора.

 

7Ген-ры пост. тока послед.возб.

В генераторах последовательного возбуждения обмотка возбуждения включается последовательно с обмоткой якоря и нагрузкой, поэтому ток возбуждения, ток якоря и ток нагрузки — это один и тот же ток: I=Iя=Iв. Генератор может возбуждаться только под нагрузкой, и с увеличением тока нагрузки его напряжение растет. Внешняя характеристика генератора последовательного возбуждения (1). Так как напряжение генератора сильно изменяется при изменении нагрузки, он не может быть использован для питания потребителей, рассчитанных на постоянное напряжение, а поскольку их большинство, то он применяется только Для питания специальных устройств.ххх и рег.хар-ки отсутств.

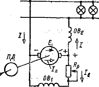
8Ген-ры пост. тока с смеш.возб

Генераторы смешанного возбуждения-имеютдве обмотки возбуждения;

Обм. ОВ1 включена параллельно, a ОВ2 — последовательно с нагрузкой). Обе обмотки намотаны на одни, и те же полюсы и их магнитные потоки направлены согласно или встречно.(2).

И=Ив2+Ив1

 

 

9. Двиг-ль пост тока. Осн вел. и хар-ки.

 

Основные уравнения и величины, характеризую­щие двигатели. Такими величинами являются: механичес­кая мощность на валу питающее напряжение U, ток, потребляемый из сети /, ток якоря /я, ток возбуждения /0, частота вращения п, электромагнитный момент Мэм. Зави­симость между этими величинами описывается: •уравнением электромагнитного момента

9. Электрические двигатели постоянного тока.

Если возбудить машину постоянного тока и подключить якорь к сети, она начинает работать двигателем. Двигатели работают, как правило, при неизменном напряжении сети. Лишь в специальных случаях, когда требуется регулирование скорости (частоты вращения ω) двигателя в широких пределах, напряжение на его зажимах изменяется

Выясним условия устойчивой работы двигателя. На рисунке 7.12 изображена зависимость статического момента сопротивления на валу двигателя, возрастающего с увеличением скорости. Предположим, что электромагнитный момент двигателя также возрастает по мере увеличения скорости, но медленнее статического момента (сплошная линия). Точка пересечения кривых соответствует работе двигателя с постоянной скоростью, так как момент сопротивления уравновешивается электромагнитным моментом. Если по каким-либо причинам скорость двигателя увеличится, момент сопротивления станет больше электромагнитного и якорь затормозится. При уменьшении скорости электромагнитный момент превысит момент сопротивления и двигатель будет ускоряться, пока его скорость не примет прежнего значения. Работа будет устойчивой. Если электромагнитный момент (штриховая кривая ) возрастает быстрее момента сопротивления, то он может стать больше момента сопротивления и двигатель будет непрерывно разгоняться. При уменьшении электромагнитного момента преобладает момент сопротивления и двигатель затормозится. Работа будет неустойчивой. Для устойчивой работы двигателя необходимо, чтобы электромагнитный момент возрастал медленнее момента сопротивления:

Двигатели постоянного тока обладают свойством саморегулирования – при изменении нагрузки автоматически устанавливается новое значение скорости, при которой двигатель работает устойчиво. Роль регулятора играет противо-ЭДС, возникающая в обмотке якоря. В установившемся режиме (Mэм=Мс) ток, потребляемый двигателем, определяется моментом на валу:

Из основного уравнения двигателя

следует, что скорость определяется электромеханической характеристикой

При подстановке получим механическую характеристику двигателя

 

10. Двиг-ль пост тока парал возбужд. Схема. Механич хар-ки.

Обмотка якоря и обмотка возбужд вкл параллельно. ток, I – ток, потребляемый двигателем из сети, IЯ - ток якоря, IВ - ток возбуждения. Из 1з-на К-фа следует I=IЯ+IВ.

Естеств мех хар-ка опис ф-лой . При хол ходе М=0 и nx=U/CEФ. Если Ф=const, то ур-е мех хар-ки приним вид: n=nx-bM. Мех эн – прямая с углом накл α и углов коэф b. Т.к у двиг-ля пост тока сопротив якоря мало, то с увелич нагрузки на валу частота вращ измен-ся незнач. – эта хар-ка назыв «жесткими».

 

СИНХРОННЫЕ МАШИНЫ.

 


Поделиться с друзьями:

mylektsii.su - Мои Лекции - 2015-2026 год. (1.407 сек.)Все материалы представленные на сайте исключительно с целью ознакомления читателями и не преследуют коммерческих целей или нарушение авторских прав Пожаловаться на материал