Студопедия

Главная страница Случайная страница

КАТЕГОРИИ:

АвтомобилиАстрономияБиологияГеографияДом и садДругие языкиДругоеИнформатикаИсторияКультураЛитератураЛогикаМатематикаМедицинаМеталлургияМеханикаОбразованиеОхрана трудаПедагогикаПолитикаПравоПсихологияРелигияРиторикаСоциологияСпортСтроительствоТехнологияТуризмФизикаФилософияФинансыХимияЧерчениеЭкологияЭкономикаЭлектроника






Шахтные колодцы






Шахтные колодцы, в отличие от скважин, представляют собой вертикальные выработки с большими размерами поперечного сечения (1 – 3 м) и относительно небольшой глубиной (до 30 м). Применяются шахтные колодцы чаще всего для забора воды из безнапорных водоносных пластов в системах водоснабжения небольшой производительности.

 

 

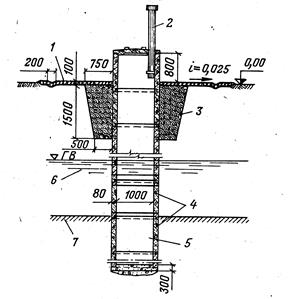
Рис. 10. Шахтный колодец

 

1 – отмостка; 2 – вентиляционная труба; 3 – глиняный замок; 4 – железобетонные кольца (в зоне приема воды с вставками из пористого бетона); 5 – отстойник-накопитель (зумпф); 6 – водоносный грунт; 7 – водоупорный грунт

Шахтный колодец (рис. 10) состоит из водоприемной части, ствола и наземной части (оголовка). Часто для создания запаса воды и ее отстаивания внизу шахтного колодца устраивают отстойную часть (зумпф), глубина которой может достигать 10 м. Оголовок должен возвышаться над поверхностью земли не меньше чем на 0, 8 м и закрываться крышкой. Шахтный колодец оборудуют вентиляционной трубой, которую выводят выше поверхности земли не меньше чем на 2 м.

Для предохранения воды от загрязнений вокруг колодца устраивают глиняный замок глубиной 1, 5 – 2 м, шириной 0, 5 м, закрытый сверху отмосткой.

Устраивают шахтные колодцы из кирпича, дерева, бетона и железобетона. Наибольшее распространение получили колодцы, выполняемые из сборных железобетонных колец диаметром 1 м при помощи агрегатов КШК.

В зависимости от гидрогеологических условий и глубины шахтного колодца забор воды устраивают только в его стенах, только в дне или в стенах и дне.

Горизонтальные водосборы (водозаборы)

Горизонтальные водосборы состоят из водоприемной части (горизонтальной дрены), водоотводящей (водопроводящей) части, смотровых и вентиляционных колодцев и сборных резервуаров.

Применяются для забора воды при малой глубине водоносного пласта (до 5 – 8 м) и малой его мощности. Горизонтальные водосборы наиболее эффективны при необходимости перехвата широкого потока подземных вод в речных долинах.

 

 

Рис. 11. Горизонтальный водозабор трубчатого типа

 

1 – сборный колодец; 2 – смотровой колодец; 3 – одерновка; 4 – дренажная обсыпка (галька); 6 – переливная труба; 7 – дренажная водосборная труба; 10 – железобетонные кольца; 13 – вентиляционная труба; 16 – водоупорный пласт

 

Горизонтальные водозаборы (горизонтальные водосборы) бывают траншейными (каменно-щебеночными и трубчатыми), а также в виде проходных галерей или штолен.

Каменно-щебеночные водозаборы применяют при захвате подземных вод на глубине 2 – 3 м от поверхности земли, трубчатые – при глубине залегания подземных вод до 4 – 5 м, водосборные галереи – на глубине не больше 6 – 8 м.

 

 

Рис. 12. Траншейные водосборы

 

а – каменно-щебеночный; б – трубчатый; 1 – обратная засыпка траншеи местным грунтом; 2 – глиняный замок; 3 – крупнозернистый песок; 4 – гравий; 5 – камень; 6 – дренажная пористая труба


Поделиться с друзьями:

mylektsii.su - Мои Лекции - 2015-2026 год. (1.282 сек.)Все материалы представленные на сайте исключительно с целью ознакомления читателями и не преследуют коммерческих целей или нарушение авторских прав Пожаловаться на материал