Студопедия

Главная страница Случайная страница

КАТЕГОРИИ:

АвтомобилиАстрономияБиологияГеографияДом и садДругие языкиДругоеИнформатикаИсторияКультураЛитератураЛогикаМатематикаМедицинаМеталлургияМеханикаОбразованиеОхрана трудаПедагогикаПолитикаПравоПсихологияРелигияРиторикаСоциологияСпортСтроительствоТехнологияТуризмФизикаФилософияФинансыХимияЧерчениеЭкологияЭкономикаЭлектроника






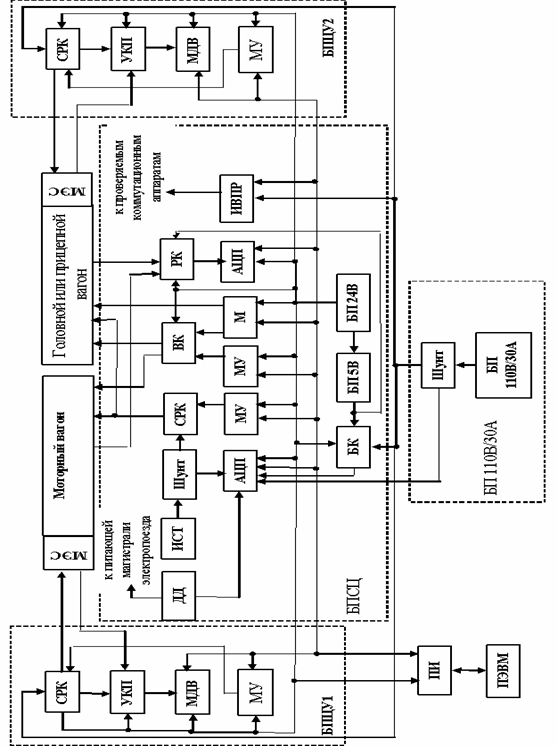
Устройство комплекса технической диагностики






Система АСТДЭ состоит из отдельных функциональных блоков (блок проверки силовых цепей БПСЦ, блоки проверки цепей управления БПЦУ1 и БПЦУ2, блок питания БП 110В/30А), выполняющих обособленный набор задач. Структурная схема системы приведена на рисунке 9.1.

Блок проверки силовой цепи БПСЦ конструктивно выполнен в виде шкафа со съемными боковыми стенками. Внутри шкафа расположены измерительные и коммутационные модули, источник стабилизированного тока, мегомметр, высоковольтный коммутатор, блок питания. Разъемы для подключения блоков БПЦУ1 и БПЦУ2 расположены на верхней панели шкафа, а разъемы для подключения к источнику напряжения и проверяемым цепям на нижней панели шкафа.

Блоки проверки цепей управления БПЦУ1 и БПЦУ2 конструктивно выполнены в виде шкафов, внутри которых расположены измерительные и коммутационные модули, платы нормализаторов сигнала. Разъемы для подключения измерительных, силовых и интерфейсных кабелей расположены на верхней панели шкафа.

Блок питания 110В/30А конструктивно выполнен в виде шкафа, с открывающимися боковыми стенками. На лицевой панели источника напряжения располагаются измерительные приборы, измерительный разъем для подключения к блоку БПСЦ. Кнопки «Включение», «Отключение» и сигнальная лампа «Сеть» расположены на верхней крышке. Внутри шкафа расположены: панель ввода, понижающий трансформатор, панель диодов, автоматы защиты, шунт измерительный, клеммная колодка для подключения блоков БПСЦ, БПЦУ1, БПЦУ2.

Управляющая ПЭВМ располагается в комнате оператора (операторской). Подключение ПЭВМ к блоку БПСЦ осуществляется через преобразователь интерфейса с помощью соединительного кабеля.

 

СРК – силовой релейный коммутатор, УКП – универсальная клеммная плата, МДВ – модуль дискретного ввода, МУ – модуль управления, ДД – датчик давления, ИСТ – источник стабильного тока, АЦП – аналого-цифровой преобразователь, ВК – высоковольтный коммутатор, М –мегомметр, БК – блок контроля, БП – блок питания, РК – релейный коммутатор, ИВПР – измеритель временных параметров реле.

Рисунок А.1 – Структурная схема системы АСТДЭ


Поделиться с друзьями:

mylektsii.su - Мои Лекции - 2015-2026 год. (0.699 сек.)Все материалы представленные на сайте исключительно с целью ознакомления читателями и не преследуют коммерческих целей или нарушение авторских прав Пожаловаться на материал