Студопедия

Главная страница Случайная страница

КАТЕГОРИИ:

АвтомобилиАстрономияБиологияГеографияДом и садДругие языкиДругоеИнформатикаИсторияКультураЛитератураЛогикаМатематикаМедицинаМеталлургияМеханикаОбразованиеОхрана трудаПедагогикаПолитикаПравоПсихологияРелигияРиторикаСоциологияСпортСтроительствоТехнологияТуризмФизикаФилософияФинансыХимияЧерчениеЭкологияЭкономикаЭлектроника






Методика выполнения диагностических операций






Для выявления межвитковых замыканий в якорной обмотке без разборки ТЭД вывешивают колесную пару, а на обмотку якоря подают переменное напряжение 48 В, медленно поворачивают якорь на угол не менее полюсного деления и одновременно с помощью измерителя контролируют напряжение в обмотке возбуждения.

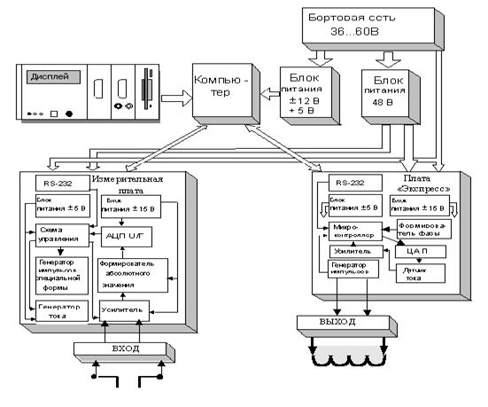
Известно, что катушка контактора или обмотка электродвигателя имеют индуктивность, которая является величиной постоянной. Как емкость накапливает в себе энергию электрического поля, так индуктивность накапливает в себе энергию магнитного поля. При уменьшении электрического тока в цепи, содержащей индуктивность, возникает явление электромагнитной индукции - индуктивность препятствует уменьшению тока. На рисунке 10.10 представлена блок-схема контроля индуктивности.

 

Рисунок 10.10 – Блок-схема контроля индуктивности

Алгоритм определения межвиткового замыкания: измерение индуктивности основано на контроле падения напряжения на некоторой катушке Lx. Ток низкой частоты задается с помощью генератора и набора добавочных резисторов Rд определенного сопротивления.

Контролируемая индуктивность и эталонные резисторы подключаются в соответствии с рисунком 10.11. Амплитуда меандра определяет величину индуктивности. При наличии МВЗ амплитуда резко падает, т. е. уменьшается индуктивность (в сравнении с эталонным значением).

Рисунок 10.11 - Схема подключения индуктивности и эталонных

резисторов

 

Метод контроля времени включения аппарата. На вентильную катушку аппарата подается постоянное напряжение 48 В и одновременно запускается таймер микропроцессора. Программа контролирует замыкание контактов аппарата. При замыкании контактов таймер останавливается. Результат замера записывается на флэш-диск (DiskOnChip) встроенного компьютера СКД.

 

Рисунок 10.12 – Блок-схема контроля времени включения аппарата

 

Метод контроля времени отключения аппарата. На вентильную катушку аппарата подается постоянное напряжение 48 В. Программа контролирует замыкание контактов аппарата. При замыкании контактов напряжение 48 В снимается и запускается таймер микропроцессора. Программа контролирует размыкание контактов аппарата. При размыкании контактов таймер останавливается. Результат контроля времени отключения записывается на флэш-диск (DiskOnChip) встроенного компьютера СКД.

 

Рисунок 10.13 – Блок-схема контроля времени отключения аппарата


Поделиться с друзьями:

mylektsii.su - Мои Лекции - 2015-2026 год. (1.491 сек.)Все материалы представленные на сайте исключительно с целью ознакомления читателями и не преследуют коммерческих целей или нарушение авторских прав Пожаловаться на материал