Студопедия

Главная страница Случайная страница

КАТЕГОРИИ:

АвтомобилиАстрономияБиологияГеографияДом и садДругие языкиДругоеИнформатикаИсторияКультураЛитератураЛогикаМатематикаМедицинаМеталлургияМеханикаОбразованиеОхрана трудаПедагогикаПолитикаПравоПсихологияРелигияРиторикаСоциологияСпортСтроительствоТехнологияТуризмФизикаФилософияФинансыХимияЧерчениеЭкологияЭкономикаЭлектроника






Классификация систем водоснабжения зданий






Системой водоснабжения здания или отдельного объекта назы­вают совокупность устройств, обеспечивающих получение воды из наружного водопровода и подачу ее под напором к водоразборным устройствам, расположенным внутри здания или объекта. Система холодного водоснабжения, называемая обычно внутренним водо­проводом, состоит из следующих устройств: ввода (одного или нес­кольких), водомерного узла (одного или нескольких), сети магистра­лей, распределительных трубопроводов и подводок к водоразбор­ным устройствам, арматуры. В отдельных случаях в систему вклю­чают установки для повышения напора, а также установки для дополнительной обработки воды (умягчения, обесцвечивания, обезжелезивания и др.).

Система водоснабжения здания может быть присоединена к централизованной системе водоснабжения населенного пункта или оборудована устройствами для получения воды из местных источников водоснабжения (подземных или поверхностных).

По назначению системы водоснабжения зданий подразде­ляют на хозяйственно-питьевые, производственные, противопожарные и объединенные (хозяйственно-противопожарные, производствен-но-противопожарные и хозяйственно-производственные).

Хозяйственно-питьевые системы водоснабжения предназначены для подачи воды, удовлетворяющей требованиям, установленным СанПиН 2.1.4.1074-01 «Питьевая воды», (для питья, умывания, купания, приготовления и других хозяйственных нужд). Устройство хозяйственно-питьевых водопроводов обязательно во всех жилых и общественных зданиях, строящихся в канализованных районах, а также в зданиях, имеющих систему местной канализации.

Производственные системы водоснабжения в зависимости от назначения здания, цеха, объекта могут состоять из единого производственного водопровода или нескольких водопроводов, обеспечивающих подачу воды различного качества, удовлетворяющего технологическим требованиям (умяг­ченной, охлажденной и т.п.).

Противопожарные системы водоснабжения предназначены для подачи воды на тушение и предупреждение распространения огня при пожаре в здании. В зависимости о расходов воды и требуемых напоров в системе противопожарный водопровод может быть самостоятельным (раздельным) или объединенным с хозяйственным или производственным. Вода в противопожарных водопроводах может быть и непитьевого ка­чества.

Внутренний водопровод, обеспечивающий подачу воды одновременно на хозяйственно-питьевые, производственные и противопожар­ные нужды, называют единым. В отдельных случаях для хозяйст­венных нужд (промывки приемников сточных вод - унитазов, писсуаров и т.п., мытья полов, стирки белья и пр.) по согласованию с органами санитарного надзора можно использовать воду и не­питьевого качества. Соединение водопроводов, подающих воду непитьевого качества, с хозяйственно-питьевыми не допускается.

При выборе системы водоснабжения в зависимости от назначе­ния объекта следует учитывать технологические, противопожарные и санитарно-гигиенические требования, а также технико-экономи­ческие соображения. Например, жилые и общественные здания мо­гут быть оборудованы объединенным хозяйственно-противопожарным водопроводом с подачей воды питьевого качества. Объединение в одну систему всех водопроводов, подводящих воду одного каче­ства и под одинаковым напором, приводит к уменьшению строитель­ных и эксплуатационных расходов.

Для нормальной работы внутреннего водопровода на вводе в здание должен быть создан такой напор (требуемый), который обеспечивал бы подачу нормативного расхода воды к наиболее высокорасположенному (диктующему) водоразборному устройству и покрывал бы потери напора на преодоление сопротивлений по пу­ти движения воды. Напор в наружном водопроводе у места присое­динения ввода может быть больше, равен или меньше напора, ко­торый требуется для внутреннего водопровода. Минимальный на­пор в наружном водопроводе у места присоединения ввода (у трубы или на поверхности земли) называют гарантийным. При периодическом или постоянном недостатке напора в наружном водопроводе до требуемого для здания применяют установки для повышения напора: насосы (постоянно или периодически действующие), водо­напорные баки, пневматические установки.

В зависимости от оборудования, установленного для обеспечения нормальных рабочих напоров у водоразборных устройств, различают системы водоснабжения без напорного бака и повысительной насосной установки, с напорным баком без насосов, с повысительной насосной установкой без бака и с повысительной насосной установкой и напорным баком. Рассмотрим кратко особенности некоторых, наиболее распространенных из названных систем водоснабжения.

Система без напорного бака и повысительной насосной установки (рис. 1). Ее применяют, когда гарантийный напор в наружном водопроводе у места присоединения ввода постоянно больше напора, необходи­мого для нормальной работы всех водоразборных или равен ему. Такая система является наиболее простой и наиболее распространенной.

 

 

Рис. 1. Система водоснабжения здания без напорного бака и повысительной насосной установки:

1 – ввод; 2 – поливной кран; 3 – распределительные трубопроводы (стояки); 4 – подводки; 5 – магистральный трубопровод; 6 – водомерный узел.

Система с напорным баком без повысительной насосной установки (рис. 2). Эта система применяется, когда гарантийный напор в наружном водопроводе в часы с наибольшим водопотреблением ниже требуемого для здания, а в другие часы суток равен или выше требуемого. В часы недостаточного напора потребители обеспечиваются водой из водо­напорного бака, накапливающего воду в часы избыточного напора. Водонапорные баки (резервуары) выполняют роль запасных или регулирующих емкостей, обеспечивающих постоянство напоров (в банях, душевых павильонах и в других зданиях) и необходимый запас воды на хозяйственно-бытовые, производственные или противопожарные нужды.

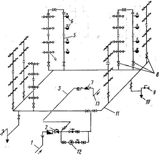
Система с повысительной насосной установкой без водонапорного бака (рис. 3). Эта система применяется, когда режим водопотребления в здании равномерен, а напор в наружном водопроводе постоянно или периодически ниже требуемого для здания.

Если располагаемый напор в наружном водопроводе недостаточен периодически, то установка для повышения напора будет включаться только в определенные часы. Такие установки обычно автоматизируют. При неравномерном потреблении воды в течение суток для повышения экономичности работы повысительной насосной установки в систему могут быть включены баки (резервуары), которые выполняют функцию регулирующих емкостей, принимающих избыток или восполняющих недостаток воды при работе сети. При наличии бака (резервуара) повысительную несоосную установку обычно тоже автоматизируют. Вода подается насосом в домовую сеть и резервуар, а при прекращении работы повысительной насосной установки сеть снабжается водой из резервуара.

Рис. 2. Система водоснабжения здания с баком без повысительной насосной установки:

1 – ввод; 2 – распределительные трубопроводы; 3 – верхняя магистраль; 4 – водонапорный бак; 5 – подающий трубопровод; 6 –подводки; 7 – нижняя магистраль; 8 – обратный клапан; 9 – водомерный узел.

В отдельных случаях вместо водонапорного бака применяют пневматическую установку, состоящую из водяного и воздушного баков или одного водовоздушного бака, оснащенных специальным оборудованием (компрессорами, клапанами, манометрами и др.). Такая система водоснабжения называется системой с повысительными насосами и пневматической установкой.

 

 

Рис. 3. Система водоснабжения здания с повысительной насосной установкой и нижней кольцевой разводкой сети:

1 – ввод № 1; 2 – обратный клапан; 3 – перемычка; 4 – запорная арматура; 5 – пожарный стояк; 6 – пожарные краны; 7 – водомерный узел; 8 – монтажные запорные вентили; 9 – поливочный кран; 10 – спуск (пробка); 11 – кольцевая магистраль; 12 – насосная установка; 13 – ввод № 2.

Выбор той или иной системы водоснабжения здания или объекта производят на основе технико-экономических расчетов и технологических требований, обеспечивая надежность и бесперебойность снабжения водой потребителей.

 

Контрольные вопросы

1. Что называется внутренним водопроводом?

2. Что входит в состав устройств внутреннего водопровода?

3. Какие существуют системы водоснабжения?

 

Рекомендуемая литература

1. Абрамов Н.Н. Водоснабжение: учебник для вузов / Н.Н. Абра-

мов. – М.: Стройиздат, 1974. – 480 с.

2. Журба М.Г. Водоснабжение. Проектирование систем и сооруже-

ний / М.Г.Журба. – Волгоград: Волгоградский ГТУ, 2001. – 115 с.

3. СниП 2.04.02-84. Водоснабжение. Наружные сети и сооруже-

ния. Введ. 01.01.85 – М.: Минздрав России, 1984. – 100 с.

 


Поделиться с друзьями:

mylektsii.su - Мои Лекции - 2015-2026 год. (1.118 сек.)Все материалы представленные на сайте исключительно с целью ознакомления читателями и не преследуют коммерческих целей или нарушение авторских прав Пожаловаться на материал