Студопедия

Главная страница Случайная страница

КАТЕГОРИИ:

АвтомобилиАстрономияБиологияГеографияДом и садДругие языкиДругоеИнформатикаИсторияКультураЛитератураЛогикаМатематикаМедицинаМеталлургияМеханикаОбразованиеОхрана трудаПедагогикаПолитикаПравоПсихологияРелигияРиторикаСоциологияСпортСтроительствоТехнологияТуризмФизикаФилософияФинансыХимияЧерчениеЭкологияЭкономикаЭлектроника






Арматура, применяемая на внутренних водопроводных сетях






Водопроводная арматура изготовляется из латуни, стали, бронзы, серого и ковкого чугуна, пластмасс. Выбор материа­ла определяется условиями эксплуатации и назначением арматуры.

Водоразборная арматура. Относятся краны (водоразборные неповоротные, туалетные поворотные, лаборатор­ные, банные, поливочные, писсуарные, смывные) пожарные краны, вентили и т.д. (рис. 7). В зависимости от принципа перемещения затвора водоразборную арматуру можно подразделить на два типа: вентильную и пробко­вую. У вентильной арматуры основной деталью является затвор (клапан), который, перемещаясь возвратно-поступательно, частич­но или полностью открывает или закрывает проход для воды. Ос­новной деталью пробковой арматуры является коническая пробка с отверстием, поворотом пробки на 90° достигается открытие или закрытие крана.

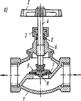
Запорная арматура. К ней можно отнести пробковые про­ходные краны (рис. 8), задвижки (рис. 9), обратные клапаны (рис. 10), запорные вентили (рис. 11), автоматически закрывающиеся клапаны, предна­значенные для перекрытия отдельных участков сети и др.

 

 

Рис. 7. Водоразборная арматура:

а – вентильный водоразборный кран; б – банный кран; в – смеситель для умывальника (с нижней камерой смешения); г – смеситель для мойки; д – смеситель для умывальника (с аэратором)

  Рис. 8. Пробковый проходной кран: 1 – корпус; 2 – болт; 3 – шток; 4 – головка; 5 – крышка; 6 – сальниковая набивка; 7 – конусная пробка.     Рис. 9. Задвижка: 1 – кольцо; 2 – клин; 3 – диск; 4 – корпус; 5 – обойма; 6 – прокладка; 7 – шпиндель; 8 – крышка; 9 – сальник; 10 – втулка сальника; 11 – маховик

Запорную арматуру устанавливают в следующих местах: у ос­нования стояков хозяйственно-питьевой сети в зданиях, имеющих более двух этажей; на всех ответвлениях от магистральных трубо­проводов; на кольцевой магистральной сети; у основания пожар­ных стояков, на которых имеется пять пожарных кранов и более; на ответвлениях в каждую квартиру; на подводках к промывным канализационным устройствам (бачкам, смывным кранам, пис­суарам); на подводках к водонагревательным приборам; перед приборами и аппаратами специального назначения; на ответвлениях, питающих более трех водоразборных устройств.

Регулировочная арматура. Эта арматура предназначена для регулирования подачи расхода и для поддержания определенно­го напора в сети. К регулировочной арма­туре относятся регуляторы давления (рис. 12), регулировочные вентили и т. п.

Регуляторы давления (напора) пони­жают давление и поддерживают его «пос­ле себя», поэтому их устанавливают на вводах в здания, в квартиры, на этажах многоэтажных зданий.

 

 

Рис. 10. Обратный клапан:

1 – седло; 2 – корпус; 3 – золотник; 4 – шток; 5 – крышка; 6 – гнездо крышки

Рис. 11. Запорные вентили: а прямой, б косой; 1корпус; 2 накидная гайка; 3 маховик; 4 шпиндель; 5сальник; 6крышка корпуса; 7резиновая прокладка клапана; 8 болт с шайбой; 9– клапан (золотник)
    Рис. 12. Регулятор давления: 1 – корпус; 2 – шток; 3– золотник; 4 – седло; 5 – махо­вик; 6 – верхняя траверса; 7 – пружина; 8 – труба; 9 – средняя траверса; 10 – поршневой цилиндр; 11 – пор­шень; 12– болт; 13 – пробка; 14 – муфта; 15 – нижняя траверса. Предохранительная армату-ра. К предохранительной арматуре (рис. I3) относятся предохранительные кла­паны, обеспечивающие в сети или перед приборами напор, не превышающий за­данный, а также обратные клапаны, обес­печивающие движение воды в трубопро­воде только в одном направлении. Излишнее повышение напора в трубо­проводах может привести к повреждению сети или присоединенного к ней оборудования. Пружинные рычажные предохранительные клапаны диаметром от 20 до 100 мм применяют для давлений до 1, 6 МПа. Обратные клапаны устанавливают, например, на вводах при наличии повысительных насосов на обводной линии, а также при наличии в системе водонапорного бака. При движении воды в тру­бопроводе в обратном направлении клапан прижимается водой к седлу и закрывает проход.
   
а)

 

Рис. 13. Предохранительная арматура:

а – пружинный предохранительный клапан; брычажный предохранительный клапан; в– обратный клапан; 1корпус; 2 пружина; 3клапан; 4 крышка; 5 рычаг; 6– седло

Контрольные вопросы

1. Какие трубы применяют для внутренних водопроводов?

2. Соединения стальных водогазопроводных труб.

3. Арматура, применяемая на внутренних водопроводах?

4. Что относят к водоразборной арматуре?

5. Перечислите фасонные соединительные части.

 

 

Рекомендуемая литература

1. ГОСТ 10704-91. Трубы стальные электросварные прямошовные.

(Сортамент), Введ. 15.11.91. – М.: Изд-во стандартов, 1991. – 15 с.

2. ГОСТ 18599 – 01. Трубы напорные из полиэтилена. Введ.

01.01.03. – М.: Изд-во стандартов, 2001. – 20 с.

3. ГОСТ 539 – 80. Трубы и муфты асбестоцементные напорные.

Технические условия. Введ. 01.01.82. – М.: Изд-во стандартов, 1980. – 6 с.

4. ГОСТ 9583-75. Трубы чугунные, напорные, изготовленные

методом центробежного литья. Технические условия. Введ. 08.08.75. – М.: Изд-во стандартов, 1975. – 10 с.

5. ГОСТ 286-82. Трубы керамические канализационные. Техни-

ческие условия. Введ. 26.04.82. – М.: Изд-во стандартов, 1982. – 15 с.

6. ГОСТ 3262-75. Трубы стальные водогазопроводные. Техни-

ческие условия. Введ. 01.01.77. – М.: Изд-во стандартов, 1975, 11 с.

7. ГОСТ 12586 0 – 83. Трубы железобетонные напорные вибро-

гидропрессованные. Технические условия. Введ. 01.01.85. – М.: Изд-во стандартов, 1983. – 12 с.


Поделиться с друзьями:

mylektsii.su - Мои Лекции - 2015-2026 год. (1.049 сек.)Все материалы представленные на сайте исключительно с целью ознакомления читателями и не преследуют коммерческих целей или нарушение авторских прав Пожаловаться на материал