Студопедия

Главная страница Случайная страница

КАТЕГОРИИ:

АвтомобилиАстрономияБиологияГеографияДом и садДругие языкиДругоеИнформатикаИсторияКультураЛитератураЛогикаМатематикаМедицинаМеталлургияМеханикаОбразованиеОхрана трудаПедагогикаПолитикаПравоПсихологияРелигияРиторикаСоциологияСпортСтроительствоТехнологияТуризмФизикаФилософияФинансыХимияЧерчениеЭкологияЭкономикаЭлектроника






Лабораторная работа №3. Тема: Компрессоры холодильных машин






ТЕМА: Компрессоры холодильных машин

 

Цель работы: изучить конструкцию, узлы и функции компрессора типа V.

 

Основное содержание работы

Компрессор V имеет четыре V-образно расположенных цилиндра диаметром 80мм, ход поршня 58мм, часовой объем, описываемый поршнями, 84 м3/ч при 1200 об/мин. Максимально допустимое рабочее давление на стороне всасывания 0, 9 МПа, на стороне нагнетания – 2 МПа. Масса компрессора с маховиком 123 кг. Холодопроизводительность компрессора при t0=50C и tк=400C составляет 32, 5 кВт. Мощность приводного электродвигателя 13 кВт.

Блок 1 (рис.3.1) и ряд других деталей компрессора отлиты из сплава алюминия, марганца, кремния и магния. Снизу блок имеет съемный поддон 8.

В гнездах блока с небольшим натягом запрессованы чугунные гильзы. Коленчатый вал 4 имеет два колена, разведенных под углом 1800. Для повышения износостойкости рабочие шейки вала цементированы. В блоке вал установлен в двух подшипниках с антифрикционной заливкой из свинцовистой бронзы: первый – со стороны масляного насоса, второй – со стороны камеры сальника 5.

Третьей дополнительной опорой вала является шариковой подшипник, который воспринимает массу маховика 31 кг. Коренной подшипник со стороны масляного насоса 2 сделан в виде неразрезной втулки и запрессован непосредственно в блок. Средний коренной подшипник 7 запрессован в крышку, которая укреплена внутри блока.

 

Рис. 3.1. Компрессора типа V.

 

Сверху блок закрыт двумя головками цилиндров, которые в свою очередь закрыты крышками. По торцам к блоку прикреплены нагнетательный и всасывающий 3 вентили. Около масляного насоса в блок вмонтирован редукционный клапан, с помощью которого устанавливается требуемое давление масла в системе. Контроль за уровнем масла можно вести через мерное стекло.

Место выхода коленчатого вала из блока компрессора уплотнено специальным сальником, детали которого собраны в торцевой крышке 6. Забор масла из маслованны в систему осуществляется через специальный маслоприемный фильтр 9.

Детали шатунно-поршневой группы в показаны на рис. 3.2. Шатун 7 и поршень 6 изготовлены из алюминиевого сплава. Каждый поршень имеет два компрессионных 3 и одно маслосъемное кольцо 2.

Рис. 3.2. Коленчатый вал и шатунно-поршневая группа компрессора типа V:

1-коленчатый вал, 2-маслосъемное кольцо; 3-компрессионные кольца; 4-стопорная шайба; 5-поршневой палец; 6-поршень; 7-шатун; 8-шатунный болт; 9-верхний вкладыш; 10-нижний вкладыш; 11-нижняя головка шатуна; 12-шайбы; 13-гайки шатунных болтов.

 

Сжатие паров фреона в компрессоре возможно лишь тогда, когда между поршнем и гильзой цилиндра нет зазора. Выполнить это условие без дополнительных деталей нельзя, так как при работе поршень нагревается и, увеличившись в размере, может заклиниться в гильзе цилиндра.

Для уплотнения на поршень надевают несколько специальных колец, которые делятся на компрессионные 3 (рис. 3.3) и маслосъемные 6. Сделаны кольца из термически обработанного для упругости чугуна. В сечении кольцо 6 имеет форму неправильной трапеции, острый скос которой обращен вниз. Этот обстоятельство важно потому, что при движении поршня 1 вверх кольцо за счет наличия замка 2 прижимается к нижний грани канавки поршня, своим скосом набегает на слой масла, покрывающий зеркальную поверхность гильзы цилиндра 8, и слегка отжимается. Между кольцом и гильзой остается равномерно размазанная по всему зеркалу масляная пленка. При движении поршня вниз кольцо прижимается к верхней грани ручья и всей нижней прямоугольной кромкой сгоняет излишки масла вниз.

Рис. 3.3. Принцип действия поршневых колец компрессора.

 

На юбке поршня установлено одно маслосъемное кольцо, конструктивно отличающееся от компрессионных. По образующей этого кольца 7 прорезана канавка со сквозными щелями 4. Это кольцо, как показано на рисунке, снимает с поверхности цилиндра излишки масла и сбрасывает их в маслованну.

Чугун, из которого сделаны кольца, более твердый, чем чугун цилиндровой гильзы. Это обеспечивает долговечность колец и гильзы.

Клапаны компрессора делятся на всасывающий (пропускает пар хладона из воздухоохладителя в компрессор) и нагнетательный (пропускает сжатый в компрессоре пар в нагнетательный трубопровод, ведущий в конденсатор). Работа клапанов автоматически согласуется с движением поршня. Рассмотрим это на условной схеме (рис. 3.4). Когда поршень 6 (рис. 3.4, а) опускается вниз, то в надпоршневом пространстве, ограниченном клапанной плитой 3 и гильзой цилиндра 5, создается разряжение. Благодаря этому пар фреона, находящийся под давлением выше, чем в надпоршневом пространстве, преодолевает усилие нажатия пружины 1, отжимает пластину 2 всасывающего клапана от седла 7 (рис. 3.4, б) и заполняет цилиндр, пока давление во всасывающем трубопроводе и цилиндре не сравняется. Этот момент соответствует достижению поршнем положения в нижней мертвой точке, при котором всасывающий клапан под действием пружины автоматически закроется.

 

 

Рис. 3.4. Схема работы клапанов компрессора:

а) - всасывание; б) – нагнетание.

 

При последующем движении поршня вверх пар фреона сжимается и, приподнимая от седла 3 клапан 4 (см. рис.3.4, б), начинает перетекать в конденсатор. Когда поршень снова пойдет вниз, процесс повторится.

Всасывающий и нагнетательный клапаны компрессора типа V для компактности совмещены в одном узле. Скрепляет их воедино фасонный стакан 7 (рис. 3.5) со стяжным болтом 10. В нерабочем положении пластины всасывающего 4 и нагнетательного 12 клапанов прижаты возвратными пружинами 6 и 11 к своим седлам 5 и 8. Пружины, а их 6 шт. у всасывающего и 8 шт. у нагнетательного клапана, для равномерности нажатия расставлены по двум концентричным окружностям.

 

Рис. 3.5. Всасывающий и нагнетательный клапаны компрессора типа V.

 

Учитывая, что пружины навиты из тонкой проволоки и имеют небольшую высоту (8 и 9, 4 мм), а значит, могут легко сместиться в сторону, их поместили в гнезда, просверленные в нижней 3 и верхней 9 плитах.

Действие клапанов во время всасывания (рис. 3.5, а) и нагнетания (рис. 3.5, б), как и в ранее рассмотренном примере, целиком зависит от давления, создаваемого поршнем 1 в цилиндре 2. Для пропуска хладона ту или другую сторону достаточно пластинам отойти от своих седел всего на 1 мм.

Смазка трущихся поверхностей компрессора принудительная от шестеренчатого масляного насоса с приводом от торца коленчатого вала. Рассмотрим принцип его работы.

В стальном корпусе 1 (рис. 3.6) имеются два сообщающихся между собой гнезда, к которым просверлены всасывающий 6 и нагнетательный 5 каналы. Основные рабочие элементы насоса - вставленные в гнезда стальные шестерни 2 и 7, находящиеся в постоянном зацеплении. Если ведущая шестерня 2, закрепл енная на своем валу 3 шпонкой 4, вращается от коленчатого

Рис. 3.6. Схема работы шестеренчатого масляного насоса.

 

вала компрессора по часовой стрелке, то ведомая 7-в обратном направлении. Монтаж шестерен в корпусе насоса выполнен с особой точностью. Так, торцовый зазор между корпусом и шестернями не должен превышать 0, 02 мм, а зазор между боковыми гранями зубъев-0, 01мм.

При вращении шестерен масло через всасывающий канал 6 поступает в корпус 1 и зубьями выжимается через нагнетательное отверстие 5 в магистраль. Если шестерни будет вращаться в противоположную сторону, то направление движения масла изменится. Чтобы это не отразилось на работе компрессора, в некоторых насосах сделаны два диаметрально противоположенных всасывающих и два нагнетательных отверстия с пластинчатыми клапанами (на рис. не показаны). При таком насосе, называемом реверсивным, компрессор может работать при любом направлении вращения коленчатого вала.

Система смазки компрессора типа V работает следующим образом. Масло из маслованны через приемный масляный фильтр 11 (рис. 3.7) засасывается шестеренчатым насосом 2 в магистраль, в начале которой стоит клапан 1 избыточного давления. Назначение этого клапана сводится к следующему: если пуск холодильной установки происходит после длительной остановки и масло в картере компрессора остыло и загустело, то в системе может создаться слишком высокое давление, способное разорвать корпус масляного насоса или повлечь за собой какие-либо другие дефекты. Чтобы предупредить возможную поломку агрегата, клапан избыточного давления, отрегулированный на 0, 3 МПа, перепускает избытки масла обратно в ванну в обход магистрали. По мере нагревания масла вязкость его снижается, давление падает и клапан автоматически прекращает перелив излишков масла.

Основное количество масла шестеренчатым насосом нагнетается в масляный канал 4, просверленный вдоль коленчатого вала, и по радиальным каналам в шатунных шейках подводится к рабочим поверхностям шатунных подшипников. Дальше часть масла по отверстию 6 в стержне шатуна попадает на смазку верхнего головного подшгипника поршневого пальца 5, а часть под давлением выбрасывается в полость картера через зазор между шатунным подшипником и шейкой коленчатого вала. При этом образуется масляный туман, оседающий на рабочей поверхности цилиндра и создающий смазывающую прослойку под поршневыми кольцами.

Оставшееся количество масло по обводной трубке 3 попадает в полость сальника 8. Здесь на самом удаленном от масляного насоса 2 участке стоит редукционный клапан 9, с помощью которого регулируется давление в масляном канале и тем самым защищается сальниковые уплотнение вала от прорыва масла, имеющего завышенное давление.

 

Рис. 3.7. Схема системы смазки компрессор типа V.

 

Масло, попавшее в полость сальника, способствует уплотняющей функции последнего, смазывает опорный подшипник хвостовика вала и стекает в масляную ванну. Контролируется давление масла по манометру 7, а уровень его в масляной ванне по мерному стеклу 10. Масло заправляется в компрессор через вентиль 12.

В компрессоре благодоря постоянному контакту масла с фреоном образуется маслофреоновый раствор, который циркулирует в системе холодильной машины. При пуске установки кондиционирования воздуха после длительной остановки из-за быстрого падения давления в полости компрессора и нагрева его деталей происходит выпаривание фреона из этого раствора со вспениванием масла в картере. Часть масла в виде тумана и мельких капель, несмотря на наличие поршневых колец, увлекается нагнетательными парами в систему трубопроводов и попадает через конденсатор, ресивер и регулирующий вентиль в испаритель. Отсюда оно возвращается в цилиндр, но не в маслованну. Возврат масла при пуске компрессора со сравнению с тем его количеством, которое проносится через рабочию полость агрегата, практически ничтожно (5-10% все циркулирующего за час каличества хладагента), что в конечном итоге способствует ухудшению режима смазки агрегата.

Унос масла происходит не только при пуске компрессора, но и при работе в установшемся режиме, но в этот период унос равен возврату в картер. Унос масла-явление нежелательное, но и неизбежное. Нежелательное потому, что масло, попав в конденсатор и воздухоохладитель, оседает на внутренней поверхности змеевиков тонкой пленкой, ухудшающей теплообмен с окружающей средой, а передача тепла-это основа работы теплообменных аппаратов. Неизбежное потому, что оно зависит от множества причин, и в первую очередь от конуструктивных особенностей компрессора, состояния его клапанов, поршней, цилиндров, колец и других деталей. На чрезмерный унос немалое влияние оказывают эксплуатационные факторы: переполнение картера маслом и, как результат, интенсивное разбрыгивание, слишком высокое давление в система смазки из-за неисправности или разрегулирования редукционных клапанов и др.

Основные меры борьбы с уносом сводятся к улучшению технического состояния компрессора. Таким образом, малый унос является признаком хорошего общего состояния агрегата. Эффективной мерой против уноса являются специальные картерные электроподогреватели, которые автоматически включаются на период остановки или задолго перед пуском кондиционера для подогрева масла бездействующего компрессора до 20-30 0С. Легкоиспаряющийся хладон выпаривается из масла, и пены при пуске уже не бывает. Для этого на днище масляной ванны компрессора типа V стоит трубчатый электронагреватель (ТЭН) мощностью 120 Вт.

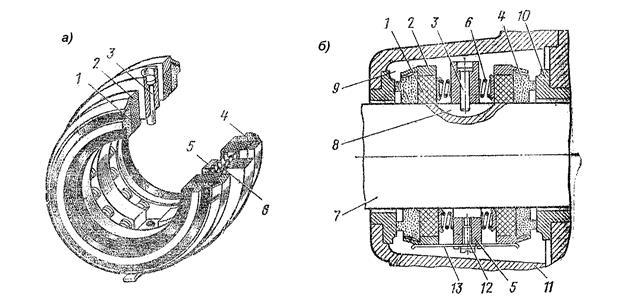
В месте выхода хвостовика коленчатого вала из блока компрессора смонтировано сальниковое уплотнение, препятствующее утечке хладагента по зазору между валом и блоком. Сальник состоит из двух графитовых колец 4 (рис.3.8) с выступающими наружу буртиками, торцовая поверхность которых шлифована и плотно прижата к фланцам стальных втулок 10, запрессованных в блок 9.

 

Рис. 3.8. Сальник компрессора типа V.

Графитовые кольца вмонтированы в обойму 2 с резиновой основой 1. Между обоймами на валу 7 установлено еще одно кольцо 5 с гнездами для пружин 6. Для того чтобы детали сальника не проворачивались на валу, обойма фиксируется штифтом 3, нижний конец которого утопает в канавке 8, профризерованной в хвостовике вала. Нормальное, без перекосов положение колец обеспечивается планкой 13, закрепленной винтом 12. Таким образом, выход хладагенту наружу преграждают резиновые кольца1, плотно обхватывающие вал, и буртики графитовых колец 4 с притертыми поверхностями. Гнездо 8 в корпусе сальника 11 заполнено маслом, создающим своим давлением дополнительное уплотнение.

Как бы совершенна ни была конструкция сальника, утечка хладагента по нему неизбежна. Считается нормальным подтекание сквозь сальник масла в виде единичных капель, но не более 5 капель в час.

 


Поделиться с друзьями:

mylektsii.su - Мои Лекции - 2015-2026 год. (1.056 сек.)Все материалы представленные на сайте исключительно с целью ознакомления читателями и не преследуют коммерческих целей или нарушение авторских прав Пожаловаться на материал