Студопедия

Главная страница Случайная страница

КАТЕГОРИИ:

АвтомобилиАстрономияБиологияГеографияДом и садДругие языкиДругоеИнформатикаИсторияКультураЛитератураЛогикаМатематикаМедицинаМеталлургияМеханикаОбразованиеОхрана трудаПедагогикаПолитикаПравоПсихологияРелигияРиторикаСоциологияСпортСтроительствоТехнологияТуризмФизикаФилософияФинансыХимияЧерчениеЭкологияЭкономикаЭлектроника






Централизованное регулирование частоты и активной мощности в ЭЭС.






Автоматическое регулирование частоты и управление активной мощностью является главной задачей автоматизированного диспетчер­ского управления режимами работы ЭЭС, ОЭС и ЕЭС. Соответству­ющие автоматические устройства образуют централизованную автоматическую систему регулирования частотой и мощностью (ЦАРЧМ), функционирующую по ступенчато-иерархическому принципу.

Нижним ее уровнем являются АСУ ТП гидро-, тепловых и атом­ных электростанций. Второй уровень образуют автоматические устрой­ства, установленные на диспетчерских пунктах ЭЭС. В соответствии с расчетами по прогнозированию графика нагрузки и его оптимально­му по технико-экономическим показателям выполнению УВК, используя технические средства передачи информации, выдают почасовые графи­ки нагрузок - задания плановой мощности и определяют участие частоторегулирующих электростанций в покрытии изменений внеплано­вой мощности ЭЭС.

Накопленный опыт эксплуатации аналоговой ЦАРЧМ способствовал разработке и внедре­нию цифровой автоматической системы регулирования частоты и мощ­ности в ЕЭС с расширенными функциями и новыми свойствами:

• способностью приспосабливаться (свойством адаптации) к изменениям режимов работы и складывающейся ситуации в ОЭС и ЕЭС;

• обеспечением технически рационального совместного использова­ния гидравлических и тепловых электростанций в общем процессе производства и передачи электроэнергии;

• реализацией сложных взаимосвязей при анализе текущих режимов, выявлением их нарушений и определения оптимальных управляющих воздействий;

• повышением работоспособности управляющего комплекса в целом и предотвращением неправильных его действий при неисправностях отдельных элементов;

повышением помехоустойчивости за счет достоверизации используемой информации;

• обеспечением диспетчера информацией, достаточной для оценки текущего режима и контроля за его изменениями при действии ЦАРЧМ.

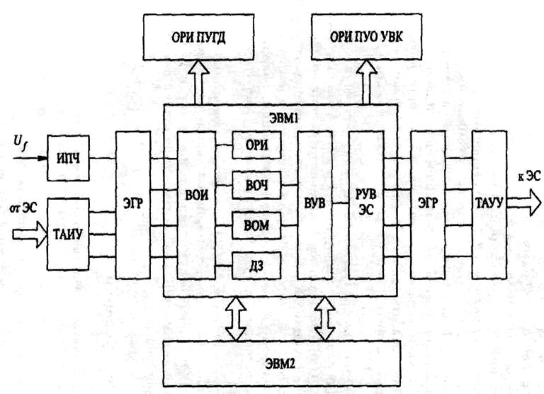
Высокие требования к надежности функционирования ЦАРЧМ обусловили ее осуществление на двух комплектах цифровых ЭВМ, взаимно контролируемых и резервируемых. Для наиболее полного использова­ния ресурсов ЭВМ принято несимметричное математическое обеспече­ние: первая ЭВМ1 — ведущая, а вторая ЭВМ2, резервирую­щая ее, — ведомая. Первая производит вычислительную обработку ин­формации ВОИ, поступающей от телеавтоматических информационных устройств ТАИУ, и выполняет все расчеты по автоматическому упра­влению (по программам вычислений интегральных отклонений частоты ВОЧ и мощности ВОМ, программам вычислений управляющих воздей­ствий ВУВ и их распределения по электростанциям РУВ ЭС). Вторая дублирует расчеты первой, выполняет вспомогательные операции и вы­дает оперативную (рабочую) информацию для ее отображения и реги­страции ОРИ на пульт управления оператора ПУО управляющего вы­числительного комплекса УВК и пульт управления главного диспетче­ра ПУГД. Исполнение результатов расчетов разрешается только при их идентичности на выходах обеих исправных ЭВМ. Взаимный контроль ЭВМ производится периодическим обменом сигналами, подтверждаю­щими их работоспособность. При отказе одной из ЭВМ ее функции вы­полняет другая — автоматическая система переходит в одномашинный режим работы, в котором производится специальный контроль, выявляющий отказы, остановы или ложную работу и запрещающий передачу регулирующих воздействий на электростанции.

Измерительно-преобразовательная часть высшего уровня ЦАРЧМ состоит из измерительного преобразователя частоты ИПЧ; специально разработанного генератора номинальной промышленной частоты, стабилизированного кварцевым резонатором; приемной части телеавтома­тических информационных устройств ТАИУ, передающих информацию о режимах работы по мощности электрических станций и системообра­зующих линий электропередач, их технико-экономических показателях, перетоках мощностей и информацию об исполнении управляющих воз­действий ЦАРЧМ. Как и в ранее рассмотренных микропроцессорных системах управления, она содержит элементы согласования выходов ТАИУ со входами вычислительной части и гальванического их разде­ления ЭГР.

Исполнительную часть образуют телеавтоматические управляющие устройства ТАУУ, передающие информацию в УВК автоматических систем управления ОЭС и ЭЭС и управляющие воздействия на частоторегулирующие электростанции ЭС, и элементы гальванического разделе­ния ЭГР с вычислительной частью. В исполнительную часть входит и весь комплекс отображения и регистрации информации, главным обра­зом дисплеи, установленные на пультах управления оператора УВК и главного диспетчера.

Централизованная цифровая АРЧМ является основной частью АСУ ЕЭС, осуществляемой на основе современной вычислительной техни­ки. Для АСУ ЕЭС в перспективе предназначается и разработан­ная программная автоматическая система управления напряжением и реактивной мощностью.



Поделиться с друзьями:

mylektsii.su - Мои Лекции - 2015-2026 год. (0.961 сек.)Все материалы представленные на сайте исключительно с целью ознакомления читателями и не преследуют коммерческих целей или нарушение авторских прав Пожаловаться на материал