Студопедия

Главная страница Случайная страница

КАТЕГОРИИ:

АвтомобилиАстрономияБиологияГеографияДом и садДругие языкиДругоеИнформатикаИсторияКультураЛитератураЛогикаМатематикаМедицинаМеталлургияМеханикаОбразованиеОхрана трудаПедагогикаПолитикаПравоПсихологияРелигияРиторикаСоциологияСпортСтроительствоТехнологияТуризмФизикаФилософияФинансыХимияЧерчениеЭкологияЭкономикаЭлектроника






Порядок виконання роботи. 3.1. Дослідження ідеального джерела






3.1. Дослідження ідеального джерела

постійної напруги

Проводимо завантаження програми EWB; розкриваємо каталог файлів папки Lab_tec, завантажується файл Lab1_1, при цьому на дисплеї монітора з'являється схема, приведена на

E
рис.1.7.

 

 
Рис. 1.7. Дослідження ідеального джерела постійної напруги

 

Встановлюється величина ЕРС. ідеального джерела напруги згідно номера варіанту (див. табл.1.1).

Зміючи опір резистора R через 20% шляхом зміни положення повзунка цього резистора, записати показів амперметра М1 і вольтметра М2. Результат вимірювань занести в таблицю 1.3.

 

Таблиця 1.3

Дослідження ідеального джерела напруги.

n R, Ом U, В I, мА
       
       
       
       
       

За наслідками вимірювань побудувати зовнішню характеристику ідеального джерела напруги U(I).

 

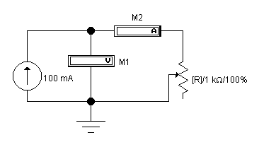
3.2. Дослідження ідеального джерела постійного струму

Завантажити файл Lb1_2, при цьому на дисплеї монітора з'явиться схема, приведена на рис.1.8.

I
Рис. 1.8. Дослідження ідеального джерела постійного струму

 

Встановити величину струму джерела струму I, рівну 100 мА. Змініючи опір резистора R через 20% шляхом зміни положення повзунка цього резистора, записати покази вольтметра М1 і амперметра М2 в табл. 1.4.

 

Таблица 1.4.

Дослідження ідеального джерела струму

n R, Ом U, В I, А
       
       
       
       
       
       

 

За результатами вимірювань (див. табл.1.4) побудувати зовнішню характеристику ідеального джерела струму U(I).

 

 

3.3. Дослідження ДНКС

Завантажити файл Lb1_3, при цьому на дисплеї монітора з'явиться схема, приведена на рис.1.9.

 

Змініючи опір резистора шляхом зміни положення повзунка, записати покази вольтметра М1 і амперметра М2 в табл. 1.5.

Рис. 1.9. Дослідження ДНКС

 

Таблиця 1.5

Дослідження ДНКС

n R, Ом U, В I, mA Rупр, Ом
         
         
         
         
         

 

За результатами вимірювань (див. табл.1.5) побудувати зовнішню характеристику ДНКС U(I).

Визначити керуючий опір Rкер=U2/I1.

 

3.4. Дослідження реального незалежного джерела

Завантажити файл Lb1_4, при цьому на дисплеї монітора з'явиться схема, приведена на рис.1.10.

 

E
Rвн
Rн

 

 

 

Рис. 1.10. Дослідження реального джерела

 

Встановити значення опорів Rвн згідно номера варіанту (див. табл.1.1). Змінюючи значення Rн, використані в попередньому розрахунку (див. табл. 1.2), записати покази амперметра М1 і вольтметра М2 в таблицю 1.2. За наслідками вимірювань I і Uн розрахувати значення

та (1.4)

і занести їх в таблицю 1.2, а по ним побудувати графіки I(Rн), Uн(Rн), Pн(Rн), h(Rн) разом з графіками цих функцій, отриманих в результаті попереднього розрахунку.

3.5. Додаткове завдання

 

Дослідити нерозгалужене коло постійного струму при даних прямому (рис.1.11, а) і зустрічному (рис.1.11, б) включенні джерел E1, E2.

а)
б)
R1
R2
R3
R1
R2
R3
E1
E1
E2
E2

Рис.1.11. Дослідження нерозгалуженої ЛЕК постійного струму з двома джерелами напруги E1 і E2

 

Для отримання схеми рис.1.11, а завантажується файл Lb1_5 і вимірюються струм амперметром М1 і напруга вольтметром М2. Для отримання схеми рис.1.11, б завантажується файл Lb1_6 і вимірюється струм амперметром М1 і напруга вольтметром М2.

Струм в першій і другій схемах розраховуються відповідно за формулами:

 

; UR3=IR3.

 

Знак «плюс» для першої схеми (рис.1.10, а), знак «мінус» для другої схеми R2 (рис.1.10, б).

 

4. Зміст звіту

 

У звіті по Лабораторній роботі повинні бути приведені:

4.1. Назва і мета роботи.

4.2. Електричні схеми досліджуваних кіл.

4.3. Розрахункові формули.

4.4 Результати попереднього розрахунку і експерименту.

4.5 Графіки характеристик навантажень I(Rн), Uн(Rн), Pн(Rн), h(Rн) і зовнішня характеристика реального джерела U(Iн).

4.6 Висновки за наслідками досліджень.

 

5. Контрольні питання

 

5.1 Перерахуєте всі типи джерел напруги (ЕРС), присутні в програмі Electronics Workbench. Які їх властивості і умовні позначення?

5.2. Перерахуєте всі типи джерел струму, присутні в програмі Electronics Workbench. Які їх властивості і умовні позначення?

5.3. Чому рівний внутрішний опір джерела напруги і джерела струму?

5.4. Чим відрізняється реальні джерела електричної енергії від ідеальних?

5.5. Як здійснити еквівалентне перетворення реального джерела напруги в реальне джерело струму і зворотне перетворення?

5.6. Які режими роботи реального джерела Ви знаєте?

5.7. Що таке режим холостого ходу і короткого замикання реального джерела?

5.8. Що таке узгоджений режим реального джерела?

5.9. При якому опорі навантаження в ній виділяється максимальна потужність?

5.10 Які типи залежних джерел Вам відомі?

5.11. Для чого застосовуються залежні джерела?

5.12. Як виконується зміна параметрів резисторів в програмі EWB?

5.13. Як виконується зміна опору потенціометра в програмі EWB?

5.14 Як здійснюється запуск схеми на розрахунок (моделювання) в програмі EWB?

5.15 Яким чином можна припинити і зупинити процес моделювання в програмі EWB?

5.16. Як виконується регулювання параметрів незалежних джерел електричної енергії в програмі EWB?

5.17. Як виконується зміна параметрів залежних джерел електричної енергії?

 


Поделиться с друзьями:

mylektsii.su - Мои Лекции - 2015-2026 год. (3.753 сек.)Все материалы представленные на сайте исключительно с целью ознакомления читателями и не преследуют коммерческих целей или нарушение авторских прав Пожаловаться на материал