Студопедия

Главная страница Случайная страница

КАТЕГОРИИ:

АвтомобилиАстрономияБиологияГеографияДом и садДругие языкиДругоеИнформатикаИсторияКультураЛитератураЛогикаМатематикаМедицинаМеталлургияМеханикаОбразованиеОхрана трудаПедагогикаПолитикаПравоПсихологияРелигияРиторикаСоциологияСпортСтроительствоТехнологияТуризмФизикаФилософияФинансыХимияЧерчениеЭкологияЭкономикаЭлектроника






Оборудование для листовой штамповки






В листовой штамповке применяются различные прес­сы: кривошипные (преимущественно), гидравлические и др.Кривошипные прессы простого действия для штамповки мелких и средних деталей имеют один движущийся ползун и. могут быть одно- и двухстоечными. Кинематическая схема прессов аналогична приведенной на рис. 15.5.

 
 

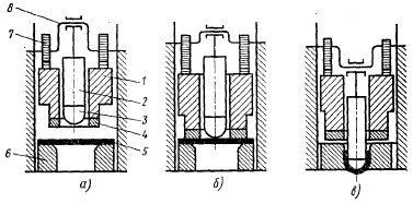
На кривошипных прессах двойного дей­ствия проводят вытяжку глубоких и сложных деталей. Пресс имеет два ползуна (рис. 15.16, и) -внутренний 2 и наружный 1. Оба ползуна находятся в верхнем положении, заготовка 5 укладывается на матрице 6. Первым движение вниз начинает наружный ползун, зажимающий прижимом 4 заготовку. К этому времени к заготовке под­ходит внутренний ползун с

Рис. 15.16. Схема работы кривошипного пресса двойного

действия: а — исходное положение; б —начало вытяжки; в — окончание вытяжки

IV

закрепленным на нем пуансо­ном 3 (рис. 15.16, б—начало вытяжки). Наружный ползун остается на месте, а внутренний, продолжая движение, производит вытяжку (рис. 15.16, 0—конец вытяжки). Первым движение вверх начинает внутренний ползун. Запаздывающее движение наружного ползуна спо­собствует съему изделия с пуансона. Внутренний ползун приводится в движение от главного вала 8, а наруж­ный — от кулачкового или коленно-рычажного механиз­мов 7, связанных с главным коленчатым валом. Прессы развивают усилия вытяжки до 10 МН, прижима — до 0, 5 МН. Имеются кривошипные прессы тройного дей­ствия. Гидравлические прессы для листовой штам­повки также выпускаются простого или двойного дей­ствия.

Листовая штамповка с целью получения качествен­ных готовых деталей проводится в штампах, разделяю­щихся по технологическому признаку (гибочные, вытяж­ные и т. п.). Кроме того, штампы бывают одно- и много­операционные, последние подразделяются еще на штампы последовательного действия и совмещенные. Для изготовления рабочих частей штампов выбирают легированные стали (типа Х12, Х12М, ЭХВГ, ШХ15 и др.). В некоторых случаях для повышения стойкости штампов их рабочие части изготовляют из металлокерамических сплавов.

Полосы и ленты в штампы подаются валковыми и другими механизмами, листы - механическими руками грузоподъемностью до 16 кг.

Роботизированный технологический комплекс (РТК) в листоштамповочном производстве может быть органи­зован на базе однокривошипного пресса простого дейст­вия (рис. 15.17). В состав РТК входят пресс 2, устройство поштучной выдачи заготовок 7, ПР 4, датчики внеш­ней информации 5, система управления

 

 

 

Рис. 15.17. Пример РТК в листовой штамповке

 

ПР 6, тележки с тарой для отштампованных деталей 3, злектрошкаф пресса 1. ПР работает в цикле «загрузка-выгрузка», кро­ме того, он может захватывать и выносить из рабочей зоны пресса контурный отход.

Для обслуживания листоштамповочных прессов применяют ПР следующих типов: Ритм-05.01, КМ063Ц42.12 (грузоподъемностью 0, 63...1, 25 кг), ПРЗ-2, Циклон 3.01 |(3 кг) и др.

Последовательное расположение РТК в листоштампо­вочном производстве позволяет создавать поточные ли­нии и участки с комплексной автоматизацией и гибкими связями между ними. Для деталей больших диаметров применяют высоко­скоростную листовую штамповку — взрывом, электро­гидравлическую или электромагнитную. Особенностью ее является разгон заготовки до скоростей порядка 150 м/с за счет больших усилий. Деформирование заготовки происходит в результате накопленной ею энергии во время разгона в специально изготовленных штам­пах.

Взрывную штамповку проводят в бетонном бассейне, заполненном водой. Над заготовкой на опреде­ленной высоте в воде подвешивают заряд с детонатором. При взрыве заряда образуется ударная волна высокого давления.

Электрогидравлическую штампов у проводят в воде. Источником ударной волны служит кратковременный электрический разряд в жидкости. Иногда штамповку проводят несколькими импуль­сами.

При электромагнитной штамповке элект­рическая энергия преобразуется в механическую при импульсном разряде батареи конденсаторов через солено­ид. За счет разряда вокруг соленоида создается мгновен­ное магнитное поле высокой мощности, наводящее вихревые токи в трубчатой металлической заготовке. Взаимодействие этих токов с магнитным полем создает механические силы.

Контроль качества продукции обработки давлением подразделяется на промежуточный и окончательный. Промежуточный контроль следует после каждой опера­ции технологического процесса.

При этом проверяется правильность выполнения тех­нологических операций. Наружным осмотром выборочно выявляются правильность формы и качество поверхно­сти изделий. Окончательный контроль совершается в та­кой последовательности: все изделия подвергаются внешнему осмотру; выборочными промерами проверяют­ся размеры изделий; производится контроль твердости выборочно или каждого изделия; в соответствии с техническими условиями могут определяться механические свойства, макро- и микроструктуры, а также внутренние дефекты металла изделий.

 


Поделиться с друзьями:

mylektsii.su - Мои Лекции - 2015-2026 год. (1.094 сек.)Все материалы представленные на сайте исключительно с целью ознакомления читателями и не преследуют коммерческих целей или нарушение авторских прав Пожаловаться на материал