Студопедия

Главная страница Случайная страница

КАТЕГОРИИ:

АвтомобилиАстрономияБиологияГеографияДом и садДругие языкиДругоеИнформатикаИсторияКультураЛитератураЛогикаМатематикаМедицинаМеталлургияМеханикаОбразованиеОхрана трудаПедагогикаПолитикаПравоПсихологияРелигияРиторикаСоциологияСпортСтроительствоТехнологияТуризмФизикаФилософияФинансыХимияЧерчениеЭкологияЭкономикаЭлектроника






Ход выполнения работы. Под технологией диагностирования понимается практическое исполнение ряда операций — подготовительных и испытательных






Под технологией диагностирования понимается практическое исполнение ряда операций — подготовительных и испытательных, которые должны носить рационально-технологическую последовательность. Состав основных регламентных операций при контрольном осмотре карбюраторного двигателя

приведен в таблице 1.1.

Порядок проведения измерений и контролируемые параметры.

1. Минимальная частота вращения коленчатого вала двигателя.

Подготовительные операции: при неработающем двигателе согласно схеме (рисунок 1.2, б) подключить прибор Э216М.

Порядок измерений: запустить двигатель и установить частоту вращения коленчатого вала в пределах 1000—1500 мин -1, установить переключатель 6 в положение 2, 3; переключателем 11 установить стрелку прибора 2 на нулевую отметку; нажать кнопку 7. В случае недостаточного пространства используется гибкий переходник. Отсчет снижения частот вращения производится по шкале

0 —300 мин -1 в течение 10 -15 с. Затем последовательно, не отпуская кнопку 7, установить переключатель 6 в положение 2, 3 и так далее, измеряя каждый раз снижение частоты вращения коленчатого вала при выключении каждого цилиндра. Нормальное снижение должно находиться в пределах 25% наибольшей величины.

2. Определение содержания СО

Объемная доля СО в отработавших газах автомобилей с карбюраторными двигателями не должна превышать значений, указанных в таблице 1.2.

Определение содержания СО необходимо проводить в следующем порядке:

подготовить газоанализатор в соответствии с инструкцией, установить пробоотборное устройство газоанализатора в выпускную трубу глушителя автомобиля на глубине 300 мм от среза;

присоединить к двигателю тахометр;

запустить и прогреть двигатель до оптимальной температуры;

установить минимальную частоту вращения коленчатого вала двигателя(nmin х. х);

произвести измерение содержания СО при nmin х. х.;

установить частоту вращения коленчатого вала двигателя, соответствующую 0, 6 ном. х. х.

Таблица 1.1 - Состав регламентных операций при контрольном осмотре

карбюраторного двигателя

Перечень операций Оборудование, приборы, инструмент Технические условия
Подготовительные Проверить наличие, комплектность и крепление приборов систем охлаждения и смазки (визуально, методом осмотра)   Проверить наличие и уровень воды, масла и топлива, убедиться в герметичности соединений приборов Подключить в систему электрообору-дования аккумуляторную батарею, проверить показания КИП. Осмотреть состояние и крепление проводов высокого напряжения Проверить привод и механизмы управления работой двигателя (осмотром) Подключить к двигателю прибор. Запустить и прогреть двигатель, проверить герметичность его соединений (осмотром)   Контрольно-диагностические Проверить приемистость и прослушать работу двигателя на всех режимах Проверить устойчивость работы двигателя на минимальных оборотах холостого хода и произвести его регулировку Проверить эффективность работы цилиндров двигателя при поочередном их отключении Определить содержание СО в отработавших газах         -   Набор ключей автослесаря   Контрольно-измерительные приборы автомобиля   -     Э216   Стетоскоп     Прибор Э216, отвертка, ключ     Прибор Э216     Приборы: ГАИ-1, И-СО или К456     Все приборы двигателя должны иметь полную комплектность и надежные соединения Уровень воды и масла должен быть в норме   Показания КИП должны подтверждать техническую исправность всех систем двигателя   Приводы должны быть комплектными и исправными   Согласно рисунку 1.2, б Температура 80—90 °С, нарушения герметичности в соединениях не допускаются. Время для одного пуска двигате-ля стартером — не более 3—4 с     Прослушивание проводить по зонам (рисунок 1.5)   Сверить с нормативными значениями (таблица 1.3)     Падение частоты вращения коленчатого вала допускается не более 25%   Полученные данные сверить с нормативными данными (таблица 1.2)

 

произвести измерение содержания СО при 0, 6 ном. х. х.

Измерение содержания СО в обоих режимах следует проводить не ранее чем через 30 с после достижения установившейся частоты вращения коленчатого вала. При наличии у автомобиля раздельных выпускных систем измерение должно производиться в каждой из них отдельно.

 

Таблица 1.2 - Нормативные данные содержания СО

Режим работы Объемная доля окиси углерода, %, нe более, для автомобилей, изготовленных
до 78 г. с 78 по 89 гг. после 89 г.
Минимальная частота вращения коленчатого вала двигателя Частота вращения коленчатого вала двигателя, равная 0, 6 номинальной 3, 5   2, 0 2, 0   1, 5 1, 5   1, 0

 

При замере содержания СО вотработавших газах прибором ГАИ-1 (рисунок 1.8) трубка 1 вставляется в выпускную трубу. Газ засасывается побудителем расхода (насосом), находящимся в корпусе прибора 3 и, пройдя через фильтр 2, поступает в оптический блок (внутри корпуса), где поглощенная газом ИК радиация преобразуется в электрический сигнал, пропорциональный концентрации СО, и фиксируется миллиамперметром 4. Результаты контроля сопоставляют с нормативными значениями.

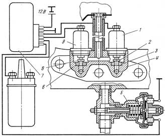
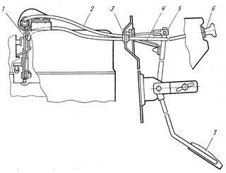
1 — рычаг дроссельных заслонок; 2 — 1, 9 — электромагниты; 2, 8 — воздушные

трубка; 3, 4 — кронштейны; 5 — вилка клапаны; 3, 6 — клапанные седла;

тросика; 6 — кнопка; 7 — педаль 4 —корпус; 5 — вакуумный выключатель;

7 — электронный блок

 

Рисунок 1.9 - Привод дроссельных Рисунок 1.10 - Система впуска дополнительного

заслонок карбюратора К156 воздуха двигателя (ЗМЗ 4022.10)

 

Привод дроссельных заслонок карбюратора К156 осуществляется педалью 7 (рисунок 1.9), соединенной с рычагом 1 дроссельных заслонок при помощи тросика 5, скользящего в пластмассовой трубке 2.

Система впуска дополнительного воздуха в двигатель ЗМЗ 4022.10 состоит из блока электромагнитных клапанов, вакуумного выключателя 5 (рисунок 1.10) и электронного блока 7 управления выпуском дополнительного воздуха.

Блок электромагнитных клапанов и вакуумный выключатель установлены

на двигателе, а электронный блок — под панелью приборов.

Блок электромагнитных клапанов состоит из двух электромагнитов 1 и 9 с воздушными клапанами 2 и 8 и корпуса 4, в котором установлены два клапанных седла З и 6 с разными проходными сечениями. Открытие клапанов 2 и 8 происходит при подаче напряжения на клеммы электромагнитов 1 и 9 с электронного блока 7.

Работа электромагнитов проверяется на неработающем двигателе при помощи провода, присоединяя его одним концом к плюсовой клемме аккумуляторной батареи, а другим поочередно к клеммам электромагнитов 1 и 9. Если электромагниты исправны, то в момент присоединения провода к клеммам должен прослушиваться характерный щелчок, который свидетельствует о том, что клапан работаёт.

 

 

а — К156; 1 — винт количества; 2, 3— винты качества;

б — КЛ26Б; 1 — винт количества; 2, 5— винты качества

 

Рисунок 1.11 - Регулировка холостого хода карбюраторов моделей К156 и КЛ26Б

 

Герметичность воздушных клапанов проверяется при работе двигателя на холостом ходу. Для этого надо отсоединить от воздушного фильтра карбюратора шланг, идущий к блоку электромагнитных клапанов, и заглушить отверстие шланга. Если при этом характер работы двигателя не меняется, значит клапаны герметично закрывают отверстия в седлах.

Если при указанной выше проверке неисправности не обнаружены, следует проверить работу электронного блока.

Для проверки работоспособности электронного блока необходимо:

отсоединить от вакуумного выключателя провод, соединяющий его с корпусом автомобиля;

подключить к клеммам электромагнитов 1 и 9 и к корпусу автомобиля лампы мощностью не более 1, 5 Вт (например, лампы для освещения багажника); провода с клемм не снимать;

прогреть двигатель до рабочей температуры 80 - 90 °С;

увеличить частоту вращения коленчатого вала до загорания обеих ламп, сначала должна загореться лампа, подключенная к электромагниту 9 (примерно при 1700 мин-1), затем лампа, подключенная к электромагниту 1 (примерно при 2500 мин-1).

 

 

 

Таблица 1.3 - Нормативы диагностических параметров двигателя автомобиля

 

 

 

Продолжение таблицы 1.3.

Если при повышении частоты вращения коленчатого вала выше средней лампы не загораются или загорается только одна из них, электронный блок подлежит замене. Регулировка на nmin х. х. производится на прогретом двигателе (температура охлаждающей жидкости 80-90 °С), при исправной системе зажигания, нормальных зазорах в клапанах и в пределах допустимой потери компрессии.

Порядок регулировки карбюратора К156 (рисунок 1.11, а):

завернуть винт 1 рычага дроссельных заслонок на 1, 5 - 2 оборота от положения, при котором заслонки полностью закрыты и винт касается рычага;

завернуть до отказа, но не слишком туго, винт 2, после чего отвернуть его на 1/2 - 1 оборот;

завернуть до отказа, но не слишком туго, винт 3, после чего отвернуть его на 4—5 оборотов;

пустить двигатель и установить предварительно винтом частоту вращения коленчатого вала двигателя 800-900 мин-1;

завертывая винт 3, найти такое положение, которое соответствует началу

ухудшения устойчивости работы двигателя, после чего отвернуть его на 1/2 оборота;

винтом 2 обеспечить минимально устойчивую частоту вращения коленчатого вала;

винтом 1 восстановить частоту вращения коленчатого вала 800-900 мин-1. При этом двигатель должен работать достаточно устойчиво и не останавливаться при резком открытии и закрытии дроссельных заслонок.

Порядок регулировки карбюратора КЛ26Б (рисунок 1.11, б):

перед регулировкой винты 2 и 5 завернуть до отказа, а затем отвернуть на 2 оборота каждый и запустить двигатель;

упорным винтом 1 повысить частоту вращения коленчатого вала;

винтами 2 и 5 (поочередно) достигнуть наибольшей частоты вращения при данном положении дросселя,

винтом 1 уменьшить частоту вращения до минимальной;

винтами 2 и 5 (поочередно) достигнуть минимальной и устойчивой частоты вращения.

Для проверки регулировки необходимо нажать на педаль дросселя и резко отпустить ее, если двигатель не остановится и будет устойчиво работать на nmin х. х., регулировка считается законченной.

Нормативные значения основных диагностических параметров указаны в таблице 1.3.

Результаты техосмотра, контрольные и диагностические параметры заносятся в технические карты контрольных измерений.

 

 


Контрольные вопросы

1. Изложить цель и ход выполнения работы.

2. Перечислить контрольные операции при техосмотре карбюраторного ДВС и указать вид оборудования, приспособлений и инструментов используемых при этом.

3. Какое оборудование применяется для выполнения ТО карбюраторного двигателя автомобиля?

4. Сформулировать назначение каждого контрольно-диагностического прибора, принцип действия и дать краткое описание каждому из них.

5. Какие узлы и агрегаты двигателя подлежат техосмотру и регулировке?

6. Перечислить диагностируемые параметры и указать критерии их оценки.

7. С какой целью выполняются ТО, контроль и диагностика двигателя?

 

В ответах на вопросы при необходимости использовать эскизы и схемы.

 


Поделиться с друзьями:

mylektsii.su - Мои Лекции - 2015-2026 год. (1.813 сек.)Все материалы представленные на сайте исключительно с целью ознакомления читателями и не преследуют коммерческих целей или нарушение авторских прав Пожаловаться на материал