Студопедия

Главная страница Случайная страница

КАТЕГОРИИ:

АвтомобилиАстрономияБиологияГеографияДом и садДругие языкиДругоеИнформатикаИсторияКультураЛитератураЛогикаМатематикаМедицинаМеталлургияМеханикаОбразованиеОхрана трудаПедагогикаПолитикаПравоПсихологияРелигияРиторикаСоциологияСпортСтроительствоТехнологияТуризмФизикаФилософияФинансыХимияЧерчениеЭкологияЭкономикаЭлектроника






Ход выполнения работы. Оборудование и приспособления.






Оборудование и приспособления.

Карбюраторный двигатель, установка М489А, набор карбюраторов разных

моделей, комплекты инструмента и приспособлений.

На двигателе уровень топлива в карбюраторе К88 и К126 проверяется при малой частоте вращения на холостом ходу по меткам контрольных отверстий в

поплавковой камере, а в К156 — на неработающем двигателе по уровню в

специальной трубке со шкалой, устанавливаемой вместо пробки сливного отверстия (рисунок 6.1). Положение поплавка 1 строго горизонтальное. Уровень топлива от плоскости разъема корпуса и крышки должен быть для карбюраторов: К135 18, 54-21, 5 мм; К126 18, 54-21, 5 мм; К88 18Ч- 19 мм; К156 20, 54-22, 5 мм. На снятых карбюраторах уровень топлива определяется специальными шаблонами, фиксирующими положение топлива по высоте Н от

крышки или корпуса, предварительно разобранных (рисунок 6.2, а).

 

 

 

а - по контрольному отверстию, б - мерной трубкой, в - через смотровое окно

 

Рисунок 6.1 - Проверка уровня топлива вкарбюраторе:

 

а- К166Г, б - К156

 

Рисунок 6.2 - Регулировка поплавкового механизма карбюраторов:

 

Регулировка уровня топлива карбюраторов К126 и К156 (рисунок 6.2, а, б) производится подгибанием язычка 4 рычага поплавка 3. При этом ход иглы h клапана устанавливается подгибанием ограничителя 2 и должен быть 1, 24-1, 5 мм для К126 и 2, 0—2, 3 мм для К156.

В карбюраторе К88 уровень топлива регулируется изменением числа прокладок под гнездом 6 игольчатого клапана, положение которого фиксируется по высоте специальным шаблоном и должно быть (13, 5±0, 3) мм.

Герметичность клапанов карбюратора проверяется на специальном приборе по сопротивлению давления его открытия при разрежении 2, 5 кПа и времени выдержки 10—12 с. В карбюраторах К88 герметичность восстанавливается притиркой специальными пастами, а в К135, К126 и К156 — заменой уплотнительной шайбы 7 или 5 (рис 6.2, а, б). Герметичность поплавка проверяется в течение 1—2 мин в сосуде с водой, нагретой до 60—90 °С. Выделение воздуха указывает на наличие и место повреждения.

 

 

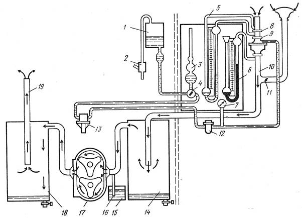
Рисунок 6.3 - Схема установки модели 489А для проверки карбюраторов

 

 

Диагностирование карбюратора безмоторным методом производится на стационарной установке модели 489А (рисунок 6.3). Установка состоит из двух секций: машинной и операторской. В машинной секции установлены вакуумный насос 17 с приводом от электродвигателя и два отстойника 18 и 14 для отделения топлива от воздуха. Для охлаждения насоса из бачка 15 подается вода через форсунку 16. Проверяемый карбюратор 9 соединен с бачком 1, кранами 2, 4, из которого топливо самотеком поступает в мерные шары пробера 3, а затем топливный насос 13 подает его под давлением, контролируемым манометром 7, через фильтр 12 в поплавковую камеру карбюратора, откуда под воздействием разрежения вакуумного насоса в смесительную камеру. Воздух в карбюратор поступает через насадку 8 входного патрубка, где устанавливаются диафрагмы с отверстиями различного диаметра (набор состоит из шести диафрагм 8÷ 45 мм). Разность разрежения до и после диафрагмыизмеряется пьезометрами: водяным 5 и ртутным 6. Количество воздуха, проходящего через карбюратор, может дополнительно регулироваться дросселем 11 Патрубка 10. Таким образом, меняя размеры диафрагмы и положение дросселей 11 установки и карбюратора 9, при постоянном разрежении, создаваемом вакуумным насосом, можно получать различные режимы работы двигателя. Установка работает на реактивном топливе (керосин). Образовавшуюся топливовоздушную смесь пропускают через отстойники 14 и 18 с устройством для вентиляции 19. Количество топлива, расходуемого карбюратором из бачка 1, определяется расходомером-пробером 3 в зависимости от количества воздуха, поступающего через воздушный патрубок и соответствующего определенным режимам работы карбюратора.

Проверяемый карбюратор последовательно испытывают на разных режимах, которые устанавливают по показаниям водяного и ртутного пьезометров при помощи дросселя карбюратора и установки. Расход топлива определяется по времени его убывания из мерной емкости расходомера 3 с последующим сравнением с контрольными значениями, установленными на эталонных карбюраторах.

 

 

Таблица 6.1 - Режимы испытания карбюратора К88

 

В таблице 6.1 режимы подобраны так, что первый соответствует движению автомобиля с небольшой скоростью по горизонтальной дороге, последний — при полном открытии дросселя, а промежуточные соответствуют движению с полной нагрузкой. Повышенный расход топлива указывает на неисправность системы карбюратора, обеспечивающей его работу на заданном режиме.

Так, например, на первом режиме повышенный расход указывает на негерметичность клапана экономайзера, на остальных — увеличенную пропускную способность жиклеров. Работа систем карбюратора на разных режимах испытания оценивается часовым расходом условного топлива.

Поэлементная диагностика карбюратора К135 автомобиля ГАЗ-5312

производится после испытания на стенде с последующей разборкой.

1. Проверка момента включения экономайзера производится при снятой крышке (рисунок 6.4) поплавковой камеры. Нажатием, планка 1 устанавливается так, чтобы расстояние между ней и плоскостью разъема карбюратора составляло (15±0, 2) мм. При этом регулировочной гайкой 2 штока необходимо установить зазор (3±0, 2) мм между торцом гайки и планкой 1.

2. Контроль герметичности клапана экономайзера производится на приборе для проверки пропускной способности жиклёров, где под напором столба воды (1000±2) мм допускается пропуск не более 4-х капель в минуту.

 

 

Рисунок 6.4 - Проверка момента включения экономайзера карбюратора К135

3. Производительность ускорительного насоса (12 см3) определяется за

20 ходов поршня при темпе качания рычага привода дроссельных заслонок 20 раз в минуту.

4. Пропускная способность жиклеров проверяется замером их диаметров специальными калибрами или под напором столба воды высотой (1000 + 2) мм при температуре 20 °С с последующим сравнением с эталонными данными:

 

Главный топливный жиклер, см3/мин......................................................310±4

Воздушный жиклёр, см3/мин...................................................................... 125±2

Топливный жиклер холостого хода, см3/мин........................................... 90±1, 5

Воздушный жиклер диафрагменного механизма, см3/мин..................... 60±1, 5

Вакуумный жиклер диафрагменного механизма, см3/мин...................... 250±6

Диаметр распылителя экономайзера, мм...........................................0, 75±0, 06

Диаметр ускорительного насоса, мм....................................................0, 6±0, 45

По окончании работы оформляются отчеты, которые должны отражать все операции диагностирования карбюратора: общую и поэлементную, технические условия и полученные результаты, эскизы и техническое заключение.

Контрольные вопросы

 

 

1. Цель и методы диагностирования системы питания двигателя.

2. Основные диагностические параметры, определяющие экономичность

работы двигателя.

3. Основные параметры двигателя, определяющие выбор октанового

числа топлива.

4. Характерные неисправности карбюратора, влияющие на перерасход топлива.

5. Внешние признаки образования богатой или бедной горючей смеси

6. Причины пониженного уровня топлива в карбюраторе.

7. Диагностические параметры карбюратора К135.

8. Назначение установки модели 489А.

 


Поделиться с друзьями:

mylektsii.su - Мои Лекции - 2015-2026 год. (0.777 сек.)Все материалы представленные на сайте исключительно с целью ознакомления читателями и не преследуют коммерческих целей или нарушение авторских прав Пожаловаться на материал