Студопедия

Главная страница Случайная страница

КАТЕГОРИИ:

АвтомобилиАстрономияБиологияГеографияДом и садДругие языкиДругоеИнформатикаИсторияКультураЛитератураЛогикаМатематикаМедицинаМеталлургияМеханикаОбразованиеОхрана трудаПедагогикаПолитикаПравоПсихологияРелигияРиторикаСоциологияСпортСтроительствоТехнологияТуризмФизикаФилософияФинансыХимияЧерчениеЭкологияЭкономикаЭлектроника






Ленточные тормоза буровых лебедок






 

Тормозные устройства по назначению делятся наосновные и вспомогательные.

Основные предназначены для осуществления остановки барабана БЛ, вспомогательные – для длительного торможения с целью снижения скорости движения.

В БЛ в качестве основного тормоза используется ленточный, а вспомогательного – гидродинамический или электрический.

В БЛ в качестве основного используется 2-х ленточный тормоз, выбор которого обусловлен:

- надежностью в работе (сохраняет работоспособность при отказе одной из лент);

- тормозной момент распределяется на два шкива, т.е. в двое уменьшается контактное давление, следовательно повышается долговечность тормозных шкивов и колодок.

К ленточному тормозу БЛ предъявляются следующие требования:

- тормозной момент должен быть достаточным для надежного удержания колонны труб наибольшей массы, соответствующей допускаемой грузоподъемности лебедки;

- привод тормоза должен обеспечить плавное регулирование тормозного момента и мягкую посадку на стол ротора колонны;

- тормоз должен растормаживаться одновременно с включением лебедки и исключать самопроизвольное торможение и расторможение;

- температура на поверхности трения фрикционной пары должна соответствовать допускаемой температуре нагрева материала пары;

- конструкция тормоза должна исключать самопроизвольное торможение и расторможение и обеспечить легкость управления, удобство и доступность осмотра, регулирования и замены износившихся деталей и узлов.

Установка тормозных шкивов непосредственно на барабан лебедки требует увеличения необходимого тормозного момента. Однако при отсутствии промежуточных звеньев между тормозом и талевым канатом обеспечивается надежность и безопасность торможения.

 

 

1-рычаг; 2-коленчатый вал; 3-стойка балансира; 4-рама лебедки; 5-балансир; 6-шпильки; 7-пружина; 8-резьбовые стаканы; 9-корпус подшипников коленчатого вала; 10-болты; 11-тормозные шкивы; 12-тормозные ленты; 13-барабан лебедки; 14-тормозные накладки; 15-дистанционные планки.

Рисунок 1.6 – Общий вид 2-х ленточного тормоза буровой лебедки

 

В ленточном тормозе рабочий элемент – гибкая металлическая лента с фрикционными накладками, которые прижимаются к тормозным шкивам при угловом смещении одного из концов ленты.

Ленточный тормоз - основной тормоз буровой лебедки. Он предназначен для остановки и удержания в неподвижном состоянии бурильной колонны и другого инструмента, спускаемых и поднимаемых из скважины. Ленточный тормоз при необходимости может быть использован в качестве вспомогательного. Например, в случаях отказа или недостаточного тормозного момента вспомогательного тормоза лебедки для снижения скорости спуска колонны труб в скважину используется ленточный тормоз. При отсутствии регулятора подачи долота ленточный тормоз служит для поддержания осевой нагрузки на долото и подачи бурильной колонны по мере углубления забоя скважины.

 
 

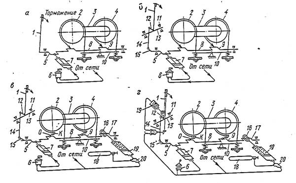
Кинематические схемы ленточного тормоза буровых лебедок показаны на рисунке 1.7.

а–У-2-2-11; У-2-5-5; б–ЛБУ-1100; в–ЛБУ-1700; ЛБУ-3000; г–У2-300

Рисунок 1.6 - Кинематические схемы ленточных тормозов лебёдки

 

Барабан лебедки - наиболее тихоходный орган в кинематической цепи подъемного механизма. Однако при отсутствии промежуточных звеньев тормозом и талевым канатом обеспечиваются подъёмность и безопасность торможения лебедки.

Концы ленты соединяются с балансиром 10 и шатунными шейками 9 коленчатого вала 8. Конец ленты, соединяемый с балансиром, принято называть набегающим, а противоположный, соединяемый с коленчатым валом - сбегающим. Сбегающие концы лент, обхватывающие тормозные шкивы под углом более 2700, соединяются с коленчатым валом посредством обоими О и кронштейнов К. При торможении коленчатый вал поворачивается и сбегающие концы лент перемещаются по дуге, описываемый радиусом шатунных шеек.

После выбора свободного хода фрикционные накладки принимаются к тормозным шкивам. Величина свободного хода зависит от радиальных заторов между фрикционными накладками и тормозными шкивами, образующихся при растормаживании. Направления вращения барабана при спуске должно совпадать с направлением углового смещения тормозных лент торможения лебедки. В случае вращающиеся шкивы будут затягивать тормозные ленты и благодаря этому уменьшается усилие, необходимое для торможения. При подъеме тормозные шкивы, вращаясь в обратном направлении, будут отбрасывать тормозные ленты и тем самым способствовать растормаживанию лебедки одновременно с включением ее привода.

Под давлением воздуха, поступающего через клапан 20 от сети или баллона 18, шток цилиндра 19 выдвигается и проушина 16 освобождает шейку 17 тормозного вала, обеспечивая управление тормозом рукояткой 1 или пневмоцилиндром 7, как в нормально разомкнутых тормозах. В аварийных ситуациях давление воздуха в пневмоцилиндре 19 падает и под действием возвратной пружины шток перемещается в обратном направлении. Проушины 16 штока поворачивают тормозной вал и в результате этого лебедка автоматически затормаживается. В этом состоянии тормоз действует как нормально замкнутый.

Исполнительный орган пневматического привода ленточных тормозов - тормозной цилиндр одностороннего действия, в котором рабочий ход поршня совершается под действием сжатого воздуха и обратный ход под действием пружины.

При подаче сжатого воздуха в поршневую полость цилиндра поршень под действием создаваемого усилия сжимает пружину и перемещает штык, который поворачивает рычаг вместе с коленчатым валом ленточного тормоза.

Плавность торможения достигается постепенным увеличением давления воздуха в цилиндре тормоза, обеспечиваемым краном Казанцева. При расторможенном давлении воздуха в цилиндре снижается и поршень под действием пружины отводится в исходное положение.

Шток возвращается в исходное положение рукояткой тормоза, поворачиваемый при растормаживании ленточного тормоза. Положение толкателя внутри штока поршня обеспечивает независимое управление тормозом внутри штока поршня посредством механического и пневматического приводов.

Пружинные тормозные цилиндры служат для автоматического торможения лебедки. Поршень соединяется со штоком, снабженным проушиной для соединения с рычагом тормозного вала. В процессе нормальной работы лебедки пружины постоянно сжаты под давлением воздуха, поступающего через отверстие в полость цилиндра. При авариях отключается подача воздуха и давление в полости падает.

Под действием пружины шток возвращается в исходное положение и замыкает тормоз. Плавность аварийного торможения обеспечивается дросcелирующей шайбой, через которую воздух удаляется из цилиндра.

4А для которого коэффициент трения по стали равен 0, 3, допускаемое контактное давление 1, 2 МПа, обеспечивает торможение при скоростях скольжения до 30-40 м/с притемпературе на поверхности трения шкивов 700-12000С.

 


Поделиться с друзьями:

mylektsii.su - Мои Лекции - 2015-2026 год. (0.679 сек.)Все материалы представленные на сайте исключительно с целью ознакомления читателями и не преследуют коммерческих целей или нарушение авторских прав Пожаловаться на материал