Студопедия

Главная страница Случайная страница

КАТЕГОРИИ:

АвтомобилиАстрономияБиологияГеографияДом и садДругие языкиДругоеИнформатикаИсторияКультураЛитератураЛогикаМатематикаМедицинаМеталлургияМеханикаОбразованиеОхрана трудаПедагогикаПолитикаПравоПсихологияРелигияРиторикаСоциологияСпортСтроительствоТехнологияТуризмФизикаФилософияФинансыХимияЧерчениеЭкологияЭкономикаЭлектроника






Ауаны беру және оны қыздыру






 

 

Домна пешіне берілетін ауа міндетті тү рде мү мкіншілігіне дейінгі жоғ ары температурағ а қ ыздарылады. Жоғ ары ө німділікті қ амтамасыз ету ү шін жетерліктей мө лшерде қ ыздырылғ ан ауа беру қ ажет. Қ азіргі кезде домна пешіне оның 1м3 пайдалы кө леміне 1, 8 - 2, 2 м3/мин дейін ауаны ү рлеуге блады. Мысалы, пайдалы кө лемі 3200м3 пешке минутына 5760 – 7040 м3 ауа беріледі. Мұ ндай мө шердегі ауаны беріп тұ ру ү шін, 0, 4 – 0, 5 МПа қ ысымда ауа беруді қ амтамасыз ететін, ө німділігі жоғ ары ауа қ ыздырғ ыштарын қ олданады.

Ауа ү ргіштермен беретін ауа пешке берілер алдында арнайы аппараттарда-ауа қ ыздырғ ыштарында 1100 - 1400°С-ге температурағ а дейін қ ыздырылады. Домналық ауа қ ыздырғ ыштар аппараттардың регенеративті типіне жатады.

Пештің кө лемінің ө суіне қ арай уақ ыт бірлігінде берілетін ауа мө лшері де арта тү седі. Сондық тан оны сол температурағ а дейін қ ыздыру ү шін ауа қ ыздырғ ыштарының қ ыздыратын беттің жинақ ауданын ө сіру қ ажет болады, ал одан да жоғ ары температурағ а дейін қ ыздыру ү шін оның пеш кө лемінің 1 м3-не шақ қ ан бетінің меншікті ауданын ө сіру талабы қ ойылады.

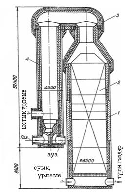
Кө лемі ү лкен пештерде ауа қ ыздырғ ыштар ауаны 1400°С-ге дейін қ ыздыруғ а есептелінген. Ә р пештегі ауа қ ыздырғ ыштар саны 4-ке тең болады, ал қ ызатын бетінің меншікті ауданы 100м23-пеш кө леміне дейін ү лкейтілген, ал бетінің жинақ мө лшері 540000м2-ге дейін ө скен. Ауаны қ ыздыруғ а арналғ ан ауа қ ыздырғ ыштарының ішіне орналасқ ан жану камералары болады, ал соң ы уақ ыттарда салынып жатқ ан пештер жану камералары сыртқ а шығ арылғ ан ауа қ ыздырғ ыштарымен жабдық талынады, олар ү рлемені ө те жоғ ары температураларғ а дейін қ ыздырып алуғ а мү мкіндік береді. Ауа қ ыздырғ ыштары, 17-суретте кө рсетілгендей, бір сызық бойына орналасады да агрегаттардың бір блогін тү згендей болады.

Жану камерасы ішіне орналасқ ан ауа қ ыздырғ ыштар ү сті кү мбез мә зміндес, цилиндр формалы болады, ауа қ ыздырғ ыштардың биіктігі 50 – 55 м-ге жетеді, сыртқ ы диаметрі 9 – 13 м-ді қ ұ райды. Саң ылаусыз = герметикалы. Шамот кірпішімен иніштелінеді.

Ү стің гі бө лігі мен кү мбезі жоғ ары глиноземді жә не динас кірпішінен қ аланып шығ арылады. Жану камерасы ішкі кең істіктің жалпы ауданының 15 – 20% алады, ал қ алғ аны ішкі кө лемі сұ ғ ындырмамен толтырылады.

Ауаны 1200°С-ге температурағ а дейін қ ыздыруғ а арналғ ан ауа қ ыздырғ ыштар қ ұ рылмалық жағ ынан ө згеше болады. Ұ сынылып отырғ ан ауа қ ыздырғ ышның ү стің гі 1/3 қ аптамасының диаметрі 900 мм-ге артық (18-сурет).

 

 

1 – суық ү рлеме қ ұ быры; 2 – газ жанарғ ысы; 3 – тү тін мұ ржасы; 4 – ауа қ ыздырғ ыштар; 5 – таза газ қ ұ быры; 6 – ыстық ү рлеме қ ұ быры; 7 – сақ ина (айналма) тә різді; 8 – араластырғ ыш қ ұ быр; 9 – сақ тандырғ ыш клапан; 10 – араластырғ ыш клапан; 11 – суық ауа клапаны; 12 – тү тін ызботы; 13 – ыстық ү рлеме клапаны.

 

17-сурет Ауа қ ыздарғ ыштарының орналасу сорабы.

 

 

1 – сұ ғ ындырма камерасы; 2 – сұ ғ ындырма; 4 – кү мбез; 4 – жану камерасы.

 

18-сурет Жану камерасы сыртқ а шығ арылғ ан ауа қ ыздырғ ыштың қ ұ рылғ ысы.

Жоғ ары температуралы аймақ тары (кү мбезі, жану камерасының ішкі қ алауының қ атарлары, қ абырғ асының ү стің гі қ атарлары жә не сұ ғ ындырмасы) кү мбезінің қ алауының температурасын 1550°С-ге дейін жеткізуге мү мкіндік беретін, жоғ ары температурада кү йдірілген династан қ аланғ ан. Қ абырғ алармен мұ ғ ындырмасының орта бө лігі жә не жану камераның қ абырғ асының сырт қ атарлары А-класындағ ы жоғ ары глиноземді жә не шамот кірпішінен, ал тө менгі бө лігі Б-класындағ ы шамот кірпішінен қ аланғ ан.

Кү мбездің оттө зімді иніші, сумен салқ ындатылып тұ ратын, А-класындағ ы шамот кірпішінен қ аланғ ан арнайы қ абырғ ағ а сү йенеді. Мұ ндай қ ұ рылма қ ызу барысында пеш пен кү мбездің ө лшемінің тә уелсіз ө су мү мкіндігін қ амтамасыз етеді. Жоғ ары температуралық аймқ тағ ы қ абырғ а қ алауының, жану камерасының жә не сұ ғ ындырманың радиалдық ө су нә тижесінен туатын жү ктемені асбест пен тү йішіктелінген шлактың араласпасынан алынғ ан есепке қ абылдайды.

Жылу алмасу тиімді болу ү шін жә не пайдалану сенімді болу ү шін сұ ғ ындырманы дө ң гелек тесіктері бар алты қ ырлы блоктардан қ алайды. Осы жағ дайда қ ызудың меншікті беті бұ рынғ ы 24, 9 м23 (ұ ящық тарының ө лшемі 45х45 мм тік бұ рышты формадағ ы сұ ғ ындырмада) қ арағ анда 32, 7 м23-ге дейін кө теріледі. Ауа қ ыздырғ ыштың ө лшемдерін ө сірмей, оның жылулық қ уатын ө сіру, жану камерасын ауа қ ыздырғ ышының сыртына шығ арғ анда мү мкін болады.

Ауа қ ыздырғ ыштары циклді жұ мыс істейді. Жұ мыстың циклі сұ ғ ындырманы ыстық газдармен қ ыздырудан басталады. Қ ыздыру мерзімінде тө менгі тесігі арқ ылы газ жанарғ ысымен домна жә не кокс газының араласпасы жә не де камерада-4 жануғ а қ ажетті ауа беріледі. Ыстық газдар камераның бойымен жоғ ары кө теріледі жә не тү тін мұ ржасының тарту ә серімен сұ ғ ындарманың -2 каналдарымен тө мен қ арай тү седі. Жану ө німдері сұ ғ ындырманың бойымен жү ріп отырып сұ ғ ындырма кірпішіне жылулығ ын береді де оны қ ыздырады, ал осі 400°С дейін салқ ындап ауа қ ыздырғ ышынан тү тін тесіктері арқ ылы тү тінызботына, ал одан кейін тү тін мұ ржасы арқ ылы атмосферағ а шығ ып кетеді.

Бір мезгілде ү ш ауа қ ыздырғ ыш қ ызады, ал қ ызғ ан тө ртіншісі арқ ылы домна пешіне ауа беріледі. Суық ауа сұ ғ ындырма-2 арқ ылы ө тетін жолмен (суық ү рлеме) кү мбез-3 арқ ылы ү рлеме қ ұ бырына, ал одан кейін домна пешіне барады.

Қ ыздыру периоды ү ш сағ ат шамасына созылады. Қ ыздыру аяқ талғ аннан кейін ауа қ ыздырғ ыш «ү рлемеге» қ ойылады. Сө йтіп газ жанарғ ысы сө ндіріледі, тү тін тесіктері жабылады.

Регенеративті ауа қ ыздырғ ыштарының кемістігіне олардың «ү рлемедегі» жұ мысындағ ы ү рлеме температуасының алғ ашқ ы жә не ақ ырғ ы периодындағ ы тұ рақ сыздығ ы жатады. Пешке келіп тү сетін ү рлеменің температурасын тұ рақ ты етіп ұ стау қ ажет. Ә р тү рлі температурадағ ы ү рлемені пешке беру оның ә дісттегі жағ дайда жұ мыс істеуінің бұ зылуын тудырғ ан болар еді. Ол ү шін суық жә не ыстық ү рлепенің қ ұ бырларын ө зара қ осады-8. Қ ұ бырда берілген температураны ұ стап тұ ру ү шін араластыратын суық ауаның мө лшерін автоматты тү рде есептеп жіберіп тұ ратын клапан-10 (араластырғ ыш клапан) орнатылғ ан. Ауа қ ыздырғ ыштардың жабдығ ының қ ұ рамына реттегіш жә не айырушы клапандары бар газ жанарғ ылары, суық жә не ыстық ү рлеме, тү тін жә не тең естіргіш, ауалық -жү ксіздендіргіш, араластырғ ыш, сақ тандарғ ыш жә не атмосфералық клапандар кіреді.

Ә р бір ауа қ ыздырғ ышта бір-бірден реттегіш жә не айырушы клапаны бар газ жанарғ ысы, бір-бірден суық жә не ыстық ү рлеме клапаны, екі тү тін жә не тең естіргіш клапандар орнатылғ ан. Клапанның қ алғ андары ауа қ ұ бырына жайғ астарылғ ан. Оларғ а жататындар:

1) айырушы-ауа қ ұ бырының бір бө лігін екіншісінен анда санда ажыратып тастап тұ руғ а;

2) сақ тандырғ ыш-ауа қ ұ бырларындағ ы қ ысым рұ қ сат етілген шамадан асып кеткенде ауа қ ұ бырына атмосферамен байланыстыру ү шін;

3) кері-ағ ынның бір бағ ытта қ озғ алуын қ амтамасыз ететін жә не оғ ан кері жү ргенде оның ө туіне жол бермейтін;

4) реттеуші-газ параметлері берілген шамадан ажыратылғ анда қ ұ бырдың қ имасын автоматты ө згертіп тұ ратын;

5) тең естіргіш-басты клапандары ашардың алдында жапқ ыштын екі жақ ындағ ы қ ысымды тең естіру ү шін.

 

 


Поделиться с друзьями:

mylektsii.su - Мои Лекции - 2015-2026 год. (1.072 сек.)Все материалы представленные на сайте исключительно с целью ознакомления читателями и не преследуют коммерческих целей или нарушение авторских прав Пожаловаться на материал