Студопедия

Главная страница Случайная страница

КАТЕГОРИИ:

АвтомобилиАстрономияБиологияГеографияДом и садДругие языкиДругоеИнформатикаИсторияКультураЛитератураЛогикаМатематикаМедицинаМеталлургияМеханикаОбразованиеОхрана трудаПедагогикаПолитикаПравоПсихологияРелигияРиторикаСоциологияСпортСтроительствоТехнологияТуризмФизикаФилософияФинансыХимияЧерчениеЭкологияЭкономикаЭлектроника






Газ өтетін құбырлар және газды тазалау






 

Газ жү ретін қ ұ бырлар болаттың Ст.3 маркасынан, қ алың дығ ы 16 – 20 мм етіп істелінеді. Газ ө тетін қ ұ бырлар қ ырына қ ойылғ ан бір қ атар шамот кірпішімен иніштелінген.

Домна газының қ ұ бырлары пештен шаң ұ стағ ышқ а дейін, газ қ ұ бырының ең жоғ ары нү ктесіне ү ш данна да орнатылғ ан, диаметрі 800 мм атмосфералық қ ақ пақ тармен жабдық талғ ан.

Домна газының газ ағ ынын отын орнына пайдалануғ а болады. 1 тонна кокс жанғ анда 5000 м3 газ тү зіледі. Жану жылулығ ы шамамен 3700 кДж/м3 қ ұ райды. Оны домналық ауа қ ыздырғ ыштарын, кокс жә не қ ыздырғ ыш пештерін, қ азандық қ ондырғ ыларын, тұ тандырғ ыш кө ріктерді жағ уғ а пайдалану болады.

Домна пештерінің тө рт-тө ртен жоғ ары кө терілетін газ жү ретін қ ұ бырлары болады, одан кейін газ ө тетін қ ұ бырлар жұ птанып екі тік газ жү ретін қ ұ бырғ а қ осылады. Газ жү ретін тік қ ұ бырлар горизантал жинағ ыш коллекторғ а ойып орнатылады, одан бір ең кіші газ жү ретін қ ұ быр шаң ұ стағ ыштың стақ анына дейін келіп жетеді (19-сурет)

 

 

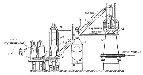
1 – домна пеші; 2 – тиегіш аппараттың тендестіргіш клапандары; 3, 4 – тиісінде тікеден-тік жә не ең еіші газ ө тетін қ ұ бырлар; 5 – шаң ұ стағ ыш; 6, 9, 13 – газ ө тетін қ ұ бырлар; 7 – жоғ ары қ ысымды скруббер; 8 – қ ұ быр-шашыратқ ыш; 10 – дроссель қ ұ рылғ ысы; 11 – жартылай таза газ қ ұ быры, 12 – электр сү згілер.

 

19-сурет Домна пешінің газ тазалау қ ұ рылысының кешені.

 

 

Домна пешінен газбен бірге едә уір мө лшерде шихталық материалдардың майда фракциялары шығ ады. Газдағ ы шаң жану жылулығ ын тө мендетеді, осындай газды отын ретінде пайдаланатын агрегаттардың бітеліп қ алуына жә не тозуына ә келіп соқ тырады.

Шаң ның теріс ә серін жою ү шін газды пайдаланар бұ рын алдын ала арнайы қ ұ рылғ ыда тазартады. Тазартудың ү ш сатысын ажыратады: ірі, шала жә не нә зік тазарту.

Ірі тазартуда шаң ның мө лшері алғ ашқ ы 15 – 30 г/м3-гі ден 1 – 3 г/м3-ге дейін тө мендейді. Ол цилиндр формалы, диаметтрі 12 м-ге дейін жететін, қ апталдары конус тә різді, ішкі жоғ ары қ алың дығ ы 113 мм шамот кірпішімен иніштелінген тік резервуар.Шаң ұ стағ ыштардың ө лшемдері:

Шаң ұ стағ ыштың жалпы биіктігі, мм 26430

Цилиндрінің диаметрі, мм 12000

Ү стің гі коеустың биіктігі, мм 7803

Астың ғ ы констың биіктігі, мм 6895

Шаң ұ стағ ыштың кө лемі, м3 2015

Қ аптамасы қ алың дығ ы 12 мм 12 белдеуден тұ рады, ал 4-ші жә не 9-шы белдеулердің қ алың дығ ы 14 мм-ге дейін жетеді. Шаң ұ стағ ыштардың барлығ ы ОГ2С болатынан жасалынғ ан.

Жартылай (шала) тазартуды сулы (ылғ ал) тә сілмен скруббер аппараттарында жү ргізеді. Скрубберде тазартқ анда газдағ ы шаң ның мө лшері 0, 1 – 0, 8 г/м3-дейін тө мендейді. Скруббер-бұ л диаметрі 6 – 8 м, биіктігі 30 м-ге дейін жететін тікеден-тік цилиндр. Газ астынан беріліп, сумен шайылады.

Газды нә зік тазарту келесі агрегаттарды пайдалану арқ ылы жұ ргізіледі: газ бен суды араластыру ү шін механикалық энергияны пайдаланатын дезинтегратарларда, мата қ аптарында сү зу, электр сү згілерде жә не ең соң ында дроссель қ ұ рылғ ыларында. Мұ ндай тазартуда газдағ ы шаң ның мө лшері 0, 005 – 0, 01 г/м3-дейін тө мендейді. Ұ сынылып отырғ ан жобада, колошниктегі газ қ ысымын жоғ арылатуғ а мү мкіндік беретін, дроссель тобын пайдаланамыз.

 

 


Поделиться с друзьями:

mylektsii.su - Мои Лекции - 2015-2026 год. (3.496 сек.)Все материалы представленные на сайте исключительно с целью ознакомления читателями и не преследуют коммерческих целей или нарушение авторских прав Пожаловаться на материал