Студопедия

Главная страница Случайная страница

КАТЕГОРИИ:

АвтомобилиАстрономияБиологияГеографияДом и садДругие языкиДругоеИнформатикаИсторияКультураЛитератураЛогикаМатематикаМедицинаМеталлургияМеханикаОбразованиеОхрана трудаПедагогикаПолитикаПравоПсихологияРелигияРиторикаСоциологияСпортСтроительствоТехнологияТуризмФизикаФилософияФинансыХимияЧерчениеЭкологияЭкономикаЭлектроника






Использование контрольных приспособлений при сборке червячных зубчатых передач






 

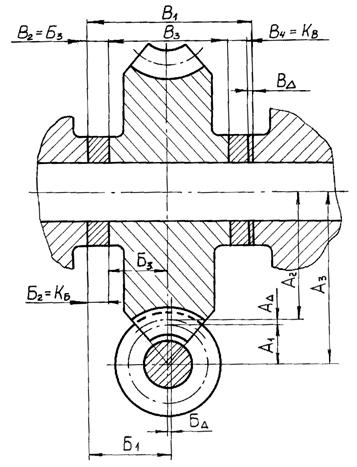
В процессе сборки червячной передачи (рис.7.3) необходимо обеспечить заданный радиальный зазор ( ) в зацеплении червяка с колесом и совпадение средней плоскости колеса с осью червяка ( ). Требуемая точность радиального зазора достигается, как правило, методом полной взаимозаменяемости. Что же касается второго требования, то оно выполняется при использовании метода регулировки. Для определения размера неподвижного компенсатора (КБ) необходимо знать фактические значения размеров Б1 и Б3. Контроль размера Б1, принадлежащего корпусу, не вызывает затруднений. Определить же размер Б3 с надлежащей точностью не представляется возможным. В связи с этим необходимо зафиксировать его при зубонарезании червячного колеса (рис.7.4) и затем перенести в сборочную размерную цепь Б.

При выполнении этой операции предпочтительным является базирование колеса по более развитой торцовой поверхности В. При смене баз (с А на В) размер Б3 являются замыкающим в технологической размерной цепи, в которой составляющими являются размеры Б3' и Б3".

Рис. 7.3. Функционально связанные сборочные цепи червячной зубчатой передачи

Рис. 7.4. Образование размера Б3 при нарезании зубьев червячного колеса

Таким образом перед зубонарезанием размер Б3' должен быть выполнен с высокой точностью. В противном случае точно «зафикси-ровать» размер Б3 не представляется возможным.

После достижения точности сборочной размерной цепи Б решается сборочная размерная цепь В по обеспечению гарантированного теплового и дистанционного зазора . При получении нами фактический размер компенсатора КБ включается в решение этой размерной цепи в качестве звена В2.


 


Поделиться с друзьями:

mylektsii.su - Мои Лекции - 2015-2026 год. (0.813 сек.)Все материалы представленные на сайте исключительно с целью ознакомления читателями и не преследуют коммерческих целей или нарушение авторских прав Пожаловаться на материал