Студопедия

Главная страница Случайная страница

КАТЕГОРИИ:

АвтомобилиАстрономияБиологияГеографияДом и садДругие языкиДругоеИнформатикаИсторияКультураЛитератураЛогикаМатематикаМедицинаМеталлургияМеханикаОбразованиеОхрана трудаПедагогикаПолитикаПравоПсихологияРелигияРиторикаСоциологияСпортСтроительствоТехнологияТуризмФизикаФилософияФинансыХимияЧерчениеЭкологияЭкономикаЭлектроника






Настроечные перемычки блока питания модулей типа СЖДМ






Перемычка Удаление светофора, км Ток через модуль СЖДМ-1, мА Напряжение на клеммах 82 – 62, В
12-11      
12-13      
12-32      
12-31      
12-33      
12-52 0, 5   81, 5 82, 5
12-51 0, 5    
12-53 0, 5 1, 5   90, 5 86, 5
12-72 0, 5 1, 5    
12-71 0, 5 1, 5   100, 5 103, 5
12-73 1, 5 2, 5   107, 5

 

Схемы управления огнями светофоров. Схема управления огнями светофора с модулями СЖДМ одиночной сигнальной точки кодовой автоблокировки приведена на рис. 52. Управление огнями выполняется по сигнально-блокировочному кабелю тремя прямыми жилами (Ж, З. К) и двумяобратными (ОЖЗ, ОК). Контроль горения огня светофора в нормальном (дневном) режиме осуществляется типовым реле 2ОЛ-25 (ОМШ2-46). При замене действующего реле АОШ2-180/0, 45 на 2ЩЛ-25 (ОМШ2-46) необходимо поменять монтаж контактов реле следующим образом: с группы 11-12-13 перемонтировать на 41-42-43 (21-22-23); с группы 31-32-33 перемонтировать на 31-32-33 (41-42-43); с группы 51-52-55 перемонтировать на 51-52-53 (61-62-63); с группы 71-72-73 перемонтировать на 61-62-63 (81-82-83).

 

Рис. 51. Схема последовательного

соединения блоков БПС для питания

удаленных светофоров

 

Рис. 52. Схема управления огнями светофора
с модулями типа СЖДМ одиночной сигнальной точки

 

В соответствии с принятым решением (протокол №ЦШТех 4/13
от 21.06.2009.) для светодиодных светофоров режим двойного снижения напряжения «ДСН» не осуществляется. Поэтому реле ДСН изымается, а из схем исключаются его контакты.

 

В режиме «Контроль холодной нити красного огня» модуль СЖДМ питается переменным напряжением 20 В (СХ20/МСХ). При этом через огневое реле протекает переменный ток порядка 150 мА, который замыкается через конденсаторы фильтра схемы модуля, а на клеммах «+» «–»
модуля переменное напряжение составляет не более 8 В и светодиоды выключены.

Начало свечения светодиодов модуля наблюдается при напряжении на его клеммах не менее 30 В. В режиме «Контроль холодной нити красного огня» переменным током контролируется только фильтр модуля СЖДМ и питающая линия. Целостность светодиодов контролируется только в режиме горения огня светофора постоянным током.

В светооптических светодиодных системах типа СЖДМ резервный излучатель света не предусматривается благодаря высокой надежности светодиодов и сохранению рабочего состояния при выходе их части из строя (срок службы модуля не менее 15 лет). Поэтому в схемах, где присутствует реле ОД, оно изымается, а его контакты из схемы исключаются.

Для систем автоблокировки, в которых предусмотрено резервное питание от аккумуляторной батареи (АБ-14-73), и полуавтоматической бло­ки­ровки (И-305-05-02) добавляется дополнительное аварийное реле
типа 2А-220 и преобразователь напряжения ПРП-ССС. При пропадании переменного напряжения 220 В выключается дополнительное аварийное реле, которое своими тыловыми контактами подключает ПХБПС/ОХБПС от преобразователя резервного питания ПРП-ССС, выходное напряжение которого питает блок питания светофора БПС-АБ.

Питание модулей СЖДМ должно осуществляться по прямой и обратной жилам, находящимся в одном кабеле. Контроль замыкания жил осуществляется предохранителем FS1, установленным в блоке питания
ПБС-АБ (рис. 51). При децентрализованных АБ (малое удаление ССС от источника питания) контроль замыкания схемы фильтра модуля осуществляется предохранителями номиналом 0, 5 А, установленными в
модуле СЖДМ в каждом полюсе (рис. 49).

Перечислим преимущества светофоров с модулями СЖДМ:

– обеспечение безопасного включения светофоров при удалении от
поста ЭЦ до 9, 5 км;

– использование светодиодов повышенной мощности;

– адаптация к стандартным системам железнодорожной автоматики;

– вандалоустойчивость;

– эффективное решение при обеспечении антифантомного эффекта;

– экономия электроэнергии;

– срок службы – 15 лет;

– диапазон рабочих температур от -60 до +60 °С;

– снижение трудоемкости обслуживания.

На рис. 53. приведена фотография головки проходного светофора с модулями типа СЖДМ.

Рис. 53. Светофорная головка

проходного светофора

с ССС ОАО «ПО УОМЗ»

4.4. Светооптические светодиодные системы
производства ЗАО НПО «РоСАТ»

Светооптические светодиодные системы мачтового СССМ 200 и карликового СССК160 светофоров производства ЗАО НПО «РоСАТ» предназначены для установки в современный корпус мачтового или карликового светофора вместо штатного линзового комплекта с лампами накаливания. Светооптические светодиодные системы обеспечивают подачу красных, желтых, зеленых, синих и лунно-белых сигналов мачтовых и карликовых железнодорожных светофоров, управляющих движением и обеспечивающих безопасность движения поездов. ССС производства ЗАО «РоСАТ» соответствует требованиям ТУ 32 ЦШ 2141-2009 «Светофоры железнодорожные со светооптическими светодиодными системами».

В изделиях ЗАО «РоСАТ» используются светодиодные системы ССК и ССМ красного, желтого, зеленого, синего, лунно-белого цветов производства ЗАО «Кавер-Лайт». В системах ССК и ССМ используются квазимонохромные светодиодные источники излучения, которые дополнены индивидуальной линзой Френеля с углом излучения 3° [13].

Электрическая схема светодиодного комплекта ЗАО «Кавер-Лайт» представлена на рис. 54 [17].

 

 

Рис. 54. Электрическая схема светооптической

светодиодной системы ЗАО «Кавер-Лайт»

 

В процессе опытной эксплуатации совершенствовалась конструкция светодиодных комплектов. Совместно с ЗАО НПО «РоСАТ» была разработана конструкция, устраняющая выявленные недостатки первых конструкций. После этих доработок конструкция ССС представляет собой законченное изделие, рекомендованное для внедрения на дорогах
ОАО «РЖД».

Основные типы светооптических светодиодных систем, производства
ЗАО НПО «РоСАТ» приведены в табл. 8 (URL: (www/roast.org).

 

Таблица 8

Типы светодиодных светооптических систем ЗАО НПО «РоСАТ»

Обозначение комплекта конструкторской документации Цвет свечения Тип исполнения
ССМ.200.01.00 красный СССМ 200-К
ССМ.200.01.00-01 желтый СССМ 200-Ж
ССМ.200.01.00-02 зеленый СССМ 200-З
ССМ.200.01.00-03 синий СССМ 200-С
ССМ.200.01.00-04 лунно-белый СССМ 200-Б

Окончание табл. 8

Обозначение комплекта конструкторской документации Цвет свечения Тип исполнения
СССК.160.01.00 красный СССК 200-К
СССК.160.01.00-01 Желтый СССК 200-Ж
СССК.160.01.00-02 зеленый СССК 200-З
СССК.160.01.00-03 синий СССК 200-С
СССК.160.01.00-04 лунно-белый СССК 200-Б

 

Светооптическая светодиодная система мачтового железнодорожного светофора СССМ 200 приведена на рис. 55.

 

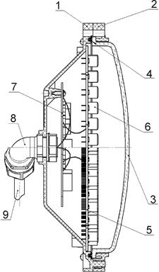
Рис. 55. Светооптическая светодиодная система мачтового железнодорожного светофора СССМ 200: 1 – корпус; 2 – кольцо прижимное; 3 – колпак; 4 – уплотнитель; 5 – матрица светодиодная; 6 – линза Френеля; 7 – согласующая плата; 8 – гермоввод­; 9 – монтажный кабель  

 

В конструкции ССС используются специально сконструированные светодиоды с линзами Френеля, что позволяет обеспечить оптическую видимость сигнала светофора как в ближней, так и в дальней зонах без применения специальных отклоняющих линз.

Светооптические светодиодные системы защищены колпаками из ударопрочного поликарбоната марки «Макролон», что обес­печивает высокую вандалоустойчивость светофора.

Внешний вид карликового выходного светофоров производства ЗАО НПО «РоСАТ» приведен на рис. 56.

Световой поток светофора на основе СССМ 200 и СССК 160 в различных погодных и климатических условиях в среднем на 20 % ярче, чем излучение традиционного линзового светофора, что существенно повышает безопасность движения, в том числе и на высокоскоростных магистралях.

Осевая сила света СССМ и СССК (сила света по оптической оси, проходящей через центр светового отверстия перпендикулярно посадочной поверхности системы) при переменном или постоянном токе питания во всем диапазоне напряжений дневного режима и во всем диапазоне рабочих температур должна соответствовать значениям, приведенным в табл. 9 [30].

 

Таблица 9


Поделиться с друзьями:

mylektsii.su - Мои Лекции - 2015-2026 год. (2.716 сек.)Все материалы представленные на сайте исключительно с целью ознакомления читателями и не преследуют коммерческих целей или нарушение авторских прав Пожаловаться на материал