Студопедия

Главная страница Случайная страница

КАТЕГОРИИ:

АвтомобилиАстрономияБиологияГеографияДом и садДругие языкиДругоеИнформатикаИсторияКультураЛитератураЛогикаМатематикаМедицинаМеталлургияМеханикаОбразованиеОхрана трудаПедагогикаПолитикаПравоПсихологияРелигияРиторикаСоциологияСпортСтроительствоТехнологияТуризмФизикаФилософияФинансыХимияЧерчениеЭкологияЭкономикаЭлектроника






Оказавшимися под напряжением






Металлические нетоковедущие части ЭУ (корпуса электрических машин и аппаратов, оболочки кабелей и др.) обычно не находятся под напряжением. Они могут оказаться под напряжением лишь в результате повреждения изоляции.

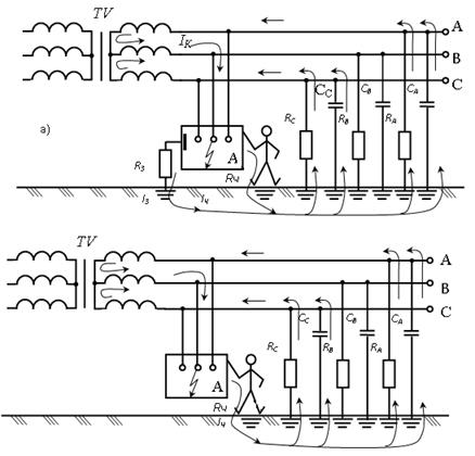
Прикосновение к заземленному корпусу, имеющему контакт с одной из фаз, показано на рис. 27, а. Ток замыкания на корпус разделится пропорционально сопротивлениям и на и .

Если человек касается незаземленного корпуса, оказавшегося под напряжением, то, как видно из рис. 27, б, через человека проходит весь ток замыкания на корпус .

 

Рис. 27. Прикосновение к корпусу, оказавшемуся под напряжением:

а - при исправном заземлении; б - при отсутствии заземления

 

Таким образом, этот случай равноценен однополюсному прикосновению к токоведущим частям.

Напряжение прикосновения. Во всех случаях контакта человека с частями ЭУ, в нормальном режиме или случайно находящимися под напряжением, это напряжение прикладывается по всей электрической цепи, куда входят сопротивления тела человека, обуви, пола или грунта, на котором он стоит.

Напряжение между двумя точками цепи тока, которых одновременно касается человек, называется напряжением прикосновения:

.

Напряжение прикосновения определяется как падение напряжения в сопротивлении тела человека.

В случае двухфазного прикосновения к токоведущим частям напряжение прикосновения равно рабочему напряжению ЭУ (линейному напряжению или близкому к нему). При однофазном прикосновении к токоведущим частям напряжение прикосновения определяется фазным напряжением относительно земли и параметрами сети.

При прикосновении к заземленным нетоковедущим частям ЭУ напряжение прикосновения зависит от напряжения корпуса относительно земли.

Напряжение шага. Если человек находится на грунте вблизи заземлителя (или вблизи места замыкания токоведущей части на землю), с которого стекает ток, то часть этого тока может ответвляться и проходить через ноги человека по нижней петле (нога - нога) (рис. 28).

 

Рис. 28. Включение на напряжение шага

 

Ток, проходящий через человека, как и в предыдущем случае, зависит от тока замыкания на землю: .

Напряжение между двумя точками цепи тока, находящимися на расстоянии шага, на которых одновременно стоит человек, называется шаговым напряжением или напряжением шага.

Включение человека в цепь тока между фазным проводом и землей или прикосновение к корпусу электроустановки, оказавшемуся под напряжением, является несколько менее опасным. Опасность поражения определяется величинами напряжения сети и последовательно включенных сопротивлений тела человека, обуви, пола, изоляции токоведущих частей относительно земли.

Средние значения сопротивлений различных материалов указаны в табл. 7 и 8.

 


Таблица 7

Электрические сопротивления различных материалов в зависимости

от приложенного напряжения (Мом)

 

Материал подошвы До 65 В 127 В 220 В Свыше 220 В
Сухие помещения
Кожа        
Кожимит        
Резина        
Сырые и влажные помещения
Кожа 1, 6 0, 8 0, 5 0, 2
Кожимит 2, 0 1, 0 0, 7 0, 5
Резина 2, 0 1, 8 1, 5 1, 0

 

Таблица 8

Электрическое сопротивление пола из разных материалов в зависимости от состояния

 

Материал пола Сухой Влажный Мокрый
Асфальт     0, 8
Бетон   0, 9 0, 1
Дерево   3, 0 0, 3
Земля   0, 8 0, 3
Кирпич   1, 5 0, 8
Линолеум     4, 0
Метлахская плитка   2, 0 0, 3
Металл 0, 01    

 

 


Поделиться с друзьями:

mylektsii.su - Мои Лекции - 2015-2026 год. (1.962 сек.)Все материалы представленные на сайте исключительно с целью ознакомления читателями и не преследуют коммерческих целей или нарушение авторских прав Пожаловаться на материал