Студопедия

Главная страница Случайная страница

КАТЕГОРИИ:

АвтомобилиАстрономияБиологияГеографияДом и садДругие языкиДругоеИнформатикаИсторияКультураЛитератураЛогикаМатематикаМедицинаМеталлургияМеханикаОбразованиеОхрана трудаПедагогикаПолитикаПравоПсихологияРелигияРиторикаСоциологияСпортСтроительствоТехнологияТуризмФизикаФилософияФинансыХимияЧерчениеЭкологияЭкономикаЭлектроника






Повышенный шум при работе насоса






Доведите уровень масла в бачке насоса до нормального Промойте или замените фильтр Удалите воздух

Недостаточный уровень масла в бачке насоса Засорение или поврежде­ние фильтра насоса Наличие воздуха в гидро­системе (пена в бачке, мут­ное масло)

Устраните погнутость или замените прокладку Выбрасывание масла через предохранительный клапан крышки бачка насоса
Чрезмерно высокий уро­вень масла в бачке насоса

Доведите уровень масла до нормального

Погнут коллектор или раз­рушена его прокладка


Раздел IV. Системы управления автомобилем 187


Причина неисправности


Метод устранения


Таблица 44 Режим приработки насоса гидроусилителя руля


 


Засорение или поврежде­ние фильтра насоса Погнут коллектор или раз­рушена его прокладка

Промойте или замените фильтр

Устраните погнутость или замените прокладку, уда­лите воздух из системы Постоянное падение уровня масла в бачке насоса

Снимите насос с двига­теля и замените манжету

Утечка масла в двигатель вследствие повреждения манжеты валика насоса

Поломка передней крышки рулевого механизма (в хо­лодное время года)

Замените крышку. Залейте масло, соответствующее карте смазывания Замените крышку. За­мените масло на соответ­ствующее сезону Замените крышку, заме­ните имеющееся в системе масло на масло, про­веренное на отсутствие воды, удалите воздух из системы. Сорт масла дол- жен соответствовать сезону!

В гидросистему рулевого
управления залито масло,
не рекомендованное кар­
той смазывания
Не проведена замена мас­
ла-заменителя при сезон­
ном обслуживании
В масле имелась (или по­
пала при эксплуатации)
вода, и во время длитель­
ной стоянки на морозе с
выключенным двигателем
образовались ледяные
пробки________________

— проверьте легкость и плавность перемещения
лопастей в пазах ротора. При обнаружении на повер­
хностях сопряженных пар грязи или других посто­
ронних частиц выньте лопасти из пазов и промойте
бензином детали;

— для замены подшипников или манжеты, если
это необходимо, установите корпус насоса в тисках
так, чтобы его вал был расположен вертикально,
шестерней вверх, расшплинтуйте и отверните гайку,
удерживая шестерню от проворачивания; снимите
шестерню вместе с шайбой и выньте шпонку из паза
вала, а также стопорное кольцо шарикоподшипника.
Применяя съемник, извлеките вал вместе с подшип­
ником и маслосгонным кольцом из корпуса насоса.

Замените изношенные детали и установите вал на место; проверьте плавность вращения вала, после этого установите стопорное кольцо.

При сборке насоса ротор с лопастями, статор и распределительный диск устанавливайте по меткам, нанесенным при разборке, и стрелке на статоре, указывающей направление вращения. При этом фаска шлицевого отверстия ротора должна быть обращена к корпусу насоса.

При установке крышки с перепускным клапаном шестигранник седла предохранительного клапана должен быть направлен внутрь отверстия.

Момент затяжки седла предохранительного кла­пана ð à â å í 14, 7... 19, 6 Í.ì (1, 5... 2 ê ã ñ.ì).

При затяжке болтов крепления крышки насоса обратите внимание на правильность взаимного рас­положения привалочных фланцев под установку бачка насоса. Их взаимный перекос не допускается.

Приработайте отремонтированный насос на стен­де с использованием масла Р или Турбинное Тн-22 в режиме, указанном в табл. 44.

При этом температура масла должна быть 45... 50°С. Допускается кратковременное повышение тем­пературы в конце приработки до 55°С.


 

Время, мин Давление масла, кПа (кгс/см2) Частота вращения вала насоса, мин" 1
2 3 5 3 147, 1 (1, 5) 490 (5) 980, 7 (10) 1961, 4 (20) 2942, 1 (30) 845 845 1270 1680 2600

После приработки насоса проверьте:

— подача при частоте вращения вала насоса 600
мин" 1 и 2000 мин" 1 и давлении 5394 кПа (55 кгс/см2)
должна быть соответственно не менее 9 1/мин и 13...
17 1/мин (время проверки не более 30 с);

— давление в нагнетательных полостях насоса при
частоте вращения 600 мин" 1 и перекрытом выходном
отверстии должно быть 8334... 8826 кПа (85... 90 кгс/
см2) (время проверки не более 15 с);

— наличие вибрации, резкого шума, пены в бачке
не допускается;

— подтекание масла через места соединении и
манжету вала насоса не допускается.

После испытания слейте масло и промойте фильтр насоса.

Безотказная работа рулевого управления опре­деляется как исправностью входящих в него эле­ментов, так и правильной работой других сборочных единиц автомобиля, поэтому при определении при­чин неисправности в системе рулевого управления следует иметь в виду, что причинами ухудшения устойчивости движения автомобиля (автомобиль плохо «держит дорогу») могут быть:

— неправильная балансировка колес;

— недостаточное или различное давление в шинах;

— люфт в подшипниках ступиц и неправильная
затяжка гаек крепления колес к ступицам;

— неисправности амортизаторов;

— неправильная установка управляемых колес
(углы установки и схождение не соответствуют ре­
комендованным).

Причинами ухудшения самовозврата управляе­мых колес в нейтральное положение (водитель вы­нужден все время принудительно возвращать их в среднее положение) могут быть:

— недостаток смазки и большое трение в шар­
нирах поворотных кулаков;

— недостаточное давление в шинах.
Причинами увеличения усилия на рулевом колесе

могут быть:

— недостаточное давление в шинах;

— недостаток смазки в шкворневых узлах по­
воротных кулаков (особенно в упорных подшипни­
ках), в ступицах колес и в шарнирах рулевых тяг;

— перетяжка подшипников ступиц передних колес;

— перетяжка подшипников рулевой колонки.
При обнаружении какого-либо дефекта в системе

рулевого управления не торопитесь разбирать ее механизм. Постарайтесь сначала установить воз­можную причину неисправности или отказа. Пом­ните, что не вызванная необходимостью разборка рулевого механизма или насоса может привести к появлению течи и к более серьезным неполадкам. Разборка и сборка рулевого механизма и насоса должны производиться только квалифицированным механиком в условиях полной чистоты.



Автомобили КамАЗ


 


ТОРМОЗНАЯ СИСТЕМА.

Автомобили и автопоезда КамАЗ оборудованы четырьмя автономными тормозными системами: рабочей, запасной, стояночной и вспомогательной. Хотя эти системы имеют общие элементы, работают они независимо и обеспечивают высокую эф­фективность торможения в любых условиях экс­плуатации. Кроме того, автомобиль оснащен при­водом аварийного растормаживания, обеспечиваю­щим возможность возобновления движения авто­мобиля (автопоезда) при автоматическом его тормо­жении из-за утечки сжатого воздуха, аварийной сигнализацией и контрольными приборами, позво- ляющими следить за работой пневмопривода.

Тормозная система модернизированных автомо­билей КАМАЗ в отличие от серийных автомобилей содержит:

—одноцилиндровый компрессор производитель­
ностью 380 л/мин при противодавлении 0, 7 МПа (7
кгс/см2) и оборотах двигателя 2200 об/мин;

—управление рабочими тормозами осуществля­
ется двухсекционным тормозным краном с подвес­
ной педалью, установленной на передней панели
кабины;

— вместо блока защитных клапанов применен
четырехконтурный защитный клапан;

—для охлаждения сжатого воздуха устанавливает­
ся охладитель;

—ускорительный клапан в магистрали контура II
тормозной системы для уменьшения времени сраба­
тывания тормозов задней тележки;

 

— пропорциональный клапан (только для КА-
Ì À Ç -65115);

— вместо соединительных головок типа «Палм»
устанавливаются автоматические головки._______

Система тормозная рабочая предназначена для уменьшения скорости движения автомобиля или полной его остановки. Тормозные механизмы рабо­чей тормозной системы установлены на всех шести колесах автомобиля. Привод рабочей тормозной системы — пневматический двухконтурный, он при­водит в действие раздельно тормозные механизмы передней оси и задней тележки автомобиля. Управ­ляется привод ножной педалью, механически свя­занной с тормозным краном. Исполнительными органами привода рабочей тормозной системы яв­ляются тормозные камеры.

Система тормозная запасная предназначена для плавного снижения скорости или остановки движу­щегося автомобиля в случае полного или частичного выхода из строя рабочей системы.

Система тормозная стояночная обеспечивает тор­можение неподвижного автомобиля на горизон­тальном участке, а также на уклоне и при отсутствии водителя. Стояночная тормозная система на автомо­билях КамАЗ выполнена как единое целое с запас­ной и для ее включения рукоятку ручного крана следует установить в крайнее (верхнее) фиксирован­ное положение.

Таким образом, в автомобилях КамАЗ тормозные механизмы задней тележки являются общими для рабочей, запасной и стояночной тормозных систем, а две последние имеют, кроме того, и общий пнев­матический привод.

Система тормозная вспомогательная автомобиля служит для уменьшения нагруженности и тем­пературы тормозных механизмов рабочей тормоз­ной системы. Вспомогательной тормозной системой на автомобилях КамАЗ является моторный тормоз-


замедлитель, при включении которого перекры­ваются выпускные трубопроводы двигателя и от­ключается подача топлива.

Система растормаживания аварийная предназ­начена для оттормаживания пружинных энергоак­кумуляторов при их автоматическом срабатывании и остановке автомобиля вследствие утечки сжатого воздуха в приводе. Привод системы аварийного растормаживания сдублирован: кроме пневма­тического привода имеются винты аварийного от­тормаживания в каждом из четырех пружинных энергоаккумуляторов, что позволяет растормозить последние механическим путем.

Система аварийной сигнализации и контроля состо­ит из двух частей:

1. Световой и акустической сигнализации о ра­
боте тормозных систем и их приводов. В различных
точках пневматического привода встроены пневмо-
электрические датчики, которые при действии лю­
бой тормозной системы, кроме вспомогательной,
замыкают цепи электрических ламп «стоп-сигнала».
Датчики падения давления установлены в ресиверах
привода и при недостаточном давлении в последних
замыкают цепи сигнальных электрических ламп,
расположенных на панели приборов автомобиля, а
также цепь звукового сигнала (зуммера).

2. Клапанов контрольных выводов, с помощью
которых производится диагностика технического
состояния пневматического тормозного привода, а
также (при необходимости) отбор сжатого воздуха.
На автомобилях-тягачах КамАЗ установлен также
комплекс пневматических аппаратов для приведе­
ния в действие тормозных механизмов прицепа
(полуприцепа) с однопроводным и двухпроводным
приводом. Наличие на тягачах такого привода обес­
печивает их агрегатирование с любыми прицепами
(полуприцепами), имеющими пневматический при­
вод тормозных механизмов.

Ниже приведены основные технические данные тормозных систем (табл. 45).

; 2 j

5 6 7 8 3


Тормозные механизмы (рис. 285) установлены на всех шести колесах автомобиля, основной узел тор-

Рис. 285. Тормозной механизм: 1 - ось колодки; 2 -суппорт; 3 - щиток; 4 - гайка оси; 5 - накладка осей колодок; 6 - чека оси колодки; 7 - колодка тормозная; 8 - пружина; 9 - накладка фрикционная; 10-кронштейн разжимного кулака; 11 - ось ролика; 12 - кулак разжимной; 13 - ролик; 14 - рычаг регулировочный


 

      Раздел IV. Системы управления автомобилем  
Таблица 45
Модель автомобиля 5320 5410 53212 53213 54112 53215 54115       43114 43115 43118 44108   53228 6426 65111
Длина регулировочного рычага, мм: — передней оси              
— задней оси        
Ход штоков тормозных камер, мм: — передней оси 20-30 25-35 20-30 25-35 20-30 20-30
— задней тележки 20-30 25-35 20-30 20-30
Тип тормозных камер: — передней оси             24 30
— задней тележки 20/20 24/24
Диаметр барабана, мм  
Ширина накладок, мм  
Суммарная площадь накладок, мм2      
Длина рычага регулятора тормоз­ных сил, мм ПО   Нет регуля­тора      
Статический прогиб задней под­вески, мм          

мозного механизма смонтирован на суппорте 2, жестко связанном с фланцем моста. На эксцентрики осей 1, закрепленные в суппорте, свободно опи­раются две тормозные колодки 7 с прикрепленными к ним фрикционными накладками 9, выполненными по серповидному профилю в соответствии с характе­ром их износа. Оси колодок с эксцентричными опор­ными поверхностями позволяют при сборке тормоз­ных механизмов правильно сцентрировать колодки относительно тормозного барабана. Тормозной бара­бан крепится к ступице колеса пятью болтами.

При торможении колодки раздвигаются S-образ-ным кулаком 12 и прижимаются к внутренней по­верхности барабана. Между разжимным кулаком 12 и колодками 7 установлены ролики 13, снижающие трение и улучшающие эффективность торможения. В отторможенное состояние колодки возвращаются четырьмя оттяжными пружинами 8.

Разжимной кулак 12 вращается в кронштейне 10, прикрепленном к суппорту болтами. На этом кронш­тейне устанавливается тормозная камера. На конце вала разжимного кулака установлен регулировочный рычаг 14 червячного типа, соединенный со штоком тормозной камеры при помощи вилки и пальца. Щиток, прикрепленный болтами к суппорту, защи­щает тормозной механизм от грязи.

Регулировочный рычаг предназначен для умень­шения зазора между колодками и тормозным бара­баном, увеличивающимся вследствие износа фрик­ционных накладок. Устройство регулировочного ры­чага показано на рис. 286. Регулировочный рычаг имеет стальной корпус 6 с втулкой 7. В корпусе находится червячное зубчатое колесо 3 со шлицевы-ми отверстиями для установки на разжимной кулак и червяк 5 с запрессованной в него осью 11. Для фиксации оси червяка имеется стопорное устрой­ство, шарик 10 которого входит в лунки на оси 11 червяка под действием пружины 9, упирающейся в стопорный болт 8. Зубчатое колесо удерживается от выпадания крышками 1, прикрепленными к корпу­су 6 рычага. При повороте оси (за квадратный конец) червяк поворачивает колесо 3, а вместе с ним пово­рачивается разжимной кулак, раздвигая колодки и уменьшая зазор между колодками и тормозным барабаном. При торможении регулировочный рычаг


поворачивается штоком тормозной камеры.

Перед регулированием зазора стопорный болт 8 необходимо ослабить на один-два оборота, после регулировки болт надежно затянуть.

Привод тормозных механизмов. Принципиальные схемы привода приведены на рис. 287-292.

Источником сжатого воздуха в приводе является компрессор 9. Компрессор, регулятор давления 11, предохранитель 12 от замерзания конденсата, кон­денсационный ресивер 20 составляют питающую часть привода, из которой очищенный сжатый воз­дух под заданным давлением подается в необходи­мом количестве в остальные части пневматического тормозного привода и к другим потребителям сжа­того воздуха. Пневматический тормозной привод разбит на автономные контуры, отделенные друг от друга защитными клапанами. Каждый контур дей-

Рис. 286. Регулировочный рычаг: 1- крышка; 2 - заклепка; 3 - колесо зубчатое; 4 - заглушка; 5 - червяк; 6 - корпус; 7 - втулка; 8 - болт стопорный; 9 - пружина фиксатора; 10 - шарик фиксатора; 11 - ось червяка; 12 - масленка



Автомобили КамАЗ


 



 


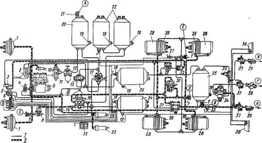
Рис. 287. Пневмопривод тормозных механизмов автомобиля мод. 5320: А - контрольный вывод контура IV; В, Е - клапаны контрольных выводов III контура; С - вывод контрольный контура I; D - вывод контрольный контура II; N - магистраль тормозная управляющая двухпроводного привода; Р - магистраль соединительная однопроводного привода; R -магистраль питающая двухпроводного привода; 1 - камеры тормозные типа 24; 2 - кран управления стояночной тормозной системой; 3 - кран аварийного растормаживания стояночной тормозной системы; 4 - кран управления вспомогательной тормозной системой; 5 - манометр двухстрелочный; 6 - лампы контрольные и звуковой сигнализатор; 7 - клапан контрольных выводов; 8 - клапан ограничения давления; 9 - компрессор; 10 - пневмоцилиндр привода рычага останова двигателя; 11 - регулятор давления; 12 - предохранитель от замерзания; 13 - клапан двойной защитный; 14 -датчик включения электромагнитного клапана тормозного механизма прицепа; 15 - батареи аккумуляторные; 16 - кран двухсекционный тормозной; 17 - клапан тройной защитный; 18 - датчик падения давления в ресивере; 19 - краны слива конденсата; 20 - ресивер конденсационный; 21 - клапан отбора воздуха; 22 - ресиверы контура II; 23 - пневмоцилиндр привода заслонки вспомогательной тормозной системы; 24, 25 - ресиверы I и III контуров; 26 - камеры тормозные типа 20x20; 27 - датчик включения контрольной лампы стояночной тормозной системы; 28 - энергоаккумуляторы; 29 - клапан ускорительный; 30 - регулятор автоматический тормозных сил; 31 - клапан управления тормозными механизмами прицепа с двухпроводным приводом; 32 - клапан двухмагистральный; 33 - датчик включения сигнала торможения; 34 - клапан управления тормозными механизмами прицепа с однопроводным приводом; 35 - клапан одинарный защитный; 36 - фонари задние; 37 - краны разобщительные; 38, 39 - соединительные головки типа А и типа " Палм"



/

Рис. 288. Схема пневматического привода тормозных механизмов автомобилей Ê à ì À Ç -53229, -65115, -54115, -43253: 1 - â î ä î î ò ä å ë è ò å ë ü; 2 -компрессор; 3 - охладитель; 4 -четырехконтурный защитный клапан; 5

- автоматической регулятор тормозных
сил; 6 - регулятор давления; 7 -
выключатель сигнала торможения; 8 -
тормозной кран; 9 - пневмоцилиндры
привода заслонки механизма
вспомогательной тормозной системы;
10 - кран управления стояночной
тормозной системой; 11
пропорциональный клапан; 12 -
пневмоцилиндр привода рычага
останова двигателя; 13 - кран
управления вспомогательной
тормозной системой; 14 - манометр; 15

- тормозные камеры типа 30/30; 16 -
ресивер контура 1Y; 17 - ресиверы
контура 11; 18 - кран слива конденсата;
19 - тормозные камеры типа 20/20;
20, 24 - ускорительные клапаны; 21-
двухмагистральный перепускной
клапан; 26 выключатель контрольной
лампы стояночной тормозной системы;
23 - ресивер контура III; 25 - ресивер
контура I; 26 - выключатель
контрольной лампы падения давления
воздуха в контуре III; 27 - кран
экстренного растормаживания


Раздел IV. Системы управления автомобилем



Рис. 290. Схема пневматического привода тормозных механизмов автомобилей КамАЗ-43118, -65111

Рис. 289. Схема пневматического привода тормозных механизмов автомобилей КамАЗ-4326: 1 - тормозные камеры типа 24; 2 (А, В, С) - контрольные выводы; 3 - пневмоэлектрический выключатель элетромагнитного клапана прицепа; 4 - кран управления вспомогательной тормозной системой; 5 - двухстрелочный манометр; 6 - компрессор; 7 -пневмоцилиндр привода рычага останова двигателя; 8 - водоотделитель; 9 - регулятор давления; 11 - двухмагистральный перепускной клапан; 12-4-х контурный защитный клапан; 13 - кран управления стояночной тормозной системой; 14 - теплообменник; 15 - двухсекционный тормозной кран; 17 - пневмоцилиндры привода заслонок механизма вспомогательной тормозной системы; 18 - ресивер контура I; 19 - ресивер потребителей; 20 - выключатель сигнализатора падения давления; 21 - ресивер контура III; 22 - ресиверы контура II; 23 - кран слива конденсата; 24 - тормозные камеры типа 20/20 с пружинными энергоаккумуляторами; 25, 28 - ускорительные клапаны; 26 - клапан управления тормозными системами прицепа с двухпроводным приводом; 27 - выключатель сигнализатора стояночной тормозной системы; 29 - клапан управления тормозными системами прицепа с однопроводным приводом; 30 -автоматические соединительные головки; 31 - соединительная головка типа A; R - к питающей магистрали двухпроводного привода; Р - к соединительной магистрали однопроводного привода; N - к управляющей магистрали двухпроводного привода; 31- датчик падения давления в ресиверах I контура; 32- датчик падения давления в ресиверах II контура; 33-датчик стоп- сигнала; 34-кран экстренного растормаживания



Автомобили КамАЗ


Рис. 292. Схема пневматического привода тормозных механизмов автомобилей КамАЗ-53228

Рис. 291. Схема пневматического привода тормозных механизмов автомобилей КамАЗ-43101, 43114: 1 - тормозные камеры типа 24; 2 (А, В, С) - контрольные выводы; 3 - пневмоэлектрическии выключатель элетромагнитного клапана прицепа; 4 - кран управления вспомогательной тормозной системой; 5 - двухстрелочный манометр; 6 - компрессор; 7 - пневмоцилиндр привода рычага останова двигателя; 8 - водоотделитель; 9 - регулятор давления; 11 -двухмагистральный перепускной клапан; 12—4-х контурный защитный клапан; 13 - кран управления стояночной тормозной системой; 14 - теплообменник; 15 - двухсекционный тормозной кран; 17 - пневмоцилиндры привода заслонок механизма вспомогательной тормозной системы; 18 - ресивер контура I; 19 - ресивер потребителей; 20 -выключатель сигнализатора падения давления; 21 - ресивер контура III; 22 - ресиверы контура II; 23 - кран слива конденсата; 24 - тормозные камеры типа 20/20 с пружинными энергоаккумуляторами; 25, 28 - ускорительные клапаны; 26 - клапан управления тормозными системами прицепа с двухпроводным приводом; 27 - выключатель сигнализатора стояночной тормозной системы; 29 - клапан управления тормозными системами прицепа с однопроводным приводом; 30 - автоматические соединительные головки; 31 - соединительная головка типа A; R -к питающей магистрали двухпроводного привода; Р - к соединительной магистрали однопроводного привода; N -к управляющей магистрали двухпроводного привода; 31- датчик падения давления в ресиверах I контура; 32- датчик падения давления в ресиверах II контура; 33-датчик стоп- сигнала; 34-кран экстренного растормаживания



Поделиться с друзьями:

mylektsii.su - Мои Лекции - 2015-2026 год. (1.289 сек.)Все материалы представленные на сайте исключительно с целью ознакомления читателями и не преследуют коммерческих целей или нарушение авторских прав Пожаловаться на материал