Студопедия

Главная страница Случайная страница

КАТЕГОРИИ:

АвтомобилиАстрономияБиологияГеографияДом и садДругие языкиДругоеИнформатикаИсторияКультураЛитератураЛогикаМатематикаМедицинаМеталлургияМеханикаОбразованиеОхрана трудаПедагогикаПолитикаПравоПсихологияРелигияРиторикаСоциологияСпортСтроительствоТехнологияТуризмФизикаФилософияФинансыХимияЧерчениеЭкологияЭкономикаЭлектроника






Сигналы после непродолжительной эксплуатации перестают работать






Очистите рупоры

Попадание в рупоры воды и грязи

Ремонт

Техническое состояние электрических сигналов оценивается по качеству и громкости звучания сиг­налов, качество звучания определяется на слух. Звук сигналов должен быть чистым, без дребезжаний и хрипов. Чистоту и громкость звучания при необхо­димости отрегулируйте.

Регулирование электрических сигналов проводите в такой последовательности:

—выверните винт 6 и снимите крышку 3 (рис. 353);

—проверьте магнитный зазор А между якорем 10
и сердечником 8. Зазор не должен выходить за
пределы величины, установленной при регулировке.


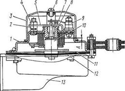
Рис. 353. Звуковой электрический сигнал: 1 - основание;

2, 4 - гайки регулировочные; 3 - крышка; 5 - пластина нижнего контакта; 6 - винт; 7 - пружина верхнего контакта; 8 - сердечник; 9 - стойка; 10 - якорь; 11 -прокладка; 12 - мембрана; 13 - резонатор

Для сигнала С306-Г зазор должен быть 1, 15... 1, 25 мм, а. для сигнала С307-Г — 0, 85... 0, 95 мм. С изменением величины зазора меняется тональность звука;

— проверьте состояние и положение контактов 5
и 7 прерывателя. Несовпадение осей контактов не
должно выходить за пределы 0, 2 мм;

— подключите поочередно сигналы к аккумуля­
торной батарее и отрегулируйте их по тону и по силе
звучания.

Тон звука регулируйте при помощи гаек 2 и 4. При слишком низком или слишком высоком тоне ос­лабьте верхнюю гайку 4, а нижнюю гайку 2 вращайте в ту или иную сторону до получения необходимого тона звучания сигнала. После регулировки гайку 4 затяните и проверьте звучание сигнала.

Если этой регулировкой тон звука отрегулировать не удается, отрегулируйте зазор между якорем 10 и сердечником 8.

Зазор регулируйте с помощью прокладок 11 тол­щиной 0, 5 мм, устанавливаемых между резонаторами 13 и мембраной 12, а также между основанием 1 и мембраной. При уменьшении зазора тон звука повы­шается, при увеличении — понижается.

Силу звука регулируйте изменением силы сжатия контактов прерывателя, что приводит к изменению величины тока в цепи сигнала. Регулировку произ­водите также гайками 2 и 4.

Сигналы прослушивайте с закрытыми крышками, подвешивая их за кронштейн на подставке, сво­бодной от дребезжания. Сигналы должны нормаль­но звучать при напряжении не ниже 22 В. Сила тока, потребляемого комплектом сигналов, не должна превышать 5 А при напряжении 24 В.


Поделиться с друзьями:

mylektsii.su - Мои Лекции - 2015-2026 год. (0.927 сек.)Все материалы представленные на сайте исключительно с целью ознакомления читателями и не преследуют коммерческих целей или нарушение авторских прав Пожаловаться на материал