Студопедия

Главная страница Случайная страница

КАТЕГОРИИ:

АвтомобилиАстрономияБиологияГеографияДом и садДругие языкиДругоеИнформатикаИсторияКультураЛитератураЛогикаМатематикаМедицинаМеталлургияМеханикаОбразованиеОхрана трудаПедагогикаПолитикаПравоПсихологияРелигияРиторикаСоциологияСпортСтроительствоТехнологияТуризмФизикаФилософияФинансыХимияЧерчениеЭкологияЭкономикаЭлектроника






Примеры построения аксонометрии






 

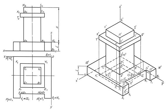
Пример 1 Построить прямоугольную изометрическую проекцию сооружения (рис.30).

 

На комплексном чертеже фиксируем положение пространственной системы координат.

Построение аксонометрии начато с нанесения горизонтальной аксонометрической проекции плана сооружения, называемой вторичной проекцией. Вторичную аксонометрическую проекцию строят по горизонтальной проекции ортогонального чертежа (плана здания или сооружения). Она облегчает построение аксонометрического изображения предмета и используется при построении падающих теней в аксонометрии.

Так как коэффициенты искажения по аксонометрическим осям равны единице, то в аксонометрии все размеры соответствуют размерам на ортогональном чертеже.

Рис. 30

 

Пример 2 Построить прямоугольную изометрическую проекцию лестницы (рис. 31).

 

Выбираем и фиксируем на комплексном чертеже пространственную и задаем аксонометрическую систему координат.

После того, как построена вторичная проекция лестницы из точки 3'1 проведена вертикаль, на которой отложен отрезок 3'1С', равный величине Н ортогонального чертежа. Отрезок 3'1С' разделен на три части, что соответствует количеству ступеней на ортогональном чертеже. Из точек 4' и 5', параллельно оси У', проведены горизонтальные прямые до пересечения в точках В', Е', А' с вертикальными прямыми, проведенными из точек 2'1 и 1'1. Соединив точки С', 5', В', Е', А' и 1', получим контур ступеней, по которому построена аксонометрическая проекция лестницы.

Рис. 31

 

Пример 3 Построить прямоугольную диметрическую проекцию ниши (рис. 32).

 

На комплексном чертеже фиксируем пространственную и строим аксонометрическую систему координат.

Для построения аксонометрической проекции цилиндрической части ниши был использован параллелепипед, описанный вокруг этой части ниши.

На ортогональном чертеже вокруг цилиндрической части ниши описан прямоугольник 12, 52, Е2, 62, 22, проведены диагонали 52 - 22 и 12 - 62 и определены точки С2 и D2, принадлежащие цилиндрической части.

На аксонометрическом чертеже также проведены диагонали параллелепипеда и при помощи вертикальных линий, проведенных из вторичных проекций точек С'1 и D'1, определены их аксонометрические проекции С1 и D1. Соединив точки 1', С', Е', D' и 2', получим аксонометрическую проекцию цилиндрической части ниши. Эллиптическая кривая 4', F', 3' построена таким же способом.

 

Рис. 32

Вопросы для самопроверки

 

1. Какую проекцию называют аксонометрической?

2. Назовите виды аксонометрических проекций?

3. Что понимают под коэффициентом искажения по координатным осям?

4. Назовите стандартные аксонометрические проекции.

5. Укажите натуральные и приведенные коэффициенты искажения вдоль координатных осей для прямоугольных изометрической и диметрической проекций.

6. Укажите величины углов между аксонометрическими координатными осями и порядок их построения для стандартных прямоугольных аксонометрических проекций.

7. Укажите для стандартных прямоугольных аксонометрических проекций величины и ориентацию осей эллипсов, в которые проецируются окружности, параллельные основным плоскостям проекций.

8. Основное положение теоремы Польке–Шварца.

9. Сформулируйте общий порядок построения аксонометрической проекции.

10. Чем заменяется эллипс в аксонометрии?

11. На какие виды делятся аксонометрические проекции в зависимости от направления S проецирования?

12. На какие виды делится прямоугольная аксонометрическая проекция и чем один вид отличается от другого?

13. На какие виды делится косоугольная аксонометрическая проекция?

14. Что называется «вторичной проекцией» в аксонометрии?

15. Как производится штриховка в аксонометрических проекциях разрезов по ГОСТ 2.317–69?

 

 


Поделиться с друзьями:

mylektsii.su - Мои Лекции - 2015-2026 год. (1.658 сек.)Все материалы представленные на сайте исключительно с целью ознакомления читателями и не преследуют коммерческих целей или нарушение авторских прав Пожаловаться на материал