Студопедия

Главная страница Случайная страница

КАТЕГОРИИ:

АвтомобилиАстрономияБиологияГеографияДом и садДругие языкиДругоеИнформатикаИсторияКультураЛитератураЛогикаМатематикаМедицинаМеталлургияМеханикаОбразованиеОхрана трудаПедагогикаПолитикаПравоПсихологияРелигияРиторикаСоциологияСпортСтроительствоТехнологияТуризмФизикаФилософияФинансыХимияЧерчениеЭкологияЭкономикаЭлектроника






Сверление на главном шпинделе.






 

Плоскость возврата, абсолютно…………  
Базовая плоскость, абсолютно…………..  
Расстояние безопасности…………………  
Конечная глубина сверления, абсолютно -20
Глубина инк…………………………………..  
Время выстоя (только CYCLE 82)……...  

 

G54

TRANS Z70

G17

T8 D1

G95 S1000 M3 F0.12

G0 X0 Z5

CYCLE81 (5, 0, -20, 0)

G0 X100 Z10

G18

M30


Сверление инструментами с механизированным приводом (осевое).

 

 

Плоскость возврата, абсолютно…………  
Базовая плоскость, абсолютно…………..  
Расстояние безопасности…………………  
Конечная глубина сверления, абсолютно -20
Глубина инк…………………………………..  
Время выстоя (только CYCLE 82)……...  

 

 

G54

TRANS Z70

G17

T7 D1

SPOS[1]=0

SETMS(2)

G95 S1000 M3 F0.12

G0 X20 Z5

CYCLE81 (5, 0, -20, 0)

G0 X100 Z20

M5

SETMS(1)

G18

M30

 

 


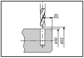
Сверление инструментами с механизированным приводом (радиальное).

 

Плоскость возврата, абсолютно…………  
Базовая плоскость, абсолютно…………..  
Расстояние безопасности…………………  
Конечная глубина сверления, абсолютно -5
Глубина инк…………………………………..  
Время выстоя (только CYCLE 82)……...  

 

 

G54

TRANS Z70

G19

T5 D1

SPOS[1]=0

SETMS(2)

G95 S1000 M3 F0.12

G0 X32 Z-20

CYCLE81 (32, 30, 2, -5, 0)

G0 X50 Z20

M5

SETMS(1)

G18

M30

 


 



Поделиться с друзьями:

mylektsii.su - Мои Лекции - 2015-2026 год. (1.144 сек.)Все материалы представленные на сайте исключительно с целью ознакомления читателями и не преследуют коммерческих целей или нарушение авторских прав Пожаловаться на материал