Студопедия

Главная страница Случайная страница

КАТЕГОРИИ:

АвтомобилиАстрономияБиологияГеографияДом и садДругие языкиДругоеИнформатикаИсторияКультураЛитератураЛогикаМатематикаМедицинаМеталлургияМеханикаОбразованиеОхрана трудаПедагогикаПолитикаПравоПсихологияРелигияРиторикаСоциологияСпортСтроительствоТехнологияТуризмФизикаФилософияФинансыХимияЧерчениеЭкологияЭкономикаЭлектроника






Довідковий матеріал






Сільськогосподарські будинки із залізобетонним стояково-балковим каркасом відзначаються невеликими прольотами (6...18 м) і застосуванням збірних конструкцій невеликої маси (0, 3...6, 4 т). Для їх зведення використовують мобільні стрілові автомобільні та пневмоколісні крани вантажопідйомністю до 16 т. Зазвичай, монтаж здійснюють окремими елементами, без укрупнення, дотримуючись диференційованого або комбінованого методу в послідовності їх установлення.

До початку монтажу на об'єкті виконують необхідні підготовчі роботи, вирівнюють майданчики для розміщення конструкцій у зоні дії монтажного крана; облаштовують під'їзди до них; розмічають розбивкові осі фундаментів на обносці; готують основу під фундамент і перевіряють його позначку; комплектують для роботи крана необхідне такелажне оснащення і монтажні пристосування.

Каркас будинку в окладі спеціалізованого потоку зводять монтажними комплектами. Розпочинають монтаж з першого комплекту (фундаментних блоків) і проводять його в межах дільниці. Попереднє розкладання фундаментних блоків повинно враховувати можливість крана встановлювати з однієї стоянки кілька елементів. Поданий до місця встановлення блок фундаменту центрують за рисками на його бічних гранях і за рисками (або кілочками) на основі (рис. 6.1). Після встановлення всіх рядів фундаментних блоків у межах дільниці точність їх розташування вивіряють за двома взаємно перпендикулярними напрямами, виконують зворотне засипання, не доводячи його до верху фундаментного блоку, і ретельно ущільнюють.

У другому комплекті встановлюють колони після інструментальної перевірки позначок дна стакана кожного фундаменту. На основі складеної виконавчої схеми визначають відхилення від будівельних норм і усувають їх. Монтують колони тим самим стріловим краном, що й фундаментні блоки. У номенклатурі конструкцій для сільськогосподарських виробничих будинків маси колон не суттєво перевищують масу фундаментних блоків. Кран переміщується всередині прольоту, при цьому габарити сільськогосподарських будинків дають змогу встановлювати з однієї стоянки крана колони в обох рядах. До початку монтажу колони розкладають у монтажній зоні крана за технологічною картою. Кожну колону після встановлення тимчасово закріплюють за допомогою кондуктора або клинів у стакані фундаменту, після чого вивіряють її виском і центрують у плані за двома взаємно пересіченими осями, сполучаючи установчі осьові риски на гранях колони з рисками на фундаменті. Після цього стики колон замонолічують, зберігаючи тимчасове кріплення, доки міцність бетону в стиках несягне 70% проектної. До початку монтажу покриття за диференційованого і комбінованого методів необхідно встановити всі колони в межах дільниці і провести інструментальну перевірку фактичних позначок оголовків колон та відстаней між осями. Якщо потрібно вирівняти позначки, то до опорних площадок приварюють металеві підкладки.

Покриття у складі ферм або балки і плит встановлюють разом в одному (третьому) монтажному комплекті. Така послідовність монтажу елементів забезпечує просторову жорсткість збірної чарунки каркаса будинку і дає змогу не застосовувати додаткового кріплення. Коли встановлюють балки покриття, то тимчасово кріплять і вивіряють їх на колонах за допомогою кондукторів. Стійкість першої ферми забезпечують застосуванням розчалок, які закріплюють за верхній пояс конструкції, а якір на рівні землі. Наступні ферми закріплюють розпірками. Після вивірення ферм (або балок) за рисками і вертикальності бічних граней виском їх остаточно закріплюють на оголовках колон зварюванням.

Після закріплення двох суміжних ферм (або балок) на них відразу укладають плити покриття. Розташовані вздовж прольоту плити покриття укладають від одного карниза до другого. При цьому на першій плиті облаштовують огородження, оскільки після її установлення монтажники працюють на покритті. Під час укладання плити її рихтують підвішеною монтажними ломиками, орієнтують за рисками й остаточно закріплюють.

Монтаж каркаса треба погоджувати з узгодженою організаційно-технологічною схемою зведення будинку, враховувати насиченість його підземним господарством. У будинках, які не мають підземного господарства, розміщення монтажних кранів і розкладання збірних елементів залежать лише від розміру прольоту. За зведення будинків із слаборозвинутим господарством підземні споруди треба долучати до спеціалізованого потоку разом із фундаментами. До зведення каркаса тваринницького приміщення облаштовують лотки гноєвиведення, підготовку під підлогу. Розміщувати кран і збірні елементи у цьому разі в прольоті будинку треба з урахуванням розташування підземного господарства.

 

Визначення монтажних характеристик збірних конструкцій

Монтажну масу елемента визначаємо за формулою:

Q m = m e + m c + m o, (6.1)

де ;

m e – маса елемента,

m c – маса стропуючих пристосувань.

 

 

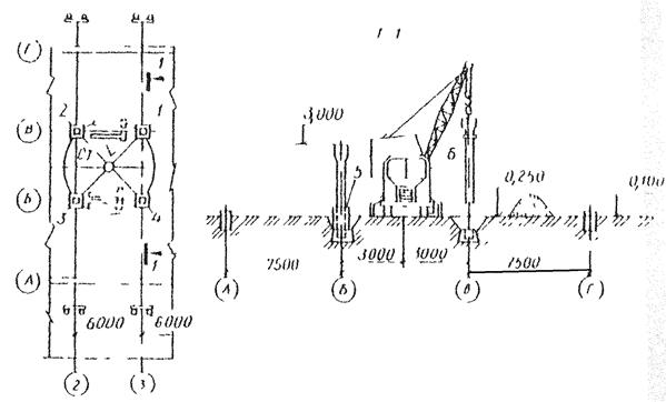
      Рис. 6.1. Схема монтажу елементів покриття: К – стріловий кран; П – розкладання плит покриття; Б – те самедля односхилих балок; Ф – те саме для ферм (для середнього прольоту); лінією з кружечками показано вісь руху крана, штриховою лінією – холостий рух; цифрами під кружечками визначено номери стоянок крана.  

 

 

Рис. 6.2. Схема монтажу колон: 1...4– послідовність установлення колон; 5 – кондуктор; 6 – стріловий кран.

Рис. 6.3. Схеми монтажу покриття сільськогосподарських будинків з різною насиченістю підземним господарством: а – з надмірно розвинутим підземнимгосподарством, б – зі слаборозвинутим підземним господарством; в – безпідземного господарства: 1 – ферми; 2 – плити покриття; 3 – вісь руху крана;

4 – підземне господарство; 5 – помости.

 

 

Рис. 6.4. Схема монтажу стінових панелей повнозбірного будинку

1 – помости; 2 – стінова панель; 3 – розміщення стінових панелей у касетах.

 

Визначення монтажної висоти піднімання гака крана

Висоту піднімання гака крана над рівнем стоянки крана визначають за формулою:

H n = h 0 + h 3 + h e + h c, (6.2)

де h 0 – висота опори, на яку влаштовується монтуючий елемент, м;

h 3– перевищення нижньої частини монтуючих елементів над рівнем опори перед опусканням їх на проектну відмітку, м;

h e– висота елемента в монтажному положенні;

h c– розрахункова висота стропувального пристрою.

 

Визначення монтажного вильоту стріли крана

Мінімальний виліт стріли крана (монтажний) , виходячи з умов, що охоплюють можливість дотикання конструкції стріли крана до ближньої грані монтуючого елемента, за вкладання будь-якої конструкції можна визначити за формулою:

, (6.3)

де: – відстань від осі обертання крана до осі кріплення стріли крана, м;

– відстань по горизонталі від грані монтуючої конструкції до вертикальної осі вантажного гака, м;

– мінімальний зазор між конструкцією стріли і монтуючими конструкціями будівлі або монтуючими елементами – 0, 5 м;

– висота кріпленя стріли над рівнем стоянки крана, м.

Алгоритм розрахунку. Необхідно на основі завдання підібрати конструкції за довідником (табл. 6.1).

Визначити методи монтажу конструкцій (рис. 6.1 – 6.4).

Розробити відомість монтажу конструкцій (табл. 6.2).

Приступити до розрахунку основних технічних параметрів (висоти піднімання, вильоту стріли, вантажопідіймальності) (табл. 6.1 – 6.3) залежності.

Таблиця 6.1

Вибір збірних елементів

Назва Розмір, мм Маса елемента, тн Номер захватки К-ть, шт Маса елементів на будівлі Зауваження
довжина ширина висота На захватці На будівлі
                   

 

Таблиця 6.2

Відомість монтажних характеристик збірних елементів

№ з/п Монтажний елемент Маса, т Виліт стріли Висота піднімання
Конструкції Стропувального пристрою Монтажна
1.            

ЗАНЯТТЯ № 7

ТЕМА: Виконання оздоблювальних робіт. Підготовка калькуляцій.

МЕТА: Ознайомитися з різними видами оздоблювальних робіт:

1. Засвоїти основні нормативи та норми, які належить використовувати під час виконання оздоблювальних робіт;

2. Навчитися визначати та розраховувати обсяги оздоблювальних робіт, підготовляти калькуляції;

3. Уміти застосовувати елементарні, диференційовані і комплексні норми під час виконання оздоблювальних робіт (табл. 7.1 – 7.2).

 

Варіанти завдань подає викладач індивідуально (відповідно до попередніх занять або проектних розробок)).

 

Приклад розрахунку

Таблиця 7.1

Калькуляція трудових витрат на 100 м² облицювання усередині будівель і споруд

 

№ з/п Підстава   Технологічний процес Од. вим Обсяг робіт Норма часу на од. вим., люд. –год. Витрати часу на обсяг робіт, люд. -год.
  ЕНиР Е8-1-1 Очищення основ від напливів бетону або розчину (вручну) М2   1, 24  
  ЕРКУЕР 21-124 Очищення основ від пилу М2   0, 12  
  ЕНиР Е 8-1-1 Оґрунтовка поверхні основи М2   0, 015 1, 5
  ЕНиР Е 11-49 Приготування розчинової суміші М2 1, 0 1, 58 1, 58
  Примін. ЕРКУЕР 11-37 Нанесення суміші на поверхню, що облицьову-ється М2   0, 32  
  ЕНіР Е8-1-35 Наклеювання облицюваль-ної плитки (100 · 100 мм) на поверхню основи (за товщини шва 3 мм) М2   1, 6  
  ЕніР Е 11-49 Облаштування деформаційних швів м.п.   0, 19 1, 9
                 

 

Таблиця 7.2

Калькуляція трудових затрат на облаштування 100 м2 облицювання ззовні будівлі

№ з/п   Підстава   Технологічний процес Од. вим. Обсяг робіт Норма часу на од. вим., люд.-год. Затрати часу на весь обсяг робіт, люд.-год.
  ЕНиР Е 8-1-1 Очищення стін від напливів бетону чи розчину М2   1, 24  
  ЕНиР Е 8-1-1 Ґрунтування поверхні М2   0, 015 1, 5
  ЕНиР Е 11-49 Подача керамічної фасад-ної плитки від місця скла-дування до місця піднімання т   1, 2 4, 8
  ЕНиР Е 11-76 Піднімання керамічної фасадної плитки на висоту до 10 м (на кожні наступні 5 м піднімання слід додавати 0, 12 люд.-год. мз   2, 22 22, 2
  ЕНиР Е 1-1-49 Приготування розчинної суміші мз 1, 0 1, 58 1, 58
  ЕНиР Е 1-19 Подача розчинної суміші в тарі від місця готування до місця піднімання т 1, 4 1, 2 1, 68
  ЕНиР Е 1 1 -76 Піднімання розчинової сумі-ші втарі на висоту до 10 м (за піднімання на висоту понад 10 м на кожні 5 м додається 0, 27 люд.-год. М3 1, 0 5, 4 5, 4
  Примін. ЕРКУЕР 11-37 Нанесення клеєвої розчи-нової суміші на поверхню фасадної плитки М2   0, 32  
  Примін. ЕНиР Е 8-1-40 Наклеювання керамічної фасадної плитки (розмір 120∙ 65·8) на поверхню зовнішніх стін М2   2, 2  
  Примін. ЕниР Е 8-2-21 Облаштування деформаційних швів у шарі облицювання м.п   0, 19 1, 9
Разом     427, 1
                 

Примітка. Норми на ведення робіт із застосуванням сухих будівельних сумішей у калькуляції трудозатрат прийнято згідно з нормами на виконання робіт із застосуванням традиційних сполук.

ЗАНЯТТЯ № 8

ТЕМА: Розрахунок і виконання календарного планування. Підготовка календарного графіка будівельних процесів

МЕТА: Набути навичок підрахунку обсягів робіт, складання калькуляцій трудових затрат, календарного планування простих будівельних процесів (руху машин і механізмів).

 

Варіанти завдань подає викладач індивідуально (відповідно до заняття 4).

 


Поделиться с друзьями:

mylektsii.su - Мои Лекции - 2015-2026 год. (1.014 сек.)Все материалы представленные на сайте исключительно с целью ознакомления читателями и не преследуют коммерческих целей или нарушение авторских прав Пожаловаться на материал