Студопедия

Главная страница Случайная страница

КАТЕГОРИИ:

АвтомобилиАстрономияБиологияГеографияДом и садДругие языкиДругоеИнформатикаИсторияКультураЛитератураЛогикаМатематикаМедицинаМеталлургияМеханикаОбразованиеОхрана трудаПедагогикаПолитикаПравоПсихологияРелигияРиторикаСоциологияСпортСтроительствоТехнологияТуризмФизикаФилософияФинансыХимияЧерчениеЭкологияЭкономикаЭлектроника






Устройство холодильника






 

Схема компрессорного холодильного агрегата представлена на рис. 1.1.

Холодильная камера бытового холодильника охлаждается вследствие изменения агрегатного состояния хладагента в системе герметичного холодильного агрегата, принцип действия которого заключается в следующем. Пары фреона R-134a отсасываются из испарителя (5) компрессором (1) и проходят внутри кожуха, охлаждая обмотку электродвигателя. Сжатые в компрессоре пары хладагента по нагнетательной трубке (2) поступают в охлаждаемый окружающим воздухом конденсатор (4). Давление паров фреона в конденсаторе равно 0, 6¸ 1, 05МПа. В конденсаторе пары фреона переходят в жидкое состояние, отдавая тепло окружающей среде. Жидкий фреон из конденсатора поступает через фильтр (3) в капиллярную трубку (7), где происходит его дросселирование, а затем в испаритель. Капиллярная трубка создает необходимый для работы перепад давления между конденсатором и испарителем. Давление хладагента в испарителе понижается до 0, 098 МПа. Жидкий фреон при низком давлении кипит, отнимая тепло от стенок испарителя и воздуха холодильной камеры. Из испарителя пары хладагента по всасывающей трубке (8) снова поступают в кожух компрессора, и цикл повторяется. Холодные пары хладагента, проходя из испарителя в компрессор по всасывающей трубке, охлаждают жидкий фреон, который поступает по капиллярной трубке из конденсатора в испаритель. Теплообменником (6) служит участок всасывающей и капиллярной трубок, спаянных между собой. В ряде моделей холодильников капиллярная трубка пропущена внутри всасывающей трубки.

Компрессор приводится в движение встроенным однофазным электродвигателем переменного тока, имеющим рабочую и пусковую обмотки. Для запуска электродвигателя и защиты его от токовых перегрузок применяются пускозащитные реле. Заданная температура в холодильной камере поддерживается автоматически датчиком-реле температуры (терморегулятором). Электрическая лампа накаливания для освещения камеры шкафа включена в сеть параллельно цепи двигателя и последовательно с дверным выключателем. При открывании двери холодильника контакты выключателя замыкаются, и лампа включается.

Рис. 1.1. Схема компрессорного холодильного агрегата.

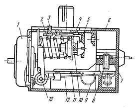
В лаборатории «Кондиционирование воздуха в вагонах» установлен действующий холодильник «Кодры» КШ-160 (рис. 1.2). Этот холодильник выполнен в виде напольного шкафа, верхняя крышка 12 которого используется в качестве сервировочной плоскости. Позиции на рис.2а обозначают: 1- мотор-компрессор; 2- фильтр-осушитель; 3, 10- упоры; 4- конденсатор; 5- теплоизоляция; 6- перегородка; 7- винт; 8- форма дли льда; 9- гайка; 11- низкотемпературное отделение; 12- крышка; 13- рамка; 14- верхняя петля; 15- дверка низкотемпературного отделения; 16- маска; 17- накладка; 18-дверь; 19- датчик реле температуры; 20- плафон; 21- полка; 22- полка-стекло; 23- сосуд; 24- шайба нижней петли; 25- нижняя петля; 26- опора.

Шкаф холодильника при открывании двери (18) освещается лампой. Температурный режим поддерживается терморегулятором (19) следующим образом. При температуре испарителя -12°С датчик 19 выключает электродвигатель компрессора (1), при повышении температуры до –10°С включает электродвигатель. За счет конвекции охлажденного воздуха он опускается ниже отделения (11), а более теплый воздух поднимается вверх. Так происходит циркуляция воздуха в холодильной камере, расположенной ниже отделения (11), за счет чего в ней поддерживается средняя температура +5°С ±3°С. В отделении (11) продукты хранятся в замороженном виде (мясо, рыба, масло и т.д.), а в холодильном отделении находятся продукты при температуре выше 0°С (плоды, овощи, молоко, соки и т.д.).

Шкаф холодильника металлический, каркасно-щитовой конструкции, снаружи покрыт белой эмалью, изнутри шкаф из ударопрочного полистирола. Теплоизоляция (5) шкафа и двери из пенополистирола. Уплотнительный профиль двери с магнитной вставкой.

Холодильный агрегат снабжен компрессором (1) со встроенным электродвигателем. Компрессор имеет наружную и внутреннюю подвеску. На статоре электродвигателя типа ДХМ-5 с расщепленной фазой имеются рабочая и пусковая обмотки, последняя выключается пусковым реле после начала вращения ротора компрессора. Капиллярная трубка агрегата имеет поперечные размеры 2, 1´ 0, 8мм, длину 3500мм, проходимость 2л/мин.

Испаритель алюминиевый, прокатно-сварного типа, прямоугольной формы. Конденсатор (4) проволочно-сварной конструкции. Трубка из стали имеет поперечные размеры 6´ 0, 7мм и длину 7950мм.

Электрическая схема холодильника показана на рис. 1.2б. Позиции на схеме обозначают: S1-датчик реле температуры Т-110-1, S2-дверной выключатель ДХК-УЗ; Н-лампаРН-220-15-1; К- пускозащитное реле РТК-3-4; М- мотор-компрессор типа ФГ-0, 125.

 

Рис. 1.2. Холодильник «Кодры».

 

Рис. 1.3.Датчик реле температуры Т-110.

 

Датчик реле Т-110-1 изображен на рис. 1.3, где цифрами обозначены: 1-термосистема; 2-пружина; 3-ползун; 4-гайка; 5, 8-регулировочные винты; 6-корпус; 7-колодка; 9-перекидная пружина; 10-контровочная пружина; 11, 12-рычаги; 13-ось.

Терморегулятор Т-110 смонтирован в пластмассовом корпусе (6) и состоит из следующих основных частей: термочувствительной системы, узла настройки температуры замыкания контактов, механизма переключения контактов и колодки с контактной группой, выводными клеммами и винтом настройки дифференциала.

Дифференциалом в терморегуляторе называется разность между температурой замыкания и размыкания контактов (при определенном натяжении основной пружины). Чем меньше дифференциал прибора, тем в более узких пределах будет поддерживаться заданная температура.

Прибор работает следующим образом.

Сильфон термосистемы (1) воздействует на двуплечий рычаг, шарнирно закрепленный на оси (13). В режиме термостатирования рычаг, вращаясь под действием усилий термосистемы и пружины (2) через пружину (9) и рычаг (12) замыкает или размыкает контакты.

При повышении температуры контролируемой среды контакты замыкаются, при понижении температуры на величину зоны нечувствительности размыкаются.

При наиболее холодном режиме ручка повернута по часовой стрелке до упора, при среднем на 125°, а при наиболее теплом на 250° против часовой стрелки. Средний режим и режим «тепло» устанавливают по рискам на корпусе прибора. При повороте ручки против часовой стрелки до упора на 320° от наиболее холодного режима происходит принудительное размыкание контактов.

Прибор устанавливается в камере холодильника под испарителем, а капиллярная трубка, припаянная к сильфону своим концом, закрепляется на стенке испарителя. При этом длинна контакта ее со стенкой должна быть не менее 120мм.

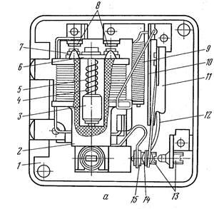
Пускозащитное реле РТК-Х - токовое, комбинированное показано на рис. 1.4, где обозначено: а - конструктивная схема; 1 - корпус реле; 2 -корпус катушки; 3 - сердечник; 4 - стержень сердечника; 5 - пружина сердечника; 6 планка; 7 - подвижные контакты пускового реле; 8 неподвижные контакты пускового реле; 9 - нагреватель; 10 - биметаллическая пластина; 11- упор; 12 - контактодержатель; 13- регулировочные винты; 14- подвижный контакт защитного реле; 15- неподвижный контакт защитного реле; б – электрическая схема; ДХМ- электродвигатель; БМ- биметаллическая пластина; R-1, R-2- нагреватели; КК- тепловое реле; КД- пусковое реле.

 

 

 

Рис. 1.4. Реле РТК-Х.

 

Пусковое реле электромагнитного (соленоидного) типа с двойным разрывом контактов. В корпусе (2) катушки находится свободно перемещающийся на стержне(4) сердечник (3). На верхнем конце стержня имеется планка (6) с контактами (7), поджимаемая пружиной (5).При включении электродвигателя сердечник поднимается вместе со стержнем, и с помощью планки (6), на которой расположены подвижные контакты (7) замыкает неподвижные контакты (8).После того, как ротор увеличит частоту вращения, вследствие чего уменьшится магнитное поле в катушке, сердечник (3) падает под действием собственного веса, увлекая за собой планку (6), и контакты (8) размыкаются.

Защитное реле иначе называют тепловым или токовым реле, поскольку в нем используется эффект, связанный с выделением тепла при прохождении тока по чувствительному элементу. Принцип действия этого элемента состоит в следующем. Биметаллическая пластина (10) одним концом соединена с проводом катушки пускового реле, а другим концом через упор (11) с контактодержателем (12). На противоположном конце держателя закреплен подвижный контакт (14) с неподвижным контактом (15). Возле биметаллической пластины расположена нихромовая спираль нагревателя (9), включенная последовательно в цепь пусковой обмотки. Одним концом спираль соединена с контактом (8) пускового реле, другим с биметаллической пластиной. При повышении силы тока в цепи рабочей обмотки электродвигателя биметаллическая пластина деформируется от тепла, выделяемого проходящим через неё током. При повышении силы тока в цепи пусковой обмотки биметаллическая пластина деформируется под действием тепла от нагревателя (9). При этом контакты (14) и (15) размыкаются. После остывания пластина принимает прежнее положение и контакты вновь замыкаются. Параметры защитного реле регулируются с помощью винтов (13).

Дополнительный нагреватель (R2), расположенный возле биметаллической пластины и включенный с ней последовательно в цепь рабочей обмотки при малом рабочем токе электродвигателя повышает чувствительность биметаллической пластины.

В заключении следует отметить, что пусковое реле является нормально разомкнутым как перед включением электродвигателя компрессора, так и при его стационарном режиме. Оно замыкается только при запуске электродвигателя, который при правильно отрегулированном реле происходит в течение 1-2секунд. При этом происходит следующее. На статоре электродвигателя расположены две обмотки – рабочая и пусковая. Переменный ток, протекая по рабочей обмотке, создает переменное магнитное поле, наводящее токи в короткозамкнутом роторе двигателя. Электромагнитные силы, возникшие в результате взаимодействия магнитных полей статора и ротора, взаимно уравновешиваются, вследствие чего ротор невращается. Для создания крутящего момента ротора с помощью вращающегося магнитного поля применяют дополнительную пусковую обмотку. При включении обеих обмоток образуется вращающееся магнитное поле, которое заставляет вращаться ротор. Когда частота вращения ротора достигает 70-80% скорости вращения магнитного поля, пусковая обмотка отключается, как описано выше.

Защитное реле, в отличии от пускового, является нормально замкнутым, как при работе электродвигателя, так и тогда, когда он выключен. Это реле размыкается в случаях бросков напряжения в сети, а также при токах короткого замыкания в электродвигателе: межвиткового или пробоя на корпус. Тем самым предотвращается возможность пожара по причине загорания изоляции проводов или аварийного перегрева компрессора.


Поделиться с друзьями:

mylektsii.su - Мои Лекции - 2015-2026 год. (0.907 сек.)Все материалы представленные на сайте исключительно с целью ознакомления читателями и не преследуют коммерческих целей или нарушение авторских прав Пожаловаться на материал