Студопедия

Главная страница Случайная страница

КАТЕГОРИИ:

АвтомобилиАстрономияБиологияГеографияДом и садДругие языкиДругоеИнформатикаИсторияКультураЛитератураЛогикаМатематикаМедицинаМеталлургияМеханикаОбразованиеОхрана трудаПедагогикаПолитикаПравоПсихологияРелигияРиторикаСоциологияСпортСтроительствоТехнологияТуризмФизикаФилософияФинансыХимияЧерчениеЭкологияЭкономикаЭлектроника






Механическая передача с реверс - редуктором.






Для изменения направления вращения гребного винта при нереверсивном дизеле между маховиком и упорным подшипником валопровода устанавливают реверсивные муфты или реверс-редуктор. Реверсивные муфты используют только на судах с главными дизелями М 401. Большинство нереверсивных дизелей комплектуют реверс - редукторами. При включении в схему передачи реверс - редуктора оси валопровода и коленчатого вала не совпадают и дизели в этом случае монтируют на более высоком фундаменте. С помощью реверс - редукторов можно отсоединить валопровод от коленчатого вала на момент пуска и разогрева дизеля, уменьшить угловую скорость и изменить направление вращения гребного вита относительно коленчатого вала дизеля. Передачи состоят из редукторной и реверсивной частей. В редукторную часть входят две шестеренные передачи для переднего и заднего ходов, а в реверсивную – дисковые или конусные фрикционные муфты.

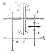
Рис.9. Схема реверс – редуктора с одинарными дисковыми муфтами.

Редукторная часть реверс - редуктора с одинарными дисковыми муфтами (рис. 9) состоит из вала 7 заднего хода с передаточными шестернями 8, 9, 10 ипустотелого вала 5 переднего хода с шестернями 6, 11. Реверсивная часть имеет диски переднего 4 и заднего 2 ходов, посаженные на шлицы соот­ветственно на валах 5 и 7, и нажимной диск 3. Фрикционная облицовка дисков выполнена из асбокаучука. Барабан 1 реверс - редуктора жестко соединен с ко­ленчатым валом дизеля. Диски и бара­бан образуют непостоянно замкнутую муфту, смонтированную в общем кор­пусе с редуктором. Когда рычаг управ­ления реверс - редуктора установлен в положение «Стоп», нажимной диск 3 занимает нейтральное положение между дисками переднего и заднего ходов и при вращении барабана 1 дизель работает на холостом ходу. При переключении рукоятки управления на передний ход нажимной диск 3 сме­щается вправо до сцепления с диском 4 переднего хода. Барабан 1, вращаясь вместе с валом дизеля, приводит в движение пустотелый вал 5 и через шестерни 6, 11 ведомый вал 12. Последний вращает гребной винт в направлении, обратном вращению ко­ленчатого вала дизеля, и с меньшей частотой, значение которой опреде­ляется передаточным отношением ше­стерен 6, 11. При работе реверс - редуктора на передний ход шестерни 10, 9, 8 и вал 7 с диском 2 вращаются вхолостую.

Если нажимной диск 3 ввести в сцепление с диском 2, то через вал 7, шестерни 8, 9, 10 и вал 12 гребной винт будет вращаться с меньшей ча­стотой в том же направлении, что и коленчатый вал дизеля, обеспечивая задний ход судна. Шестерни 11, 6, вал 5 переднего хода и соединенный с ним диск 4 будут вращаться вхолостую. Пе­реключение реверс-редуктора с перед­него хода на задний и наоборот производят при частоте вращения ко­ленчатого вала 600—800 мин-1 с выдержкой в нейтральном положении, необходимой для остановки ведомого вала.

Реверс - редукторы с одинарными дисковыми муфтами сцепления ис­пользуют в установках небольшой мощ­ности с дизелями 6ЧСП 15/18, 6ЧСП 12/14, ЧСП 10, 5/13.

Рис.10 Схема реверс – редуктора с конусной муфтой сцепления.

Реверс – редукторы, передающие большие вращающие моменты. Имеют или блочные фрикционные, или конусные муфты сцепления.

Конусная муфта сцепления (рис. 10 ) соединена с ведущим валом 1, на кото­ром свободно сидят шестерни переднего 2 и заднего 6 ходов. На холостом ходу ведущий вал 1 вращается вместе с муфтой сцепления 4, ведомый вал неподвижен. Для переднего хода судна муфта трения 3, закрепленная шлицами на ступице шестерни 2, входит в сцепле­ние с двусторонней конусной муфтой 4. Ведомый вал 9 через шестерни 2 и 10 вращается в направлении, обратном коленчатому валу. При вклю­чении муфты 5 ведущий 1 и ведомый 9 валы через зубчатые передачи 6, 7, 8 вращаются в одну и ту же сторону, обеспечивая задний ход судна. Шестерни заднего или соответственно переднего хода при включении пере­дачи переднего или заднего хода вращаются вхолостую.

У дизелей 6ЧСП 27, 5/36 с блочными фрикционными муфтами сцепления ве­дущий вал жестко связан с барабаном, на шлицах которого смонтировано не­сколько ведущих фрикционных дисков переднего и заднего ходов. Такие же диски (ведомые) насажены на шлицах ступиц шестерен переднего и заднего ходов. Механизм переключения у тако­го редуктора выполнен в виде двух гидроцилиндров, смонтированных в барабане. При подаче масла в тот или другой гидроцилиндр насосом, приводи­мым в действие от ведущего вала реверс - редуктора, диски трения входят в сцепление, и при этом начинают вращаться шестерни переднего или зад­него ходов.

В последнее время получают распространение планетарные реверс – редукторы.


Поделиться с друзьями:

mylektsii.su - Мои Лекции - 2015-2026 год. (1.582 сек.)Все материалы представленные на сайте исключительно с целью ознакомления читателями и не преследуют коммерческих целей или нарушение авторских прав Пожаловаться на материал