Студопедия

Главная страница Случайная страница

КАТЕГОРИИ:

АвтомобилиАстрономияБиологияГеографияДом и садДругие языкиДругоеИнформатикаИсторияКультураЛитератураЛогикаМатематикаМедицинаМеталлургияМеханикаОбразованиеОхрана трудаПедагогикаПолитикаПравоПсихологияРелигияРиторикаСоциологияСпортСтроительствоТехнологияТуризмФизикаФилософияФинансыХимияЧерчениеЭкологияЭкономикаЭлектроника






Химический состав образцов и значения эффективной вязкости






Номер образца Массовая доля стабилизатора, % Массовая доля жира, % Массовая доля СОМО, % Эффективная вязкость при неразрушенной структуре, Па с Эффективная вязкость при разрушенной структуре
  2, 0 1, 8 1, 7 1, 6 1, 5 1, 0 0, 5 0, 1 0, 1 2, 5 2, 5 5, 0 5, 0 5, 0 5, 0     85, 2 73, 9 58, 7 56, 5 56, 5 50, 0 36, 5 31, 3

Рис. 1.6 – Поверхность отклика и изолинии сечений для вязкости при неразрушенной структуре

 

Рис. 7 – Поверхность отклика и изолинии сечений для

вязкости при разрушенной структуре

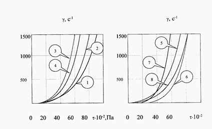
Графические изображения функциональных зависимостей между скоростью сдвига и напряжением сдвига, а также между вязкостью и скоростью сдвига в опытных образцах представлены на рис. 8, 9.

Рис. 8 – Влияние массовых долей модифицированного крахмала и структурообразующей композиции на кривые течения термизированного йогуртного продукта (м.д.крахмала и композиции соответственно: 1 - 1, 2, 0, 5; 2 - 1, 2, 0, 6; 3 - 1, 5, 0, 5; 4 - 1, 5, 0, 6; 5 - 1, 8, 0, 5; 6 -1, 8, 0, 6; 7 - 2, 0, 0, 5; 8 - 2, 0, 0, 6)

 

Характер течения кривых аналогичен характеру течения кривых в образцах со стабилизатором фирмы НАНN. Это дало основание воспользоваться уравнением Бингама для нахождения функциональной зависимости между скоростью сдвига и напряжением (табл. 21). Предельное напряжение сдвига у исследованных образцов лежит в интервале от 0, 05 Па до 0, 18 Па, индекс структурирования – от 1, 5 до 1, 7.

Полученные результаты позволили выбрать ряд рецептур структурообразующих добавок, применение которых направлено регулирует процесс структурообразования и позволяет получить продукт со стабильными качественными характеристиками.

Рис. 9 - Графики зависимости вязкости от скорости сдвига для йогуртных продуктов на основе разработанной структурообразующей добавки

 

Таблица 21


Поделиться с друзьями:

mylektsii.su - Мои Лекции - 2015-2026 год. (0.827 сек.)Все материалы представленные на сайте исключительно с целью ознакомления читателями и не преследуют коммерческих целей или нарушение авторских прав Пожаловаться на материал