Студопедия

Главная страница Случайная страница

КАТЕГОРИИ:

АвтомобилиАстрономияБиологияГеографияДом и садДругие языкиДругоеИнформатикаИсторияКультураЛитератураЛогикаМатематикаМедицинаМеталлургияМеханикаОбразованиеОхрана трудаПедагогикаПолитикаПравоПсихологияРелигияРиторикаСоциологияСпортСтроительствоТехнологияТуризмФизикаФилософияФинансыХимияЧерчениеЭкологияЭкономикаЭлектроника






Методические указания к выполнению курсового проекта.






 
 


Исследование и проектирование механизмов двигателя внутреннего сгорания

 

 

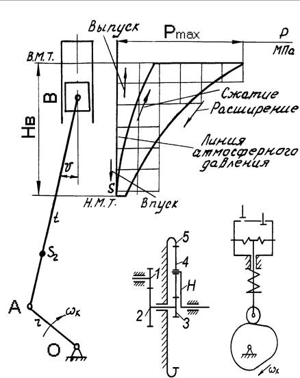
рис.1

Общая схема двигателя внутреннего сгорания

 

Таблица 2.1

Исходные данные

Наименование параметров   Обозна­чение   Размер­ность   Число  
1. Ход ползуна   HВ м 0.16
2. Отношение длинны шатуна к длине кривошипа   l= l AB/ l OA 4, 45
3. Диаметр цилиндра   Dц м   0.12
4. Относительное положение центра масс шатуна   l AS2 /l AB 0.3
5. Число оборотов кривошипа   n1 об/мин  
6. Масса ползуна   m3 кг 3.5тях  
7. Масса шатуна   m2 кг 2.9
8. Момент инерции шатуна   IS2 кгм2   0.06
9. Момент инерции кривошипа   I01 кгм2   0.06
10. Максимальное индикаторное давление в цилиндре   Pmax Н/м2 12*10 6
11. Координаты для силового анализа φ 1 град.    
1 2. Коэффициент неравномерности вращения d 0.04
13. Ход толкателя   h м 0, 008
14. Угол рабочего профиля кулачка   jр=jп +jо град.    
15. Допустимый угол давления   [aд] град.  
16. Закон изменения ускорения толкателя      

 

 


 

17. Отношение максимального ускорения к минимальному    
18. Число зубьев колёс рядовой ступени   Z1 Z2 — —  
19. Передаточное отношение планетарного редуктора U53H 5, 7
20. Число сателлитов К _    
21. Модуль зубчатых колёс   m мм  

 


Поделиться с друзьями:

mylektsii.su - Мои Лекции - 2015-2026 год. (0.835 сек.)Все материалы представленные на сайте исключительно с целью ознакомления читателями и не преследуют коммерческих целей или нарушение авторских прав Пожаловаться на материал