Студопедия

Главная страница Случайная страница

КАТЕГОРИИ:

АвтомобилиАстрономияБиологияГеографияДом и садДругие языкиДругоеИнформатикаИсторияКультураЛитератураЛогикаМатематикаМедицинаМеталлургияМеханикаОбразованиеОхрана трудаПедагогикаПолитикаПравоПсихологияРелигияРиторикаСоциологияСпортСтроительствоТехнологияТуризмФизикаФилософияФинансыХимияЧерчениеЭкологияЭкономикаЭлектроника






Расчет и разбивка виража






 

На кривых с радиусами менее 3000 м на дорогах I категории и 2000 м для дорог II-IV категорий предусматривают устройство виражей (односкатного поперечного профиля на кривых), обеспечивающего устойчивость движущегося по кривой автомобиля.

Расчет элементов виража и отгона виража для закруглений, состоящих из переходных кривых и круговой кривой, выполняется по приведенной ниже методике.

Расчет виража для симметричных и несимметричных биклотоид, а также близко расположенных односторонних и S-образных кривых следует выполнять согласно Методическим указаниям [6].

Уклон виража определяется по формуле

 

,

 

где V – расчетная скорость, км/ч;

μ – коэффициент центробежной силы, который принимается равным 0, 05 – 0, 1 для дорог I и II категорий и 0, 10 – 0, 15 – для дорог III и ниже категорий.

Уклон виража, вычисленный по этой формуле, должен быть не более, чем уклон виража, рекомендуемый [2] для данного радиуса.

В том случае, если уклон виража по расчету окажется меньше поперечного уклона проезжей части двухскатного профиля или отрицательным, вираж можно не устраивать. Однако в целях повышения безопасности движения, учитывая психологическое воздействие виража на водителя, целесообразно вираж устроить с уклоном, равным уклону двухскатного профиля или рекомендованным нормативными документами для данного радиуса.

Постепенный переход от двухскатного поперечного профиля к односкатному осуществляется на участке, называемом отгоном виража, совмещаемом с переходной кривой.

Определяют длину отгона виража – участка перехода от двухскатного поперечного профиля к односкатному по формулам:

при вращении вокруг оси дороги

где В – ширина проезжей части с учетом кромочных полос. Для двухполосной проезжей части

B=(в+а)2,

где в – ширина полосы движения проезжей части, м;

а – ширина кромочной полосы, м;

– дополнительный к продольному уклону дороги уклон внешней кромки проезжей части на участке отгона виража, который не должен превышать для дорог I и II категорий 5 ‰, для других категорий – 10 ‰ [2].

Если вычисленная длина отгона виража окажется меньше длины переходной кривой, то ее длина принимается равной длине переходной кривой.

Если по этой формуле длина виража получается больше длины переходной кривой, то должна быть увеличена длина последней.

В зависимости от того, уклон виража равен или больше уклона проезжей части двухскатного профиля, разбивка отгона виража производится различными способами.

Если уклон виража равен уклону двухскатного профиля, то производится вращение плоскости внешней полосы проезжей части и обочины вокруг оси дороги до придания внешней полосе проезжей части и обочине уклона внутренней полосы проезжей части и обочины.

Если уклон виража больше уклона двухскатного поперечного профиля, то производится вращение внешней полосы проезжей части вокруг оси дороги до придания внешней полосе уклона, равного уклону внутренней полосы, а затем вращение плоскости всей проезжей части производится вокруг оси дороги до придания проезжей части и обочинам требуемого уклона виража.

Определяют дополнительный уклон на участке отгона виража при вращении проезжей части относительно оси дороги по формуле:

где B – ширина проезжей части, включая кромочные полосы

где ширина проезжей части, м;

– ширина кромочной полосы, м;

– полная длина отгона виража.

 

Если в результате расчета < 0, 003, то для обеспечения стока поверхностной воды с проезжей части в продольном направлении принимают = 0, 003.

Тогда длина участка отгона l1, на протяжении которого уклон виража будет равен уклону двухскатного поперечного профиля, определяется по формуле

.

Поперечные уклоны внешней полосы проезжей части и внешней обочины в пределах отгона виража при уклоне виража равном уклону проезжей части определяют по формуле

где S – расстояние от начала отгона виража до рассматриваемого сечения (S=0, 10, 20… ).

Поперечные уклоны при определяют по двум формулам:

на участке длиной поперечные уклоны внешней полосы движения и внешней обочины

где S ≤ l1 (от 0 до l1).

Отрицательное значение уклона означает, что он направлен в сторону обратную уклону виража.

После этого на остальном протяжении отгона производится вращение плоскостей всей проезжей части вокруг оси до придания требуемого уклона.

При l1< S< lотг

 

.

 

Превышения отдельных точек вычисляют по уклонам и расстояниям по формуле

 

.

 

Кроме устройства виража на кривых радиусом 1000 м и менее, требуется устройство уширения проезжей части с внутренней стороны. Уширение допускается принимать без расчета, руководствуясь указаниями [2, 3]. Оставшаяся после уширения проезжей части ширина обочины должна быть не менее 1, 5 м для дорог II категории и 1, 0 м – для дорог остальных категорий. При недостаточной ширине обочины для соблюдения этих условий следует предусмотреть соответствующее уширение земляного полотна. Разбивку уширения производят на том же чертеже, что и разбивку отгона виража.

В пределах круговой кривой величина уширения остается одинаковой, в пределах переходной кривой устраивают отвод уширения, т. е. плавно увеличивают ширину полосы движения от принятой на прямолинейном участке до требуемой в пределах круговой кривой. Величина отвода уширения в любом сечении определяется по формуле

 

,

 

где – полная величина уширения для двухполосной проезжей части, м;

S – расстояние от начала до рассматриваемого сечения, м.

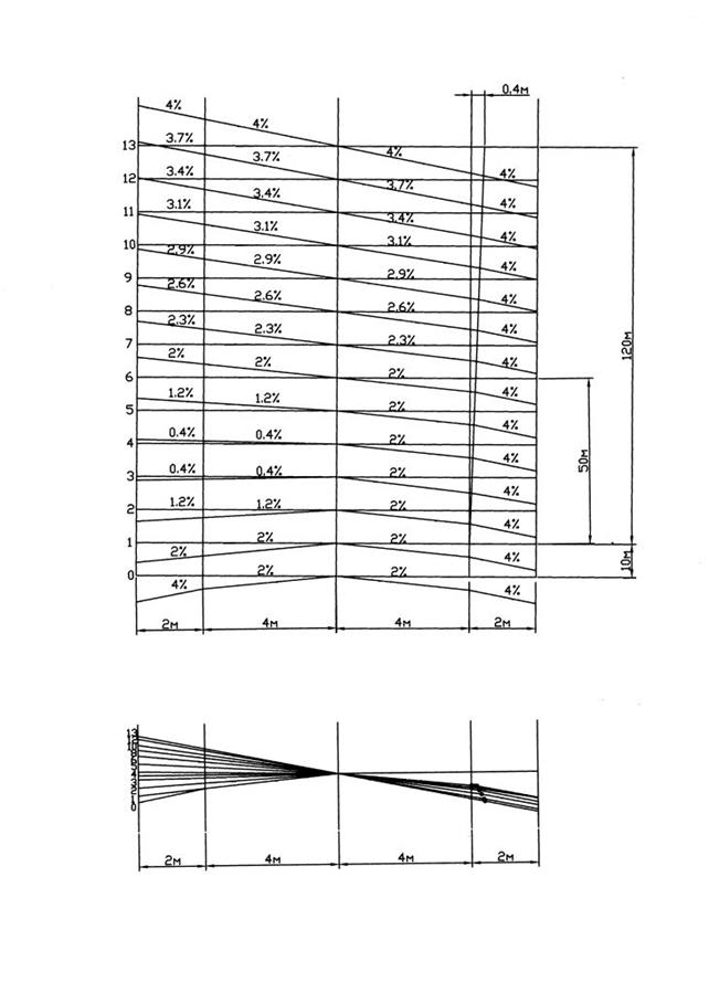
В табл. 11 приведен пример проектирования отгона виража.

Выполнение разбивки виража следует производить в такой последовательности (рис. 3):

1. Вычерчивают план дорожного полотна на участке, начиная за 10 м до начала переходной кривой (отгона виража) и кончая у начала круговой кривой. Масштаб чертежа следует принимать – продольный 1: 1000 или 1: 2000 и поперечный соответственно 1: 100 или 1: 200.

2. За 10 м до начала отгона (сечение 0) на плане вычерчивают двухскатный поперечный профиль дороги с указанием поперечных уклонов полос проезжей части и обочин. Кромочные полосы имеют такие же поперечные уклоны как и прилегающие полосы проезжей части. На этом поперечном профиле принимают за нуль отметку оси проезжей части и высчитывают по отношению к ней отметки других точек.

3. В начале отгона (сечение 1) вычерчивают на плане поперечный профиль дороги с уклоном внешней обочины таким же, как внешней полосы проезжей части. Уклон внутренней обочины в пределах отгона виража сохраняется такой же, как на двухскатном профиле, если . В противном случае уклон внутренней обочины принимают равным уклону проезжей части.

4. При уклоне виража, равном уклону двухскатного профиля, длина отгона делится на несколько участков, кратных уклонам или расстояниям (чем короче участки, тем точнее разбивка) и на концах этих участков высчитывают отметки всех характерных точек земляного полотна по отношению к точке, принятой за нуль (табл. 11). Отметки оси, внутренней кромки проезжей части и внутренней бровки земляного полотна остаются постоянными, так как вращение происходит вокруг оси только внешней полосы проезжей части и внешней обочины.

5. При уклоне виража более уклона двухскатного профиля вначале находят длину участка на отгоне, на протяжении которого уклон внешней полосы проезжей части и внешней обочины приводят к уклону внутренней полосы проезжей части. Чтобы определить длину этого участка, следует определить фактический дополнительный уклон внешней кромки проезжей части, который получается в результате расположения отгона виража на переходной кривой.

 

 

Рис. 3


Таблица 11

№ сечения Расстояние, м Пикет Ширина, м Уширение проезжей части, м Поперечный уклон, ‰ Превышения над осью h, см
внешняя обочина внешняя полоса проезжей части внутренняя полоса проезжей части внутренняя обочина внешняя обочина внешняя полоса проезжей части внутренняя полоса проезжей части внутренняя обочина внешняя бровка внешняя кромка ось внутренняя кромка внутренняя бровка
                                 
  -10 24+40, 74 2, 00 4, 00 4, 00 2, 00 0, 00 -40 -20 -20 -40 -16, 00 -8, 00 0, 00 -8, 0 -16, 00
    24+50, 74 2, 00 4, 00 4, 00 2, 00 0, 00 -20 -20 -20 -40 -12, 00 -8, 00 0, 00 -8, 0 -16, 00
    24+60, 74 2, 00 4, 00 4, 03 1, 97 0, 03 -12 -12 -20 -40 -7, 20 -4, 80 0, 00 -8, 06 -15, 94
    24+70, 74 2, 00 4, 00 4, 07 1, 93 0, 07 -4 -4 -20 -40 -2, 40 -1, 60 0, 00 -8, 14 -15, 86
    24+80, 74 2, 00 4, 00 4, 10 1, 90 0, 10     -20 -40 2, 40 1, 60 0, 00 -8, 20 -15, 80
    24+90, 74 2, 00 4, 00 4, 13 1, 87 0, 13     -20 -40 7, 20 4, 80 0, 00 -8, 26 -15, 74
    25+00, 74 2, 00 4, 00 4, 17 1, 83 0, 17     -20 -40 12, 00 8, 00 0, 00 -8, 34 -15, 66
    25+10, 74 2, 00 4, 00 4, 20 1, 80 0, 20     -23 -40 13, 80 9, 20 0, 00 -9, 66 -16, 86
    25+20, 74 2, 00 4, 00 4, 23 1, 77 0, 23     -26 -40 15, 60 10, 40 0, 00 -11, 00 -18, 08
    25+30, 74 2, 00 4, 00 4, 27 1, 73 0, 27     -29 -40 17, 40 11, 60 0, 00 -12, 38 -19, 30
    25+40, 74 2, 00 4, 00 4, 30 1, 70 0, 30     -31 -40 18, 60 12, 40 0, 00 -13, 33 -20, 13
    25+50, 74 2, 00 4, 00 4, 33 1, 67 0, 33     -34 -40 20, 40 13, 60 0, 00 -14, 72 -21, 40
    25+60, 74 2, 00 4, 00 4, 37 1, 63 0, 37     -37 -40 22, 20 14, 80 0, 00 -16, 17 -22, 69
    25+70, 74 2, 00 4, 00 4, 40 1, 60 0, 40     -40 -40 24, 00 16, 00 0, 00 -17, 60 -24, 00


Поделиться с друзьями:

mylektsii.su - Мои Лекции - 2015-2026 год. (0.722 сек.)Все материалы представленные на сайте исключительно с целью ознакомления читателями и не преследуют коммерческих целей или нарушение авторских прав Пожаловаться на материал