Студопедия

Главная страница Случайная страница

КАТЕГОРИИ:

АвтомобилиАстрономияБиологияГеографияДом и садДругие языкиДругоеИнформатикаИсторияКультураЛитератураЛогикаМатематикаМедицинаМеталлургияМеханикаОбразованиеОхрана трудаПедагогикаПолитикаПравоПсихологияРелигияРиторикаСоциологияСпортСтроительствоТехнологияТуризмФизикаФилософияФинансыХимияЧерчениеЭкологияЭкономикаЭлектроника






Устройство плоскошлифовального станка






Шлифование плоских поверхностей заготовок производится периферией круга или его торцом. Существуют плоскошлифовальные станки с прямоугольным и круглым столами. Расположение шпинделя шлифовального круга может быть горизонтальным или вертикальным, В единичном, мелкосерийном и среднесерийном производстве наиболее часто используют плоскошлифовальные станки с прямоугольным столом и горизонтальным шпинделем. В массовом производстве наибольшее распространение пожучим станки с круглым столом, а также двусторонние торцешлифовальные станки с горизонтальным и вертикальным расположением шпинделей.

Рассмотрим плоскошлифовальный станок с прямоугольным столом общего назначения. На направляющих станины 1 станка (рис. 1, а) установлен стол 5, совершающий возвратно-поступательное перемещение от гидроцилиндра, расположенного в станине. Закрепление заготовок обычно производится с помощью магнитной плиты 12, закрепленной на столе. На станине смонтирована стойка 9, несущая шлифовальную бабку 10 с горизонтальным шпинделем шлифовального круга 11, закрытого кожухом 6. От механизмов подач, находящихся в станине, шлифовальной бабке сообщаются поперечное движение

подачи (после каждого двойного хода стола) и вертикальное движение подачи (после каждого рабочего хода по снятию припуска со всей обработанной поверхности заготовки). Шпиндель вращается от электродвигателя, встроенного в шлифовальную бабку. Работа механизмов подач осуществляется от гидроцилиндров, в которые поступает масло от гидростанции 13, управляемой от панели 2. Установочные ручные перемещения стола (в продольном направлении) осуществляются маховиком 3, а шлифовальной бабки (в вертикальном направлении) — маховиком 8. Включение и выключение станка производят с пульта управления 4. Во время работы магнитную плиту с обрабатываемой заготовкой за­крывают кожухом 6. СОЖ поступает из бака с помощью насоса 14.

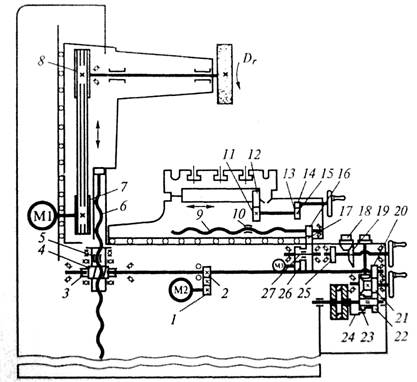
На рис. 2 приведена кинематическая схема универсального плоскошлифовального станка. Главное движение — вращение; шлифовального круга от электродвигателя Ml через шкивы 7 и 8 и ременную передачу. Частота вращения шпинделя — постоянная. Опускание или подъем шлифовальной головки происходит с по-! мощью винтового механизма с винтом 6 и гайкой 5, с которой I жестко соединено червячное колесо 3. Вращение червяка 4 осуще­ствляется: при ускоренном перемещении — от электродвигателя М2. через цилиндрическую зубчатую передачу на зубчатые колеса 1 и 2; при автоматической вертикальной подаче — от лопастного насоса, работающего в момент поперечного или продольного реверса стола, через собачку 24, храповик 23, скрепленный с колесом 22, и далее через колеса 20 и 21 на червяк 4. Предел вертикальной подачи SДВХ= 0, 002...0, 05 мм на двойной ход стола. Нижний предел 0, 002 мм соответствует повороту храпового колеса 23 на один зуб. Ручное продольное перемещение стола осуществляется от маховика через зубчатые колеса 14, 15, 13 и 11 и рейку 12. За один оборот маховика стол перемещается на 18, 1 мм.

В нормальном состоянии механизм ручного продольного пере­мещения стола разомкнут путем вывода колеса 11 из зацепления и включения микропереключателя, допускающего включение механического перемещения стола. Винт 9 с гайкой 10, закрепленные в крестовом суппорте, осуществляют поперечную подачу стола: в автоматическом режиме — от электродвигателя МЗ через зубчатые колеса 26, 27, 16и 17, в ручном режиме — от маховика через колеса 17, 16. Тонкую поперечную подачу осуществляют нажатием кнопки, через конические колеса 18 и 19, муфту 25 и зубчатые колеса 17 и 16.

Для плоскошлифовальных станков с прямоугольным столом, работающих периферией круга, движение подачи — возвратно- поступательное движение заготовки (продольное движение подачи); периодическое поперечное перемещение шлифовального круга (поперечное движение подачи) за один ход стола с заготовкой; периодическое вертикальное перемещение шлифовального круга

 

Рисунок 1 Общий вид шлифовальных станков основных типов:

а — плоскошлифовальный станок с прямоугольным столом и горизонтальным шпинделем: 1 — станина; 2 — панель управления; 3 — маховик ручного переме­щения стола; 4 — пульт управления; 5 — стол; 6, 7 — кожухи; 8 — маховик; 9 — стойка; 10 — шлифовальная бабка; 11 — шлифовальный круг; 12 магнитная плита; 13 — гидростанция; 14 — насос подачи СОЖ;

б — круглошлифовальные 1 — электрошкаф; 2— передняя бабка; 3— рукоятка подачи СОЖ; -1 — люнет; 5 — механизм автоматической правки круга; б — маховик поперечного движения подачи; 7— шлифовальная бабка; 8 — механизм поперечных подач; 9 — пульт уп­равления; 10— гидростанция; 11 — рукоятка ручного зажима пиноли бабки; 12 — задняя бабка; 13 — рукоятка подвода-отвода шлифовальной бабки; 14 — панель гидроуправления; 15— педаль гидравлического отвода пиноли задней бабки; /б — ось; 77— маховик; 18 — станина; 19 — верхний стол; 20 — нижний стол;

в — внутришлифовальный: 1 — станина; 2 — кожух; 3 — щитки; 4 — механизм попе­речной подачи изделия; 5 — подвижная плита; 6 — бабка изделия; 7— маховик ручной поперечной подачи изделия; 8— заготовка; 9— круг для торцового шли­фования; 10 — рукоятка перемещения круга для торцового шлифования; 11 — шлифовальный круг для внутренней обработки; 12 — корпус устройства для тор­цового шлифования; 13 — рукоятка поперечного перемещения шлифовального суппорта; 14 — суппорт шлифовального круга; 15 — пульт управления станком; 16 — стойка; 17 — стол станка; 18 — кожух стола; 19 — рукоятка продольного перемещения стола; 20 — упоры продольного перемещения стола

Рисунок 2 Кинематическая схема плоскошлифовального станка с горизон­тальным шпинделем:

1, 2 — зубчатые колеса; 3 — червячное колесо; 4 — червяк; 5, 10— гайки; 6, 9 — винты; 7, 8 - шкивы; 11, 13, 14, 15, 16, 17, 20, 21, 22, 26 и 27 - зубчатые колеса; 12 — рейка; 18, 19 — конические колеса; 23 — храповик; 24 — собачка; 25— муфта; Ml, М2, МЗ - электродвигатели;

Dr= направление движения резания (вертикальное движение подачи) на глубину шлифования. В том случае когда высота шлифовального круга больше ширины заготовки, поперечное движение подачи отсутствует.

Более подробно кинематика шлифовальных станков будет пред­ставлена на примере центровых круглошлифовальных станков.


Поделиться с друзьями:

mylektsii.su - Мои Лекции - 2015-2026 год. (0.805 сек.)Все материалы представленные на сайте исключительно с целью ознакомления читателями и не преследуют коммерческих целей или нарушение авторских прав Пожаловаться на материал